Einfachst aufzubauender 1-Stunden-Empfänger mit einer Subminiatur-Röhre

Diese Schaltung bekam ich vom Volker Jeschkeit, der eine größere Seite mit Verstärkerschaltungen im Bereich "Leserbriefe - Leserbeiträge" hat; es ist ein sehr alte Schaltung aus Italien.
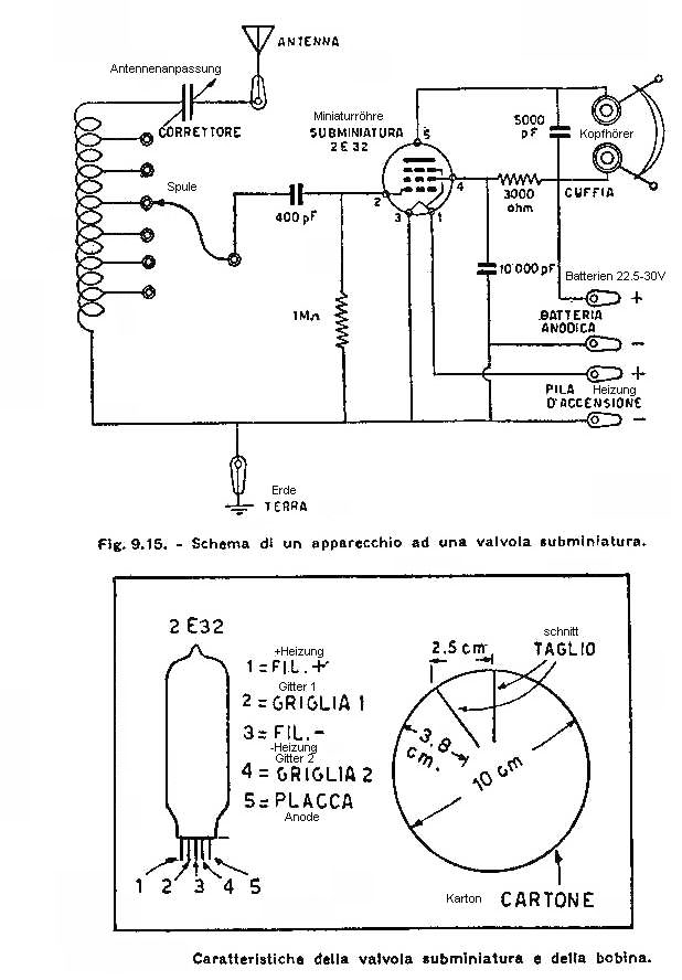
Aufgebaut ist sie mit nur einer Röhre, der amerikanischen Subminiaturröhre 2 E 32, eine Pentode. Es gibt aber genügend deutsche Subminiatur-Pentoden mit ähnlichen Vergleichswerten, die man hierfür als Ersatz verwenden könnte.
- Doch, zunächst einmal, die Schaltung dieses "1-Stunden-Empfängers" :


Interessant ist die Schaltung durch ihre Einfachheit - sie ist für den Empfang des Ortssenders ausgelegt, deshalb wurde auch keinerlei Wert auf Trennschärfe gelegt. Das Interessante an dieser Empfangsschaltung ist der Aufbau, der, ähnlich einer Platine, auf einem Stück Pappe erfolgt. Die Schaltung an sich ist außerordentlich einfach gehalten, die Empfangsspule wird je nach dem Wellenbereich, in dem der Ortssender ausgestrahlt wird, an verschiedenen Punkten angezapft. Die Anpassung erfolgt durch einen C-Trimmer.
Auf dem nächsten Bild erkennt man noch weitere Einzelheiten dieses kleinen Empfängers, der tatsächlich großen Spaß macht, hat man ihn erst einmal zusammengebaut - welches aber nur etwa eine Stunde "Arbeitszeit" erfordert, daher auch der Name : "1-Stunden-Empfänger".


Auf diesem Bild erkent man, daß wie bei einer Platine an einer Seite mit Lötfahnen, welche mit der "Platine" vernietet wurden, die externen Anschlüsse hergestellt sind, außerdem erkennt man die Lage der Bauteile.
Die Spule, die, wie man auf dem oberen Bild erkennen kann, auch aus Pappe mit einem Durchmesser von 10 cm ausgeschnitten wird, ist mit 8 Einschnitten versehen, je 2,5 cm Randabstand, vom Außenrand gemessen, und je 3,8 cm tief Richtung Mitte eingeschnitten.
Gewickelt werden kann sie mit HF-Litze - aber in hinsicht daß insgesamt sechs Anzapfungen angebracht werden müssen, wäre HF-Litze hier nicht sehr sinnvoll. Sie sollte mit Kupferlackdraht bewickelt werden. Im Interesse der "Originalität" sollte aber ein mit Naturseide oder Baumwolle umsponnener 0,3 mm dicker Draht, wie er zur Herstellung von Korbspulen benutzt wird, Verwendung finden.
Es werden insgesamt 92 Windungen aufgebracht, wobei man, zählt man die Windungen einer Spulenseite, diese mal zwei multiplizieren muß. - Zum besseren Verständnis : zählt man an einer Seite z.b. 40 Windungen, hat die Spule tatsächlich insgesamt 80 Windungen. - Es müssen also auf einer Seite 46 Windungen gezählt werden.
Gewickelt wird immer - wie auf meiner Seite "Korbspulen - Selbstgewickelt" zu sehen, über die eine Lasche, dann unter die andere Lasche, wieder hoch und über doe nächste Lasche, usw., bis alle Windungen aufgebracht sind.
In etwa gleichem Abstand werden dann auf einer Seite, der späteren Spulenunterseite, auf sechs Segmenten die Anzapfungen aufgelötet und alle zu einer Seite herausgeführt. Die Spule wird dann mittels einer Schraube in ihrer Mitte mit der Papp-"Platine" verschraubt und damit fixiert.
Als Kopfhörer kann ein hochohmiger Kondensator-Ohrlautsprecher, der "Knopf im Ohr", verwendet werden, oder jeder andere hochohmige Kopfhörer.
Die Spannungsversorgung der Röhre ist auch sehr unproblematisch - für die Heizung werden 1,25 Volt benötigt, die man leicht von einer Nickel-Cadmium-Accuzelle erhalten kann.
Die Anodenspannung beträgt für die hier verwendete Röhre 22,5 - 30 Volt. Diese Spannung kann man aus den immer noch erhältlichen Schwerhörigengeräte-Batterien erhalten. - Ansonsten sollte man sich noch einmal meine Seite "Anodenbatterie", hier auf der "Bastelschule", zu Gemüte führen. - Insgesamt fünf dieser Batterien, die in den "leergeschossenen" Polaroid-Sofortbildkamera-Fotopacks übrigbleiben, genügen. Und der große Vorteil : sie sind kostenlos bei den Fotohändlern erhältlich, diese sind froh, den Sondermüll nicht selbst entsorgen zu müssen, was ihnen Kosten verursacht. - Und für den Fotohändler ist eine solche Batterie Sondermüll, - für uns sieht’s da ja ganz anders aus..

Ansonsten kann ich jetzt, zum Abschluß, Euch nur noch VIEL SPASS beim Nachbau - und beim Musikhören - wünschen !

Zurück zur Hauptseite