Dreiröhren-Audion für ca. 300 - 1600 m Wellenlänge

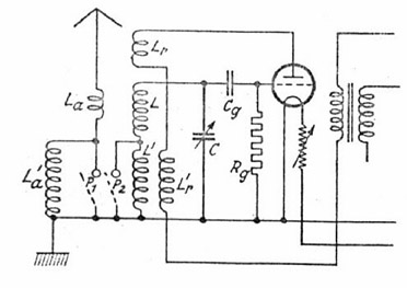
Die Schaltung des Audions ist im ersten Bild wiedergegeben. Dieses Audion weicht von den herkömmlichen - die ich bisher unter "Nachbau-Projekte" und unter "Baupläne für Batterie-Empfänger" vorstellte - insofern ab, daß sich im Anodenkreis ein veränderlicher hochohmiger Widerstand, ein Potentiometer (R) mit 500 KOhm befindet, mit welchem die Rückkopplung einreguliert wird. Dieser Widerstand ist gleichzeitig mit der Anodenbatterie durch einen Kondensator von 2 uF überbrückt. Hierdurch wird verhindert daß eine Betätigung des Poties sich im Kopfhörer oder im Lautsprecher bemerkbar macht.
Normalerweise wird die Kopplung (Koppelspule Lr) durch einen Schwenkspulenhalter verändert. Wenn jedoch mit einem umschaltbaren Wellenbereich gearbeitet werden soll, ist es sehr umständlich, bewegliche Kopplungen anzubringen. Man kommt viel einfacher zum Ziel, wenn die Kopplung fest eingestellt und dann die Rückkopplung auf andere Weise einreguliert wird.
Man hat zwei Wege, die hier zum Ziel führen, - die Rückkopplungsregulierung durch einen veränderlichen Kondensator oder durch einen veränderlichen hochohmigen Widerstand.
In dieser Schaltung entscheiden wir uns für einen veränderlichen Widerstand, also für ein Potentiometer - weil er billiger zu besorgen und einfacher in der Handhabung ist.
Bei dem hier gewählten Verfahren setzt die Rückkopplung sehr weich ein, nicht so hart und "knallig", wie es mit einem Drehkondensator oder einem Spulenkoppler wäre.

Durch den Potie verändern wir in Wirklichkeit die Anodenspannung und damit den Arbeitspunkt der Audionröhre. - Bei größerer Anodenspannung schwingt sie leichter als bei geringerer.
Die Rückkopplung selbst erfolgt, natürlich, über die Rückkopplungsspule Lr. Diese muß die geeignete Windungszahl haben. Wie immer darf die Rückkopplung nicht zu fest und nicht zu lose sein. Man muß auf jeden Fall mit dem Potie in der Lage sein - sowohl bei kurzen (Mittelwelle) als auch bei langen Wellen - die Schwinggrenze zu erreichen.
Die richtige Größe muß ausprobiert werden. Die Rückkopplung ist dabei abhängig von der Windungszahl, dem Spulenabstand und der Lage der Spulen zueinander.
Mit anderen Windungszahlen als den hier im folgenden angegebenen kann man auch zum Ziel gelangen, wenn man die Anordnung etwas ändert. Der Bastler, der hier aber zum ersten mal ein solches Gerät nachbaut sollte sich aber genau nach den hier angegebenen Windungszahlen richten, um Schwierigkeiten und Probleme zu vermeiden.

Nun aber zu der Schaltung - es ist eine Prinzip-Schaltung, hierbei ist die Umschaltung für die Wellenbereiche noch nicht eingezeichnet, dieses wird in der noch nachfolgenden Schaltskizze dargestellt.



Als nächstes kommen wir zum Bau des Spulensatzes.

Mit diesem Empfänger möchte ich ein Umschaltprinzip vorstellen, welches in der Praxis - also in den Industriell damals gefertigten, sehr häufig angewendet wurde und auch sehr zum Verständnis beiträgt.

Das Prinzip besteht ganz einfach darin, daß beim Empfang der kürzeren Wellen (Mittelwelle) die Langwellenspulen kurzgeschlossen werden, während beim Empfang der langen Wellen die Langwellen- und die Mittelwellenspulen hintereinander geschaltet werden.
Man weiß zwar, daß kurzgeschlossene Spulen stets sehr große Verluste mur Folge haben, als starke Dämpfung wirken, so daß man sie nach Möglichkeit vermeidet. Die kurzgeschlossenen Spulen entziehen den Stromkreisen, mit denen sie gekoppelt sind, Energie. Man könnte sie unschädlich machen, in dem man diese nicht benötigten Spulenkreise aus der Kopplung beseitigt. - Dieses ist in dieser Schaltung gar nicht so schwer, wie man sehen wird.
Dazu gehört allerdings, daß man den Langwellenspulen eine möglichst zusammengedrängte, komprimierte Form gibt - was auch unbedenklich ist, weil die Spulenkapazität bei den längeren Wellen sowieso weniger gefährlich ist.
Bei der Mittelwellenspule wird hier aber noch die Zylinderspulenform beibehalten - wir wollen ja schließlich ein Gerät (nach)bauen, welches zeitgemäß sein soll, also in den Bereich um 1928 - 30, "mit allem drum und dran".
Wenn man sich also nicht vor Mehrlagenspulen bei den langen Wellen scheut, dann könnte man sogar einen Grundsatz anwenden, der gestattet Spulen mit möglichst geringem Ohmschen Widerstand zu wickeln. - Die Aufgabe würde dann lauten, eine gegebene Selbstinduktion mit möglichst geringer Drahtlänge zu erreichen. Man hatte damals herausgefunden, daß Spulen maximaler Selbstinduktion quadratischen Wicklungs-Querschnitt haben (siehe die Spulen im Volksempfänger oder im DKE - mit möglichst wenig Kupfer - welches sehr rar war - möglichst hoehe Induktionen zu erreichen).
Bei solchen Spulen ist das Verhältnis von Spulendurchmesser und Durchmesser der Wicklungslage vorgeschrieben. Beide sollen etwa im Verhälnis 11 zu 3 stehen. - Es würde nun natürlich viel zu umständlich sein, die für die hier vorgestellte Schaltung benötigten Spulen danach auszurechnen. Für diese Schaltung soll es genügen, wenn diese günstigen Bedingungen wenigsten ungefähr eingehalten werden.

Die Langwellenspulen werden also folgendermaßen gewickelt:



Auf einen Spulenkörper von 4cm Durchmesser bringen wir, wie im Bild 2a und 2b zu sehen, 2 starke Pappringe auf, einer davon wird festgeklebt, der zweite mit Klebeband gut fixiert.
Die Schwingkreisspule L' - im nächsten Schaltbild zu sehen - wickelt man in den so entstandenen Hohlraum - und zwar in 13 Lagen von je 13 Windungen. Es wird hierfür ein 0,3 mm dicker Kupfer-Lackdraht verwendet. Nach dem Raum, den die 13 Windungen beanspruchen, richtet sich der Abstand der Pappringe. - Also erst die ersten 13 Windungen probeweise aufbringen, dann den zweiten Pappring dagegenschieben und sorgfältig befestigen. dann werdenr die 13 Windungen wieder abgewickelt.
Bevor nun mit dem eigentlichen Wickeln begonnen wird, werden auf dem Umfang des Spulenkörpers vier Fäden gleichmäßig verteilt, wie man es auf den Bildern erkennen kann. Als Faden kann ein dünner, fester Zwirnfaden verwendet werden. Über diese vier Fäden werden nun die 13 Lagen gewickelt.
Wenn die Spule fertig ist, bindet (knotet) man die Haltefäden zusammen und entfernt dann den zweiten Pappring, so kann man dann die Spule leicht abzeihen. Diese trägt sich dann selbst und hat das Aussehen der im Bild fertig dargestellten Spule.
Tip: Die fertige Spule an einem noch nicht verkürzten Faden hochhalten, in Zaponlack ein paar Minuten tauchen, dann zum Trocknen für mindestens 24 Stunden weghängen. Danach hält sie "für immer" ihre Form bei.
Ganz ähnlich werden die Antenspule L'a und die Rückkopplungsspule L'r angefertigt.
Die Antennenspule L'a bekommt 7 Lagen zu 7 Windungen, die Rückkopplungsspule L'r erhält 9 Lagen zu 9 Windungen.
Diese drei Spulen werden nun übereinander gebunden und seitlich, an einer Halterung, an den Mittelwellen- Spulenkörper befestigt.
- Bevor ich hier aber näher auf die Befestigung eingehe, muß erst der Spulenkörper für den Mittelwellenbereich erklärt und aufgezeigt werden.
Der Mittelwellenspulensatz wird auf einen Spulenkörper von 8cm Durchmesser und 10 cm Länge gewickelt.
Damals wurde meist ein Spulenkörper aus Pertinax benutzt, da es heute aber kaum noch möglich ist an Pertinaxrohre zu kommen, kann man auch entsprechend große Rohre aus Isolier-Material wie Kunststoff, z.b. Hart-PVC, genutzt werden - sprüht man dieses Kunststoffrohr dann noch mit dunkelbraunem Nitro-Lack ein fällt es gar nicht auf...

Die Antennenspule wird am Rohr oben angebracht und hat 25 Windungen. Die Schwingkreisspule hat 50 Windungen und befindet sich in der Mitte. Die Rückkopplungsspule wird mit 45 Windungen unterhalb aufgebracht. Zwischen den einzelnen Spulen liegt jeweils ein Zwischenraum von 1 cm.
Die Antennen- und die Schwingkreisspule werden aus 0,5 mm dickem Kupferlackdraht gewickelt, die Rückkopplungsspule kann aus dünnerem Draht gewickelt werden, etwa 0,25 - 0,3mm stark.

Im folgenden Bild ist der fertig gewickelte Spulenkörper für Mittelwelle zu sehen.



Im nachfolgenden Bild erkennt man die komplette Anordnung von Mittelwellenspulenkörper mit den drei seitlich angebrachten Spulen für Langewelle.



Man befestigt oben und unten am Mittelwellen-Spulenkörper je eine Säule von 4 cm Länge und 1 cm Durchmesser aus Isoliermaterial, die durch eine Brücke, ebenfalls aus Isoliermaterial bestehend, miteinander verbunden ist. Die "Säule" sollte dort, wo sie auf dem Spulenkörper aufliegt, der runden Form angepasst werden. - Anschließend mit einem Tropfen Sekundenkleber fixieren, danach mit UHU-Endfest-300 endgültig und haltbar fest verkleben.
Die Brücke ist nun der eigentliche Träger der Langwellenspulen, die darauf festgebunden werden.
Die Anschlüsse verbindet man mit den entsprechenden Klemmen auf dem Mittelwellenspulenkörper, wie im Bild angedeutet ist. Zweckmäßigerweise - es soll ja so aussehen wie in der "guten alten Zeit" - nimmt man hierzu dicken Kupferdraht, etwa 1,5 - 2mm dick, ein Ende wird zu einer kleinen Öse zusammengebogen, von innen durch ein vorher in den Spulenkörper gebohrtes Loch gesteckt. Von außen, dicht am Spulenkörper, wird ebenfalls eine Öse gebogen. - Diese äußere Öse ist dann einer der Anschlußpunkte für die Zuleitungen der Spule(n).

Als nächstes wird die Umschaltung beschrieben.
Die Umschaltung soll nun so erfolgen, daß für den Empfang der langen Wellen die Langwellenspulen mit den entsprechenden Mittelwellenspulen in Serie (in Reihe) geschaltet sind. - Für den Mittelwellenempfang werden die Langwellenspulen kurzgeschlossen.
Eine Umschaltung kann man bei der Rückkopplungsspule sparen, sie braucht nicht kurzgeschlossen werden. Dieses kann man sich hier auch leisten, weil wenn L' und L'a kurzgeschlossen sind, die Spule L'r sowieso wirkungslos bleibt. - Die Rückkopplungsspule L'r ist auch als Drossel für den Mittelwellenempfang nicht etwa schädlich, denn die Drosselwirkung wird durch die Kopplung mit den kurzgeschlossenen Spulen L'a und L' stark herabgesetzt.

Im folgenden Bild ist die Umschaltung schematisch dargestellt. Es ist ein angepaßtes Schaltbild, worin nun die Spulen für den Mittel- und Langwellenbereich sowie die Umschaltung auf den jeweiligen Bereich eingezeichnet sind.



Um die Umschaltung nun praktisch durchzuführen, muß also ein Schalter eingebaut werden, der bei der Stellung "Langwelle" zwei Kontakte schließt, bei der Stellung "Mittelwelle" aber geöffnet sein muß.
Diesen Umschalter kann man sich auf Radio-Flohmärkten leicht besorgen, man will ja keine neuen, unpassenden - weil moderne - Schalter einsetzen. Man kann ihn aber auch selber herstellen.
Im folgenden Bild ist eine schematische Darstellung gezeichnet, wie ein solcher Schalter aussehen kann.



Der Schalter besteht aus 4 Federn, die sich paarweise gegenüber stehen sowie aus einer drehbaren Walze aus Isoliermaterial. Diese Walze ist an den Stellen, wo sie die Federn berührt, durchbohrt und mit Kupfer- oder Messingdrahtstücken versehen, welche bei entsprechender Stellung des Schalters die Federn berühren, während bei senkrechter Stellung des Schalters die Kontakte unterbrochen bleiben.
Die Konstruktion eines solchen Schalters ist auf dem Bild hinreichend erklärt und der Nachbau dürfte eigentlich keinem mehr Probleme bereiten.
Die Kontakte sind auf den Bildern - auf der senkrecht von oben gezeichnetetn Darstellung - mit P1 und P2 bezeichnet. P1 bezieht sich auf die Antennen-, P2 auf die Gitterspule.

Kommen wir nun zum Zusammenbau.

Da der Empänger ein Batterie-Empfänger sein soll, werden zumindest zwei Heizungsregler benötigt, einer wird für die erste Röhre, die Audion-Röhre, benutzt - diese muß immer getrennt geregelt werden, während für die beiden weiteren Röhren ein Heizungsregler ausreicht - in der Schaltung oben wurde aber für jede Röhre ein Heizungsregler eingezeichnet.

Auf einer Grundplatte aus Isoliermaterial von etwa 20 x 40 cm werden die drei Röhren, die beiden Übertrager- Transformatoren und der Spulenkörper angebracht
Die Grundplatte wird nicht direkt unten an die Frontplatte angebracht, sie wird durch zwei Leisten etwas erhöht, wie im folgenden Bild dargestellt.



Au diese Weise gewinnt man unter der Grundplatte den benötigten Raum in welcher die Verdrahtung durchgeführt wird. Diese geht aus dem folgenden Montageschaltbild hervor.



Man schneidet sich, nachdem alle Einzelteile montiert wurden und man dadurch die Abstände der Bauteile ausmessen kann, die Drahtlängen zurecht und verlegen und verlöten sie entsprechend.

Hinweis - Der Einfachheit halber sind die beiden Heizregler HR1 und HR2 in der Montageskizze hinten, an der stark verkleinert gezeichneten Rückwand eingesetzt worden. Vorne an der Frontplatte erkennt man die Lage der beiden Heizregler, je links und rechts neben dem Abstimm-Drehkondensator C. Die Leitungen müssen entsprechend gelegt werden!

Die vordere Schaltplatte, die Frontplatte mit dem Maß von etwa 20 x 40 cm trägt den Drehkondensator, das Potentiometer für die Rückkopplung, den Wellenbereichs-Umschalter, einen Heizstrom-Ausschalter, die beiden Heizstromregler und die Telefonbuchsen zum Anschluß für Antenne, Erde und Kopfhörer bzw. Lautsprecher.

Die Anschlüsse für Heizung, Anodenspannungen sowie negative Gittervorspannung werden an der Rückwand mit (farbig markierten !) Telefonbuchsen angebracht.
Im folgenden Bild erkennt man die Verdrahtung der Grundplatte mit der Frontplatte.



Im nächsten und letzten Bild erkennt man die Frontplatte von vorne gesehen mit den angebrachten Bedienteilen.



Zum Abschluß noch eine Auflistung der Einzelteile.
  1. Ein Schaltbrett von ca. 20 x 40 cm
  2. Ein Grundbrett von ca 20 x 20 cm
  3. Eine Rückwand von ca. 20 x 40 cm
  4. Ein Klemmbrett von 15 x 6 cm aus Isoliermaterial
  5. Ein Drehkondensator 500 pF
  6. Ein Spulensatz, nach Beschreibung angefertigt
  7. Ein Umschalter für den Wellenbereich
  8. Ein Potentiometer 500KOhm
  9. Drei Europa-Röhrensockel
  10. Zwei (oder drei) Heizwiderstände (Heizregler), Drahtpoties mit je 25 - 50 Ohm, 1 - 2 Watt
  11. Zwei Übertragertransformatoren ca. 1:4 - 1:5
  12. Ein Widerstand 2 MOhm
  13. Kondensator 250 pF
  14. Kondensator 1000 pF
  15. Ein Heizstromausschalter
  16. Zehn Stück Anschlußstecker (Telefon- bzw. Bananenstecker) fürErde, Antenne, Kopfhörer/Lautsprecher, sowie für die Spannungsversorgung
  17. Ein Elektrolyt-Kondensator (besser ein ungepolter, sogenannter "MP-Kondensator) von 2 uF.

Tip : Auf einen Übertrager-Transformator sollte man bei den verwendeten Röhren nicht verzichten. Diese Batterie-Röhren haben allesamt nur eine sehr geringe Verstärkung. - Erst bei den später entwickelten Röhren, die einen erheblich höheren Verstärkungsgrad besaßen, konnte man auf eine Transformator verzichten und die Ankopplung zwischen den Röhren mittels R/C-Glied - also mit einem Widerstand und einem Kondensator - durchführen.
Es ist klar, daß es heutzutage immer schwerer wird, alte Original-Trafos zu bekommen. Was aber oft erhältlich ist, ist ein defekter, meist an der Primärseite durchgebrannter. - Den kann man neu wickeln !!
Einen Übertrager-Transformator kann man sich auch selber herstellen, indem man z.b. einen alten Ausgangs- Übertrager nimmt, die Blechpakete entfernt, dann die obere, dicke Sekundärwicklung mit ihren 5 Ohm abwickelt. - Anhand meiner Seite "Transformatoren und Drosseln-Selbstgewickelt" kann man den vorhandenen Übertragertrafo anhand der Paketgröße identifizieren, danach die neu aufzuwickelnden Windungen mit den Windungszahlen berechnen und wickeln. Die neuen Windungen sollten insgesamt ca. ein Viertel der Windungen der Primärwicklung haben.
- Hat die Primärwicklung also einen Gesamtwiderstand von ca. 4 kOhm, sollte die neue Sekundärwicklung etwa 1 kOhm betragen. Anschließend die Bleche wieder zusammenschichten, verschrauben - und der Trafo ist einsatzbereit.

Zurück zur Hauptseite