Batterieröhren-Empfänger im Netzbetrieb

Normalerweise werden Anoden- sowie Heiz-Batterien für den Betrieb von Batterieröhren - also von direkt geheizten Röhren, benötigt. Eine Ausnahme war eine Netzanode, welche aber nichts anderes als ein Netzteil darstellt. - Wie eine Netzanode auf- bzw. nachgebaut wird, zeigte ich schon auf meiner Seite "Baupläne für Batterie-Empfänger".

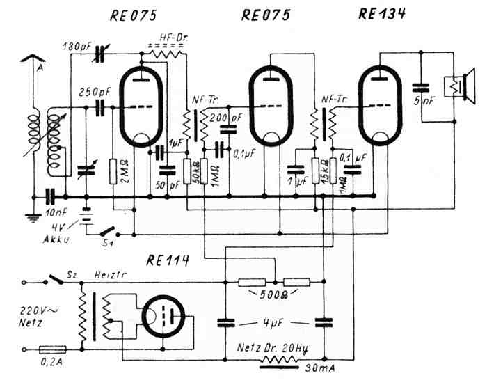
in dieser Schaltung ging es aber darum, ein Audion mit Batterie-Röhren aufzubauen - mit direktem Netzanschluß. Im folgenden Bild stelle ich die Schaltung eines solchen Empfängers vor, ich fand sie in einem uralten Elektronik-Heft, habe sie im Original-Zustand belassen.


Die Schaltung zeigt einen Einkreis-Dreiröhren-Empfänger, in dem als Spulensatz einer der üblichen Einkreisersätze aus Korb- oder Flachspulen verwendet werden kann. Eine Lautstärkeregelung erfolgt gegebenfalls durch eine Abstandsänderung der Antennenspule, mit einem Zwei- oder Dreifach - Spulenschwenker.
Die im Bild links außen erkennbare Antennenspule sollte etwa 50 Windungen aufweisen. Wird ein Zweifach-Spulenschwenker verwendet, muß die rechte Spule etwa 125 Windungen aufweisen, mit einer Anzapfung an der 75. Windung, somit hat man eine feste Ankopplung für die Rückkopplungsspule.
Wird jedoch ein Dreifach-Spulenschwenker verwendet, so sollte die MW-Empfangsspule 75 Windungen, die Rückkopplungsspule 125 Windungen erhalten. Empfehlenswert ist bei dieser Spulenbestückung aber ein Dreifach-Spulenschwenker, bei welchem beide Außenspulen - die Antennenspule sowie die Rückkopplungsspule, weggeschwenkt werden können; die Mittelwellenspule befindet sich dabei in der Mitte dieser Anordnung.
Dreifach-Spulenschwenker dieser Bauart könnten notfalls von mir besorgt werden,- es sind hochprofessionelle Nachbauten, wie ich sie schon an anderer Stelle meiner Homepage vorstellte.
Der Abstimmdrehkondensator - im Schaltbild ist er ohne Wert eingezeichnet - sollte die übliche Kapazität von 500 pF aufweisen.
Die HF-Drossel kann mit Hilfe eines 1 - 10 kOhm-Widerstandes (1 - 2 Watt) aufgebaut werden, auf welchem ca. 100 Windungen Kupferlackdraht - 0,1 mm reichen hier vollkommen aus - sorgfätig gewickelt werden.

Die NF-Transformatoren sollen nicht zu hoch übersetzen, ein Verhältnis von etwa 1 : 4 genügt vollkommen. Der Kopfhörer sollte etwa 2...4000 Ohm Impedanz aufweisen - oder, mit einem entsprrechenden Ausgangstransformator, kann sogar auch ein dyn. Lautsprecher angeschlossen werden, die RE 134 ist hierfür hinreichend stark genug.

Die Gittervorspannungen werden Ɓpraktischerweise, wie man in der Schaltung erkennt, in der Siebkette an den beiden 500-Ohm-Widerständen abgenommen.

Wobei ich zum wichtigsten Punkt - der Stromversorgung - komme :
Wenn man sich die Schaltung ansieht erkennt man schon, daß sie in einer Zeit entwickelt wurde wo man von (heutigem) Sicherheitsdenken und -vorschriften noch nicht viel "am Hut" hatte. Offensichtlich waren die Leute damals vorsichtiger im Umgang mit der Netzspannung als heute - mir sind jedenfalles keine besonderen "epidemischen" Unfälle aus diesen Zeiten bekannt (wie auch, wurde zu der Zeit ja gerade mein Vater geboren..). - Würde man eine solche Schaltung in der heutigen Zeit anwenden.. - Aua...
Logischerweise darf also kein reiner Heiztrafo verwendet werden, es muß schon ein üblicher Netztransformator sein der die Anodenspannung nicht wie in dieser Schaltung direkt aus dem Netz, sondern, galvanisch getrennt, aus dem Transformator bereitstellt. Der weitere Weg der Schaltung, mit der die Anoden- und Gitterspannungen erzeugt werden, kann dann weiterhin so wie in der Schaltung erkennbar aufgebaut werden - ich würde aber zumindest eine reine Gleichrichterröhre (und keine als Gleichrichter mißbrauchte Triode, wie im Schaltbild) verwenden - oder auch, notfalls, einen Brückengleichrichter aus der Selen- oder Siliziumtechnik.

Ein "wunder Punkt" ist allerdings die Heizstrom-Versorgung. Wie erkennbar wurde die Heizung aus einer 4 Volt - Batterie versorgt. Hier kann man natürlich nicht von einem perfekten Netzteil reden... - wird aber der 4 Volt - Ausgang des Netztrafos durch einen Brückengleichrichter und guter Siebung durch Elkos gleichgerichtet - und dann erst mit einem 4 Volt - Accu "gepuffert", kann man schon von einer perfekten Gleichrichtung sprechen und man hat keinerlei störendes Netzbrummen zu befürchten.
Der Accu, der aus drei 1,2-Volt-Nickel-Cadmuim-Zellen bestehen kann, wird einfach in das Gehäuse des Empfängers fest mit eingebaut,- es wird aber ein doppelter Netzschalter benötigt der auch die Batterien abschaltet - oder es werden zwei Schalter - einer für's Netz und einer für die Batterien - verwendet.
Als Accu, der hier als Puffer dient und der die letzten Reste der Netzt-Brummspannung herausfiltert, reichen hier (eigentlich) schon drei Mignon-Zellen. Es ist aber besser, die dicken, erheblich stärkeren Mono-Zellen einzusetzen, weil das Netzteil eine zu hohe Spannung bereitstellt..
Ich würde - sollte diese Schaltungsart verwendet werden - auf jeden Fall dringend dazu raten, von der 4 Volt - Wicklung des Netztrafos einige Windungen (2 - 4 Windungen) zu entfernen, bis auf etwa 3,6 bis 3,7 Volt Ausgangsspannung. - Die Heizwicklung ist in fast allen Fällen die oberste Wicklung des Transformators, somit kann man leicht - ohne den Transformator erst mühsam auseinanderbauen zu müssen - einige Windungen entfernen.
Mit der Meßspitze eines Meßgerätes kann vorher genau abgetastet werden bis an welcher Stelle die Windungen entfernt werden sollen.
Auch ist es möglich, eine stabilisierte Heizspannungsquelle, wie in der Schaltung der Netzanode auf der Seite "Baupläne für Batterie-Empfänger" eingezeichnet, zu verwenden - damit kann dann auch die Pufferbatterie entfallen.
- Im Schaltbild nicht vorgesehen, sollte doch dringend ein Heizungsregler für die Audion-Röhre, die erste RE 074 (links im Schaltbild) vorgesehen werden.

Zurück zur Hauptseite