Röhrenprüfgerät für Gegentakt-Röhren

Das einwandfreie Arbeiten von Gegentakt-Endstufen ist durch die völlige elektrische Gleichheit der verwendeten Röhren bedingt; anderenfalls wäre die Schaltung unsymmetrisch, es würden sich starke Verzerrungen ergeben und eine der beiden Röhren würde nach kurzer Zeit durch Überbelastung unbrauchbar werden. Zur Aussortierung und Prüfung von Gegentakt-Endröhren soll das nachstehend beschriebene Gerät dienen, mit diesem Gerät können sogenannte "Pärchen", aber auch "Drillinge" oder mehr ausgemessen werden, z.B. für PPP-Verstärker oder ähnliche Schaltungen, bei denen mehr als zwei Röhren in einer Endstufe verwendet werden.


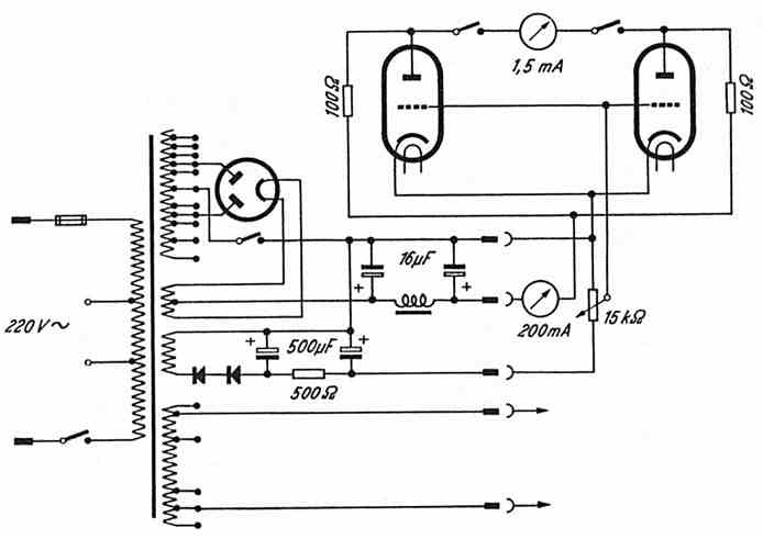
Die Schaltung beruht auf dem Prinzip der Wheatstone'schen Brücke. Die Röhren können in jedem Punkt der statischen Kennlinie geprüft und verglichen werden. Die einzelnen Zweige der Brücke sind durch die beiden Prüflinge, zwei Normalwiderstände und durch ein Meßinstrument dargestellt. Durch Regelung der Gitterspannung beider Röhren läßt sich jeder Punkt der Ug-Ia-Kennlinie einstellen. Das Brückeninstrument (1,5 mA links - 1,5 mA rechts; Zeiger in Normalstellung Mitte) zeigt dann die Abweichungen beider Anodenströme an. Die höchstzulässige Toleranz ist durch zwei Marken am Brückeninstrument gekennzeichnet; sie entspricht einer Stromdifferenz von 1 mA. Im Idealfall würde das Instrument in der Mittelstellung stehen bleiben, da das Brückengleichgewicht nicht gestört ist. Der Gesamt-Anodenstrom kann an einem zweiten Instument (200mA) abgelesen werden.

Prüfbeispiele und Wirkungsweise
Zwei Röhren werden eingesetzt und vorgeheizt. Das Gitterspannungs-Potentiometer 15 kOhm steht zunächst in der einen Endstellung, so daß die größte negative Spannung an den Gittern liegt (siehe Schaltbild).
Nach dem Einschalten der Anodenspannung zeigen beide Strommeßgeräte keinen Ausschlag, da die Emission wegen der stark negativen Gitterspannung noch nicht einsetzen kann.
Nun wird das Potentiometer langsam nach rechts gedreht, die Gitterspannung wird positiver, und der Anodenstrom beginnt zu fließen. Gleichzeitig schlägt das Brückeninstrument z. B. bis zum linken Anschlag aus. Die Röhren haben verschiedene Anodenströme, und dadurch tritt eine Differenz der Spannungsabfälle an den beiden Brückenwiderständen auf.
An den Anoden liegen infolgedessen verschiedene Spannungen, deren Unterschied das Brückeninstrument anzeigt. Beim weiterdrehen des Potentiometers geht der Zeiger des Instrumentes langsam über "0" nach rechts bis zum Anschlag. Die Stromunterschiede der beiden Röhren sind nunmehr entgegengesetzt. - Als Prüfungsergebnis kann nun festgestellt werden, daß diese Röhren zwar in einem einzigen Punkt der Kennlinien übereinstimmen - nämlich beim Nulldurchgang des Instrumentes -, daß sie jedoch zusammen für eine Gegentaktschaltung ungeeignet sind, da das Instrument weit über den gekennzeichneten Sektor anzeigte.

Bei einer anderen Prüfung pendelt der Zeiger des Brückeninstrumentes beim Verändern der Gitterspannung nur wenige Teilstriche um den Nullpunkt, die Stromdifferenz liegt also unter 1 mA. Diese Röhren sind für Gegentaktzwecke brauchbar. Hat man nun zwei gleiche Röhren gefunden, kann eine der beiden im Prüfsockel verbleiben, eine dritte Röhre wird in den freinen Prüfsockel gesteckt und mit der ersten Röhre verglichen. Findet man eine Röhre, die zur ersten Röhre gleich ist, so hat man "Drillinge" gefunden.

Die dritte Möglichkeit ist die, daß das Instrument während der ganzen Messung am rechten oder linken Anschlag stehen bleibt. - Auch in diesem Falle sind die Röhren wegen der großen Verschiedenheit der Kennlinien für eine Gegentaktschaltung nicht verwendbar.

Die Stromversorgung erfolgt durch ein Netzgerät, wie in der Schaltung ersichtlich. Der Netztransformator sollte diverse Heizungs-Spannungen für verschiedene Röhren, mehrere Anodenspannungen bis zu 350 Volt bei einer Stromentnahme bis zu 200 mA und 15 Volt für die negative Gittervorspannung liefern.
Die Anodenspannung wird durch einen gesonderten Schalter am Netzgerät eingeschaltet. Als Gleichrichter kann auch ein "normaler" Brückengleichrichter verwendet werden.

Zurück zur Hauptseite