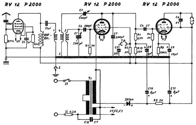
Ein kleiner Mittelwellen-Empfänger mit einer aperiodischen HF-Vorstufe.

Diese Schaltung entstand aus der RIM-Aladin - HF-Vorstufe und dem RIM-Einkreisempfänger von 1955.


Diese Schaltung ist schnell und einfach aufgebaut. Die Audionspulen werden - wie im RIM-Piccolo 49 oder RIM-Piccolo 58 beschrieben hergestellt, die HF-Drossel in der HF-Vorstufe kann mittels eines 100-kOhm-Widerstands, 1 Watt, mit etwa 150 Windungen 0,05 mm Cul bewickelt, hergestellt werden.

Der RIM-Piccolo 49, den ich mir schon aufgebaut hatte und der mich immer noch total begeistert wegen seiner Empfindlichkeit und seiner Trennschärfe, wird mit dieser HF-Vorstufe nun nochmals erheblich aufgewertet (die Empfindlichkeit wird enorm verbessert) und er wird Wechselstromfähig.

Diese Schaltung kann aber auch, wenn keine hohen Spannungen erwünscht sind, mit 3 x RV 2,4 P 700 aufgebaut werden. Dann allerdings muß, die drei Röhrenheizungen in Reihe geschaltet, eine Heizspannung von 7,2 Volt erzeugt werden. Dieses könnte man mittels eines kleinen Heiztrafos mit 6,3 Volt, anschließender Gleichrichtung mit einem Zweiweggleichrichter und genügend starker Siebung durch Sieb- und Ladeelkos erreichen - oder mit entsprechend geschalteten Batterien (5 x 1,5 Volt-Batterien oder 6 x 1,2 Volt-Accus).

Zurück zur Hauptseite