Ein Zweiröhren-Reflexempfänger
Der folgende Reflexempfänger entstammt aus einem uralten Buch, die betr. Seiten wurden mir von Alfred
Wiederin (vielen Dank noch einmal dafür!) kopiert und zur Verfügung gestellt. (Ich habe den Text nur unwesentlich
angepasst. Der Original-Text stammt von W. Ärger.)
In früheren Jahren wurde die Selbstherstellung kleiner Radioempfänger beschrieben, die als Stromquelle Batterien
erfordern und sich nur mit Kopfhörern verwenden lassen. Viele Bastler möchten aber gerne einen Empfänger
für bauen an den man auch einen Lautsprecher anschließen kann. Hier findet ihr nun eine Anleitung zur
Selbstherstellung eines solchen Apparates. Der Bau setzt freilich einige Geschicklichkeit voraus; dem Anfänger sei
deshalb geraten, nicht allein vorzugehen, sondern mit einem erfahrenen Radiobastler zusammenzuarbeiten.
Unser Gerät ist ein Zweiröhrenempfänger für Mittelwellen. Er wird an das 220 Volt - Netz
angeschlossen.
Ein besonderer Vorteil des Apparates ist die hohe Empfindlichkeit, die mit nur zwei Röhren erreicht wird. Bei guter
Lage ist auch am Tage Fernempfang möglich. Dies wird erreicht durch eine Reflexschaltung. Bei dieser geht es um folgendes:
Die Röhre EAF 42 wird als normale Hochfrequenzverstärkerröhre verwendet. Nachdem die Hochfrequenz mit dem
Diodensystem in der Röhre gleichgerichtet ist, wird die Röhre zudem noch als Niederfrequenzverstärkerröhre
benutzt. Zusammengefaßt verstärken wir in der gleichen Röhre Hochfrequenz und Niederfrequenz.
An Stelle einer Gleichrichtenöhre im Netzteil wird ein Selen- (oder Dioden-) Gleichrichter verwendet.
Als Lautsprecherröhre dient der bekannte Typ EL 41.
Um ein möglichst gutes Resultat mit der Antennenanpassung zu erhalten, wurde die Eingangsspule S 1 (Primärseite 1)
mit Abgriffen versehen. Es kann auf diese Weise jede Antenne gut angepaßt werden. Durch Versuch ist zu ermitteln, an
welche der vier Antennenbuchsen das Gerät am besten arbeitet. Dabei kann auch die Trennschärfe verbessert werden.
Die Trennschärfe ist am höchsten in Buchse 4. Im weiteren kann noch außerhalb des Gerätes zwischen
Antenne und einer der Antennenbuchsen ein Kondensator von zirka 100 pF bis 250 pF dazwischengeschaltet werden. Das
bestmögliche Resultat ist auch hier durch Versuch zu ermitteln. Dies nur als kleiner Wink.
Es ist von Vorteil, wenn man eine Erdleitung verwendet. In den meisten Fällen wird die Leistung des Gerätes
dadurch noch erhöht.
Das Gerät weist im weiteren noch eine kleine Fading-Automatic auf, damit bei Feldstärkeschwankungen von Sendern
die Lautstärke möglichst gleich bleibt. Es versteht sich von selbst, daß diese nicht so wirksam sein kann
wie bei normalen Radioapparaten, da sie dort durch die Verwendung von mehr Röhren auf 3 bis 4 Stufen verteilt werden
kann, die alle automatisch regeln.
Arbeitsweise des Gerätes
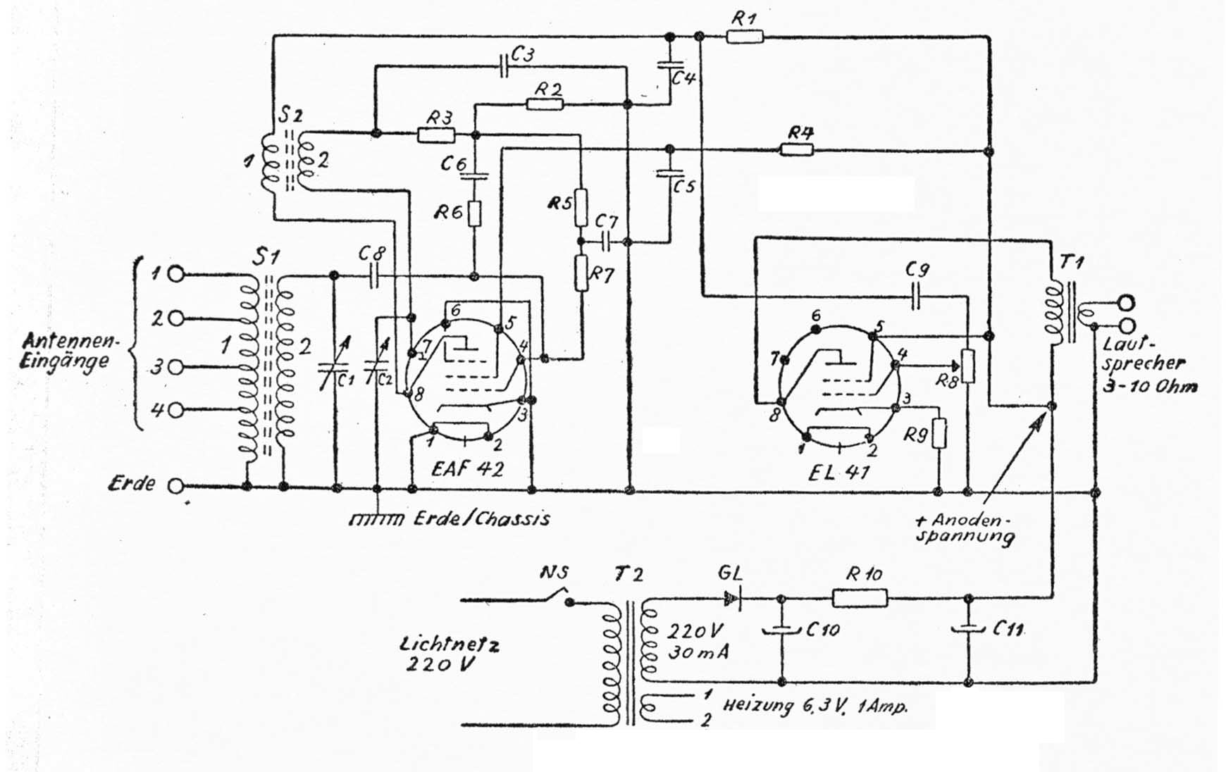
Zum besseren Verständnis wollen wir an Hand des Schaltbilds kurz die Arbeitsweise des Gerätes beschreiben.
(Mit der Maustaste das jeweilige Bild anklicken, es wird dann in voller Auflösung dargestellt.)
Das Signal eines Senders wird durch die Antenne aufgenommen und gelangt über eine der Antennenbuchsen an die
Primärseite 1 der Spule S 1. Die Hochfrequenzspannung liegt nun zwischen Anschluß 1 der Spule und Erde (Chassis).
Wird dabei die Antenne an Anschluß 4 gelegt, wird die Spannung bis zum Anschluß 1 hinauftransformiert wie bei
einem gewöhnlichen Netztransformator. Die Spule S 1 ist nichts anderes als ein gewöhnlicher Transformator für
Hochfrequenz. Das Signal wird nun auf die Sekundärseite 2 induziert.
(Mit der Maustaste das jeweilige Bild anklicken, es wird dann in voller Auflösung dargestellt.)
Mit dem Drehkondensator C 1 kann nun auf einen Sender abgestimmt werden. Dieses Sendersignal gelangt über C 8 an das
Steuergitter der Röhre EAF 42. In dieser Röhre wird das Signal verstärkt und an der Anode über die
zweite Hochfrequenzspule S 2 von der Seite 1 auf die Seite 2 transformiert. Auf der Seite 2 wird das Signal noch einmal mit
dem Drehkondensator C 2 abgestimmt. Die Trennschärfe und die Empfindlichkeit werden auf diese Weise erhöht.
Die beiden Drehkondensatoren laufen zusammen auf einer Achse, so daß immer auf den gleichen Sender abgestimmt werden
kann.
Die Wicklung 2 der Spule S 2 ist auf der einen Seite an die Diode der Röhre EAF 42 gelegt. Diese wandelt nun die
hochfrequenten Signale in Tonfrequenzen um. Der Ton kann zwischen Erde und am Punkt, wo R 3 und C 6 zusammenkommen,
abgenommen werden. Das Tonsignal ist hier noch sehr klein und muß weiter verstärkt werden, damit wir dieses im
Lautsprecher hören. Über C 6 und R 6 gelangt es wieder zum Steuergitter der Röhre EAF 42 und wird hier
verstärkt. Das verstärkte Tonsignal gelangt von der Anode der Röhre über die Wicklung 1 der Spule S 2
(diese bildet für Tonsignale keinen Widerstand) und über den Kondensator C 9 an den Lautstärkeregler R8.
Vom mittleren Anschluß des Potentiometers führt das Signal an das Steuergitter der Lautsprecherröhre EL 41.
In dieser Röhre erfolgt die letzte Verstärkung. Das hier verstärkte Tonsignal wird von der Anode der Röhre
über den Ausgangstrafo T 1 von der Primärseite auf die Sekundärseite an den Lautsprecheranschluß
übertragen.
Bauteile
Die Betriebsspannung der Kondensatoren braucht nicht höher als 250 Volt zu sein.
Alle Bauteile sind normale Einzelteile, die in Bastlergeschäften erhältlich sind.
(Anstelle des Selengleichrichter-Stabes (links aussen im Bild) kann ein
Flachgleichrichter, aber auch moderne Silizium-Gleichrichter Verwendung
finden.)
Materialliste
Elektrische Teile:
1 Röhre EL 41
1 Röhre EAF 42
GL Gleichrichter Einweg, 220 Volt, 30 mA
T 1 Lautsprechertrafo, 4 Watt primär, 7000 Ohm sekundär, 4 Ohm
T 2 Netztrafo, primär 220 V, sekundär: 1 x 220 V, 1 x 6,3 V
S 1 Hochfrequenzspulenkörper Neosid
S 2 Hochfrequenzspulenkörper Neosid
C 1/C 2 Drehkondensatoren 2 X 500 pF
C 3 Kondensator 1500 pF
C 4 Kondensator 80 pF
C 5 Kondensator 0,1 MF
C 6 Kondensator 0,01 MF
C 7 Kondensator 0,1 MF
C 8 Kondensator 100 pF
C 9 Kondensator 0,01 MF
C 10/C 11 Elektrolytkondensatoren je 50 uF
C 12 Kondensator 5000 pF
R 1 Widerstand 56 kOhm 1/2 Watt
R 2 Widerstand 1 Meg. 1/2 Watt
R 3 Widerstand 39 K.Ohm 1/2 Watt
R 4 Widerstand 150 K.Ohm 1/2
R 5 Widerstand 1 Meg. 1/2 Watt
R 6 Widerstand 100 K.Ohm 1/2 Watt
R 7 Widerstand 1 Meg. 1/2 Watt
R 8 Potentiometer 1 MegOhm mit Netzschalter (Lautstärkeregler)
R 9 Widerstand 220 Ohm 1 Watt
R 10 Widerstand 200 Ohm 2 Watt
20 m Hochfrequenzlitze 20 x 0,05 mm
15 m Draht 0,1 mm, seidenumsponnen
Mechanische Teile:
1 Metallchassis
1 Buchsenleiste mit 5 Anschlüssen (Antennen- und Erdanschluß)
1 Buchsenplatte mit 2 Anschlüssen für Lautsprecher
3 Lötstrips 4 teilig
Lötstrips 2 teilig
2 Röhrensockel für Röhren EAF42 (EBF89) und EL41 (EL84, EL95)
Ein Foto des Chassis, wie es angezeichnet werden sollte:

Hochfrequenzspulen
Die Wicklungsdaten der Spulen S1 und S 2 gelten nur für Neosid-Spulenkörper. Es können selbstverständlich
auch andere Fabrikate verwendet werden. Dabei ist zu beachten, daß andere Windungszahlen, die etwas abweichen können,
einzuhalten sind. Als Richtlinie diene folgendes: Nach der Fertigstellung des Apparates wird der Kondensator C 8 vom
Drehkondensator und der Spule S 1 abgelötet. Die Antenne wird direkt an C 8 angeschlossen. Bei fast eingedrehten)
Drehkondensator soll nun ein Sender etwa mit der Wellenlänge von Beromünster (567,1 m; 529 kHz) hörbar sein.
Ist dieser Sender nicht hörbar, das heißt, fällt er aus dem Bereich, so weist die Spule S 2 (Wicklung 2) zu
wenig Windungen auf. Es sind nun mehr Windungen anzubringen, bis der Sender einfällt. Ist das Gegenteil der Fall, kommt
der Sender zu weit unten bei ausgedrehtem Drehkondensator herein, so ist die Windungszahl zu groß. Die Spule S 2,
Sekundärseite 2, ist so weit abzuwickeln, bis der Sender oben bei eingedrehtem Drehkondensator einfällt.
C 8 wird nun wieder an Spule S 1, Seite 2, und an den Drehkondensator angelötet und die Antenne in eine der
Antennenbuchsen eingesteckt. Die Wicklung S 2 ist nun so zu wickeln, daß der Sender am lautesten einfällt. Dies
erfolgt durch Auf- oder Abwickeln. Zudem kann noch mit dem Eisenkern fein reguliert werden.
Polarität der Spulenenden
Dazu ist zu sagen, daß diese keine Rolle spielt. Die Drahtenden können vertauscht werden, da es sich um
Wechselspannungen handelt, wie bei einem Netztrafo oder Niederfrequenztrafo. Die Anzapfungen der Antennenspule S 1, Wicklung
1, sind in einfacher Weise zu Schlaufen. Der innerste Anschluß ist zum Beispiel Erde. Danach wird gewickelt bis zum
Anschluß 4. Hier wird eine Schlaufe gemacht und dann so weitergewickelt bis Artschluß 1, wie aus Abb. 10
hervorgeht, Die Anschlüsse 2, 3 und 4 weisen also zwei Drähte auf. Die Isolation ist abzuschaben; dann werden die
Drähte mit den Antennenbuchsen und der Erdbuchse verlötet.
Hinweise zum Bau des Apparates
Es empfiehlt sich, das Gerät in der folgenden Reihenfolge zu bauen:
1. Anfertigung des Chassis.
2. Montage folgender Teile: Netztrafo, Lautsprechertrafo, Gleichrichter, zwei Elektrolytkondensatoren, zwei Röhrensockel,
Antennenbuchsenplatte, Lautsprecherbuchsenplatte, Drehkondensator, Lautstärkeregler, vier Lötstrips,
Gummidurchführung.
3. Verdrahtung des Netzteiles: Das Netzkabel wird durch die Gummitülle und durch das Chassis eingezogen und mit der
Primärseite des Netztrafos verlötet. Dabei wird ein Pol der Zuleitung über den Netzschalter geführt, der
sich am Lautstärkeregler befindet.
4. Verdrahtung der Heizleitung 6,3 Volt. Die zwei Heizungen sind bei den Röhrensockeln in der Mitte zwischen den
Anschlüssen durch einen kleinen eingravierten Strich zu erkennen, wie die Abbildung zeigt. Die Polarität spielt
keine Rolle. Ein Heizpol ist mit dem Chassis zu verbinden (siehe Schema). Die Heizdrähte sind dicker als die der
Anodenwicklungen.
5. Anschluß des Gleichrichters. Dieser weist zwei Drähte auf, den einen von blauer Farbe (-), den andern von roter(+).
Ein Anschluß der Anodenwicklung wird mit dem Chassis verbunden, der zweite Anschluß mit dem blauen Anschluß
des Gleichrichters. Der rote Anschluß des Gleichrichters gibt nun die Anodengleichspannung ab und wird mit C 10 und R
10 verbunden. Dann folgt die Verbindung R 10 (andere Seite) mit dem zweiten Elektrolytkondensator C 11 und einem
Anschluß des Lautsprechertrafos Tl primär.
Die Primärseite des Lautsprechertrafos weist dünne Drähte auf, die Sekundäranschlüsse auf der
Lautsprecherseite dicke Drähte. Die Polarität aller Anschlüsse spielt auch hier keine Rolle. Ein Anschluß
der Primärseite wird mit dem Anodenanschluß des Röhrensockels EL 41 verbunden.
6. Verbindung einlöten zwischen Schirmgitter (Röhre EL 41, Anschluß 5) und der + Anodenspannung.
7. Anschluß des Potentiometers (Achse gegen das Auge gerichtet), Anschluß rechts mit Chassis verbinden.
Anschluß Mitte mit dem Steuergitter der Röhre EL 41 (Anschluß 4).
Anschluß links wird mit C9 verbunden.
8. Die Sekundärseite des Lautsprechertrafos (zwei dicke Drähte) ist mit den Lautsprecherbuchsen zu verbinden.
9. Einlöten von C 12 zwischen einer Seite der Primärseite des Netztrafos und dem Chassis.
Die Endstufe ist somit verdrahtet. Es sollen nun noch einmal alle Verbindungen nach dem Schema kontrolliert werden. Sind
diese als richtig befunden, kann die Röhre EL41 eingesteckt und das Gerät unter Verwendung eines Lautsprechers
oder Kopfhörers kontrolliert werden. Zwischen C 9 und dem Chassis soll dem Verstärker ein Niederfrequenzsignal
zugeführt werden (Radio, usw.). Die Wiedergabe muß nun in kleiner Lautstärke im Lautsprecher hörbar
sein.
10. Ist die Lautsprecherstufe in Ordnung, erfolgt die Verdrahtung der Vorstufe mit der Röhre EAF42 in gleicher Weise,
wie im Beispiel der Endstufe aufgeführt. Alle Verbindungen sind gemäß Schema und Verdrahtungsplan
auszuführen. Wo etwas unklar ist, halte man sich immer an das Schema.
Ein Bild des fertig aufgebauten Empfängers von der Unterseite:

Wickeln der Hochfrequenzspulen
Dies ist sehr einfach und bereitet keine Schwierigkeiten.
Spule S 1: Zuerst wird die Wicklung 2 gleichmäßig in alle Kammern verteilt. Es braucht dabei 82 Windungen
Hochfrequenzlitze 20 x 0,05 mm.
Die Wicklung 1 (Antennenseite) benötigt total 80 Windungen Draht, 0,1 mm, seidenumsponnen. Die Wicklung wird auch hier
über die Wicklung 2 auf alle Kammern gleichmäßig verteilt. Die Anzapfungen sind wie folgt auszuführen:
Erde bis Anschluß 4 = 15 Windungen
Anschluß 4 bis 3 = 20 Windungen
Anschluß 3 bis 2 = 15 Windungen
Anschluß 2 bis 1 = 30 Windungen
Spule S2: Zuerst wird die Wicklung 2 auf alle Kammern gleichmäßig verteilt. Wir benötigen hier 85 Windungen
Hochfrequenzlitze 20 x 0,05 mm.
Die Wicklung 1 wird gleichmäßig in alle Kammern über die Wicklung 2 verteilt. Hier benötigen wir 50
Windungen 0,1-mm-Draht, seidenumsponnen.
Die folgenden Fotos zeigen einen hierfür verwendbaren 4-Kammer-Spulenkörper. Bei diesem müsste man aber
(wenn man, wie hier, den Al-Wert nicht kennt) durch testweises Bewickeln die richtige Windungszahl ermitteln:
Die folgenden Fotos zeigen einen den im obigen Bericht beschriebenen Neosid-Spulenkörper weitesgehend ähnlichen:
einen Siemens-Haspelkern. Ich habe, nur mal als Test, 65 Windungen aufgebracht - das Ergebnis ergab 198 uH, genau so wie es
für das MW-Band sein sollte. (Der Haspelkern hat noch ein Ferrit-Schalenteil, deshalb werden hier weniger Windungen als
beim Neosid-Kern aufgebracht um den benötigten Wert zu erreichen.)
Zum Wickeln habe ich HF-Litze verwendet, über deren verlötete Enden ich Silikon-Isolierschlauch schob.