UKW-Vorsatzempfänger

Um mit geringem Aufwand überhaupt einen Empfang zu ermöglichen, wird man sich zweckmäßig einfacher Pendelrückkopplungsschaltungen bedienen, obwohl das nicht der Weisheit letzter Schluß ist; aber es ist zu bedenken, daß der einfache Bastler, dem kein Meßsender zur Verfügung steht, nicht viel Aussicht haben wird, einen UKW-Super so abzugleichen, daß er befriedigend arbeitet.
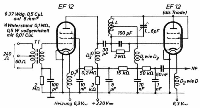
Andererseits gewährleistet jedoch der Pendelrückkopplungempfänger ausreichende Empfangsergebnisse. Eine Gefahr ist allerdings bei diesen einfachen Geräten durch die eventuellen Störausstrahlungen gegeben, die den Empfang in der Nachbarschaft auf der gleichen Wellenlänge empfindlich stören. Zur weitgehenden Unterbindung solcher Störungen ist die Verwendung einer Vorstufe unumgängliche Vorbedingung. Um hinsichtlich des Antennenanschlusses allen Schwierigkeiten aus dem Wege zu gehen, wird der beschriebene Empfänger eine Anzapfung in der Antennenspule erhalten, so daß einmal der Anschluß eines Schleifendipols mit einem Flachbandkabel (beide haben den gleichen Wellenwiderstand von etwa 240 Ohm) mit sämtlichen Windungen der Antennenspule und beim Anschluß an die Anzapfung die Verwendung eines einfachen Dipols mit einem Koaxialkabel (60 Ohm) möglich wird. Dazu ist zu sagen, daß in der Mehrzahl der Fälle wohl dem Schleifen-Dipol mit dem Flachbandkabel der Vorzug gegeben wird.
Eine selbstverständliche Bedingung beim Bau eines UKW-Gerätes ist die äußerst kurze Leitungsführung.
Man muß sich dabei stets vor Augen halten, daß 1 Zentimeter freie Drahtlänge rund 0,01 µH Selbstinduktion hat. 0,1 bis 0,25 µH ist aber bereits die für die Abstimmung auf Resonanz der UKW-Kreise erforderliche Induktivität, man darf also in dieser Hinsicht nichts verschenken und soll bestrebt sein, die Verbindungsleitungen, wenn möglich, ganz einzusparen und die Abstimmittel direkt an den Röhrensockel zu löten.


Ein weiteres wichtiges Moment ist eine ausreichende Siebung der Anodenspannung. UKW-Schaltungen sind hinsichtlich des Netzbrumms wesentlich empfindlicher als Geräteschaltungen für den Empfang von Mittel- oder Kurzwellen. Man sollte daher am besten für den UKW-Vorsatz ein besonderes Netzteil mit wenigstens zwei Elektrolytkondensatoren 16 µF, besser noch 32 µF, für die Siebung einbauen. Auch die Verdrosselung der Heizkreise ist sehr wichtig.
Wie das Schaltbild zeigt, ist in jede Heizleitung der beiden Röhren eine Siebdrossel mit je 37 Windungen 0,5-mm-CuL-Draht auf ein Pertinaxrohr von 6 mm Durchmesser zu schalten.
Um eine genügend hohe Kreisgüte zu erhalten, sollte man die frequenzbestimmenden Kreise auch nicht mit Kondensatoren, sondern durch Induktivitätsänderung abstimmen. Man benutzt zur Abstimmung am besten eine Spule, wie im nächsten Bild ersichtlich, von etwa 10 Millimeter äußerem Durchmesser, auf die vier Windungen versilberten Kupferdrahtes von 1 - 1,5 mm Stärke aufgebracht werden.



Zurück zur Hauptseite