Batterie-Röhren - Niederfrequenz-Verstärker

Allgemeines
Das Zusammenstellen eines Niederfrequenz Verstärkers scheint an und für sich nicht allzu schwer zu sein.
Das verleitet zum Leichtsinn, zu einer zu oberflächlichen Behandlung der Aufgabe. Meistens ,,geht" der selbstgebastelte Verstärker dann auch, und damit gibt sich manch einer zufrieden.
Maßgehend bleibt aber stets, wie er ,,geht". Klangreinheit und Verzerrungsfreiheit, gleichmäßige Wiedergabe der hohen und der tiefen Tone - kurz die Tonqualität und ein der Röhrenzahl und der Kopplungsart angepaßter Verstärkungsgrad sind die für eine Kritik der Leistungsfähigkeit zu beücksichtigenden Faktoren. Beim Hochfrequenzverstärker (das HF-Empfangsteil, also das eigentliche Radio), insbesondere beim mehrstufigen Hochfrequenzverstärker nimmt sich der Bastler sehr in acht - denn er weiß, daß er beispielsweise auf kurze Leitungen zu achten hat, daß er eine ganze Reihe von Vorschriften beachten muß soll seine Arbeit überhaubt Aussicht auf Erfolg haben.
Beim Niederfrequenzverstärker bleibt jedoch häufig jede Vorsicht außer acht und man begnügt sich mit dem praktischen (oder unpraktischen) Aufmontieren und Verbinden der Einzelteile.
Deshalb, an dieser Stelle - bevor ich zu ausführlicheren Beschreibungen komme - muß ausdrücklich darauf hingewiesen werden daß ein Niederfrequenzverstärker, von dem man qualitativ Wertvolles erwartet mit der gleichen Liebe und Sorgfalt, unter Berücksichtigung ähnlicher Vorsichtsmaßregeln wie sie bei HF-Eingangsstufen selbstverständlich sind erbaut werden muß.
Kürzeste Gitterleitungen, Fernhaltung derAnodenleitungen von den Gitterzuführungen, Vermeidung von Parallelführungen, saubere Lötungen, Verwendung nur bester Einzelteile - insbesondere sind Transformatoren und Röhren gemeint -, das sind die wesentlichsten Erfordernisse.
Das was man an einem schlechten Transformator im Augenblick zu sparen glaubt, verwandelt sich durch den späteren, mit tödlicher Sicherheit getätigten Kauf eines besseren Bauteils zur unnützen und deshalb ärgerlichen Ausgabe. - Es muß ja nicht alles sofort sein, muß nicht alles sofort eingekauft werden. Erlaubt das Bastelbudget heute keine größere Ausgabe, dann lieber warten und die Bastelgelüste aufschieben.

Die Schaltung
Teil 1 : Des mit Übertrager-Transformatoren gekoppelten N.F.-Verstärkers.
Das prinzipielle Schaltbild eines zweistufigen Verstärkers ist in der ersten Schaltung wiedergegeben. Die beiden Übertrager-Transformatoren sind mit Tr1 und Tr2 bezeichnet. Der zweite (Tr2) soll stets ein niedrigeres Übersetzungsverhältnis haben als der erste. Hat beispielsweise Tr1 das Übersetzungsverhältnis 1 : 4, so soll Tr2 höchstens 1 : 3 übersetzt sein, besser noch 1 : 2.

Ein Tip zwischendurch : Bei Oppermann-Electronic (www.Oppermann-electronic.de) gibt's NF-Übertrager zum Selbstbau, für einen Übertragungsbereich von 20 Hz-20 kHz. Es sind Bausätze, bestehend aus dem Blechpaket EI-Kern, mit Wickelkörper, an welchem acht Lötstifte angebracht sind. Kernmaß : 20x20x6mm; Best.-Nr.: VAC 500, Preis/Stck. 0,80 DM. - Mit diesem Bausatz lassen sich hervorragende Übertrager für Batterie- Röhrenverstärker herstellen. - Zum Beispiel könnte man einen defekten Original-Übertrager, die man "überall" zum kleinen Preis bekommen kann, (ich meine hier die gekapselten Trafos !) so umbauen, daß der kleine selbstgewickelte Oppermann-Bausatz in den defekten Trafo eingesetzt wird..

Es ist zwar mit einer größeren Verstärkung bei höheren Übersetzungsverhältnissen zu rechnen, aber - auf Kosten der Klangqualität. Man kann jedoch die Wahl niedriger Übersetzungswerte wieder wett machen und der guten Wiedergabe trotzdem näherkommen, wenn man in der Endstufe mit höherer Anodenspannung arbeitet (bis zu 200 Volt).
Im allgemeinen sollte beachtet werden, daß das Ende der Wicklungen stets an der Röhre liegen soll, der Anfang an der Batterie. - Die Markenfabrikate bezeichneten den Anfang mit dem Index o hinter P (Primärwicklung) und S (Sekundärwicklung). Demnach muß Po stets an der Anode der Vorröhre liegen und P1 an der Anodenbatterie, während So am Gitter der folgenden Röhre, S1 an der Kathode bzw. an der Gittervorspannung angeschlossen wird.
Es sind zwei negative Gittervorspannungsanschlüsse, GV1 und GV2, vorgesehen, also einer für das Gitter der ersten Röhre, der zweite für das Gitter der zweiten Röhre unter Zwischenschaltung der Sekundärseiten der Transformatoren.


Die Schaltung zeigt in der Minus-Anoden- und Minus-Heizungsleitung einen Schalter AS, mit diesem wird die komplette Spannung zum Verstärker abgeschaltet :


Wird der Stift aus dem Führungsrohr herausgezogen wird dadurch sofort der Kontakt mit der Kontaktfeder unterbrochen, der Verstärker ausgeschaltet. - Ein praktischer "Schlüssel" - ohne diesen Metallstift kann der Verstärker nicht in Betrieb genommen werden..
Tip : Für diesen Schalter kann man z.B. die 6-mm Klinkenbuchse und den Klinkenstecker eines Kopfhörers oder Mikrofons, wie sie in der Zeit ab 1960 in den Stereoanlagen eingebaut wurden, verwenden.

Zu beachten ist noch der Hinweis in der Schaltung, daß GV2 eine niedrigere Spannung als GV1 bekommen muß sowie A2 eine höhere als A1. - Die niedrigere Gittervorspannung an GV2 kann aber auch auf einfachere Weise folgendermaßen erzielt werden indem man die Leitung GV2 mit GV1 verbindet, in der Zuleitung von GV2 zum TR2, Anschluß S0 aber einen Widerstand von 500 KOhm - 1 MOhm zwischenschaltet.
Auch könnte der zweite Heizungsregler, an Röhre 2, entfallen.

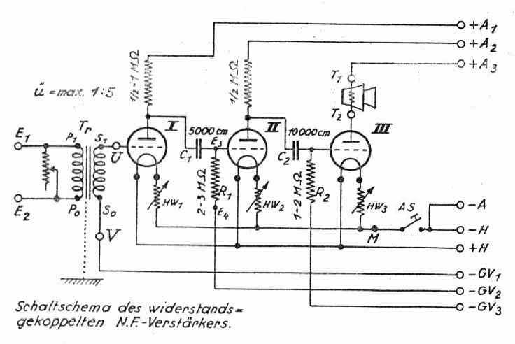
Teil 2) Des widerstandgekoppelten Verstärkers.
Eingangsseitig ergibt sich das gleiche Bild wie beim Verstärker mit Zwischenübertrager-Transformatoren :
Ein Eingangstransformator Tr mit einem Übersetzungsverhältnis von 1 : 4 (höchstens 1 : 5), dessen Primärseite wiederum durch einen veränderlichen Widerstand P von maximal 5 kOhm überbrückt ist.
Im Anodenkreis der ersten Röhre finden wir einen Widerstand von 0,5 - 1 Megohm.
Die Anode der ersten Röhre ist mit dem Gitter der zweiten Röhre über einen Kondensator von 5000 pF verbunden. Diese Röhre weist in ihrem Anodenkreis einen Hochohmwiderstand geringerer Ohmzahl (etwa 500 KOhm) auf, während der Übertragungskondensator C2 10 000 pF (10nF) haben soll.
Die Gitterableitungswiderstände führen zu den Anschlüssen GV1 und GV2 und sind verschieden dimensioniert; R1 etwa mit 2 - 3 Megohm und R2 mit 1 - 2 Megohm. - Das Experiment allein kann die günstigsten Werte ergeben, man muß deshalb schon mehrere Widerstände nacheinander einschalten und abhören, um sich endgültig festlegen zu können. Theoretische Berechnung ergibt meist andere Werte - sowohl für die Kondensatoren als auch für die Hochohmwiderstände in den Anoden-und Gitterkreisen, doch haben sich die hier angegebenen ungefähren Werte in der Praxis als bestens geeignet erwiesen.
- Immerhin sind hier theoretisch festgelegte Richtlinien gegeben, wonach sein soll:
Anodenwiderstand etwa 10 x innerer Widerstand der Röhre, Gitterwiderstand etwa 50 x innerer Widerstand der Röhre, Kopplungskondensator etwa 0,05 dividiert durch die Größe des Gitterwiderstandes (in Megohm) und in Mikrofarad ausgedrückt. Der Kopplungskondensator darf aber nicht kleiner sein als 350/D cm (D = Durchgriff), wobei der innere Röhrenwiderstand Werte von 150 KOhm nicht überschreiten soll. - Soviel zur theoretischen Berechnung...


Man kann auch den Eingangs-Übertragertransformator Tr weglassen, hier ist der Eingang durch die bei U und V vorzusehenden Buchsen anzuschliessen.

Eine weitere Möglichkeit, eine Verstärkungserhöhung zu erreichen ist die Parallelschaltung von zwei gleichen Röhren, wie im nächsten schematischen Schaltbild erkennbar ist.


Eine solche Zusammenschaltung zweier Röhren wurde damals meistens verwendet wenn keine starke Endröhre, wie RE 134, verfügbar war. Man nahm einfach zwei RE 084 oder RE 074 und schaltete sie wie beschrieben zusammen.

Beide Verstärkerarten - die mit oder die ohne Übertrager-Transformator, lassen sich ohne weiteres mittels der Eingangsbuchsen E1 und E2 an jeden beliebigen Kristall-Detektorempfänger anschließen sowie an jedes Audion, auch bei vor- oder nachgeschalteten HF-Stufen. Weiterhin läßt sich ein Mikrofon oder ein Schallplattenspieler anschließen. - Hierbei muß dann aber, wenn bereits eine HF-Stufe angeschlossen ist, ein Umschalter angebracht werden der vom HF-Teil zum Mikrofon oder Plattenspieler umschaltet.

Die Röhren.
Für den Verstärker eignen sich fast alle Röhren mit steiler Kennlinie. Für die Endstufe, also die letzte Röhre, ist auf jeden Fall eine Röhre mit einer hohen Emission zu verwenden, hierfür eignet, sich wie schon beschrieben, die RE 134 am besten, für die Vorstufe verwendet man am besten eine RE 084.
Die Anodenspannung ist für die erste Röhre immer niedriger als für die zweite zu wählen, sollte eine dritte Röhre angebaut werden (die genau so angeschlossen wird wie die zweite Röhre an die erste) muß diese dann auch eine höhere Anodenspannung bekommen als die zweite Röhre.
Für die Endröhre muß eine Anodenspannung von 150 - 200 Volt verwendet werden - anders ist ein qualitativ guter Klang nicht erreichbar.
Die Gittervorspannung richtet sich nach den verwendeten Röhren - hier ist im Röhrenhandbuch nachzulesen, wie hoch die jeweilige Gittervorspannung einzustellen ist.

Der Aufbau.

Kommen wir nun zum Aufbau des N.F.-Verstärkers.
Die Frontplatte braucht nicht aus Isoliermaterial zu bestehen, Holz genügt vollauf. Trotzdem achte man darauf, daß die metallischen Teile von Heizungsregler P und des Schalters AS keine Berührung mit dem Holz haben. Die Klemmleiste für die Batterieanschlüsse wird hinten an der Rückwand angebracht.
Die Buchsen E1 und E2 werden seitlich in einem Hartgummistückchen angebracht. Rechts in gleicher Anordnung die Lautsprecheranschlüsse T1 und T2.


- Im Bild ist ein dreistufiger Verstärker aufgebaut. Die Frontplatte beinhaltet, wie man in etwa noch erkennen kann, nur den Heizungsregler und den Schalter AS - man kann aber ohne weiteres alle Anschlußbuchsen - die für den Eingang und die für den Lautsprecher - auch auf die Frontplatte verlegen. - Sogar die Buchsen für die Stromversorgung könnte man auf die Frontplatte anbringen - doch, will man ein einigermaßen dem Zeitalter entsprechemdes Gerät aufbauen - man verwendet ja auch die Bauteile von damals, Röhren, etc., sollte man es so machen wie es damals gemacht wurde : die Buchsen für die Stromversorgung gehören nach hinten...

* * * * * * * * * * * * * * * * * * * * *

Wem diese Verstärkerschaltungen zu "altertümlich" sind, zu wenig Leistung bringen, der sollte sein Glück einmal auf der Seite "Verstärker" versuchen - dort findet er einfache Mono-Verstärker sowie Stereo-Verstärker mit kleinen, großen und größten Leistungen beschrieben, ebenfalls Vorverstärkerstufen mit Eingangsmischstufen für den Anschluß von Radio, Plattenspieler, CD-Player, Minidisk.. - mit aktiver Klangregelung und Loudness-Schalter.. - mit Wickeldaten für Netztransformator, für Ausgangsübertrager... und, und, und ..!

Zurück zur Hauptseite