2A3 Eintaktverstärker mit Tango- (ISO) Transformatoren
von Andreas Schwarz



Die japanische Firma ISO in Tokyo übernahm vor nicht allzulanger Zeit die Produktion der Firma Tango, welche für ihre sehr guten Übertrager bekannt war. Inzwischen ist das Angebot an Transformatoren so angewachsen, daß für die häufigsten Röhrenschaltungen ein passender gefunden werden kann.
Die Trafoherstellung erfolgt laut Händlerangabe jedoch auf Anforderung - aufgrund des fehlenden Lagerbestandes kann die Lieferung ca. 4 Wochen dauern.

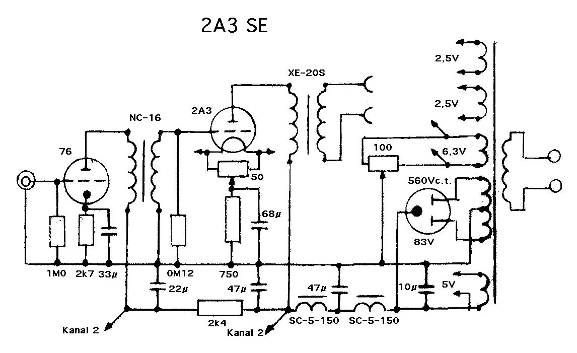
Grund für den Verstärkerbau war bei mir ein von der ehemaligen Fa. Tango stammendes Paar Zwischenübertrager NC-16: ein universell einsetzbares Teil mit dem Übersetzungsverhältnis von 1+1:2+2 und einer Strombelastbarkeit von 10mA je Primärwicklung.


Als Endröhre wählte ich die 2A3 - eine auch heute noch günstig erhältliche direkt geheizte Triode, mit der man eigentlich wenig falsch machen kann. Der Ausgangsübertrager ist der Tango XE-20S.


Als Arbeitspunkt für die Endröhre wurde die von RCA angegebenen 250V@60mA bei automatischer Gittervorspannungserzeugung gewählt.




Die Ansteuerspannung für die 2A3 in diesem Arbeitspunkt wäre knapp 85 Volt Spitze-Spitze, da ist eine induktive Anodenlast an der Treiberröhre, wie sie der Zwischenübertrager darstellt, vorteilhaft. Der Verstärkungsfaktor der Treiberschaltung nähert sich in diesem Fall dem ยต der Röhre an, so daß bei den heutigen hochpegeligen Quellen als Treiber eine einzelne Triode möglich wäre. Die Wahl fiel auf die 76, eine sehr lineare indirekt geheizte Triode. Alternativen wären die 56 mit 2,5 V Heizspannung, die 6P5 mit Oktalsockel, die 5C5, 5J5 , 6L5 (geringerer Heizstrom), die L63 oder die als Triode geschaltete 6SJ7. Als Arbeitspunkt wurde für die 76 der in den RCA-Manualen genannte mit 250V @ 5mA gewählt. In diesem Arbeitspunkt ist diese Röhre an der Grenze der zulässigen Verlustleistung von 1,25 Watt, während bei Verwendung der 6C5 oder der 6J5 ein höherer Strom möglich wäre. Zwar ist die Primärinduktivität des Zwischenübertragers bei geringeren Ruheströmen etwas höher, aber für den übertragbaren Frequenzbereich ist der Innenwiderstand der Treiberöhre von entscheidenderer Bedeutung - und da liegt die 6J5 besser. Der Zwischenübertrager ist bei Verwendung der 76 auf ein Übersetzungsverhältnis von 1:2 geschaltet, um den Verstärker mit dem Ausgangssignal eines CD-Spielers voll aussteuern zu können. Sekundärseitig ist der Übertrager mit 120 kOhm abgeschlossen.

Schaltbild des Verstaerkers
(Mit der Maustaste das Bild anklicken, es wird dann in voller Auflösung dargestellt.)

Das Netzteil versorgt beide Kanäle des Stereoverstärkers, als Gleichrichter dient eine 83V. Dieser indirekt geheizte Zweiweggleichrichter hat einen geringen Innenwiderstand und gegenüber direkt geheizten Röhren eine längere Anheizzeit, was kondensatorschonend ist.


Datengleich wären die 5V4G und die GZ32 mit Oktalsockel; einsetzbar wäre von den noch produzierten Gleichrichtern ebenso die GZ34 oder die 5U4G. Der Netztrafo wurde von Rainer Baule gewickelt; zwischen allen Wicklungen sind zusätzlich Schirmwicklungen angebracht.

Die Siebung der Betriebsspannung sollte bei Eintaktschaltungen mit Trioden besser als bei der Verwendung von Pentoden sein, da durch den geringeren Innenwiderstand der Triode ein höherer Anteil des Brummanteils am übertrager abfällt und somit am Ausgang erscheint. Im Verstärker erfolgt sie nach dem Ladekondensator durch ein zweistufiges LC-Filter.


Der Verstärkeraufbau erfolgte auf einem Hammond-Chassis von 10 mal 17 Zoll; für den Netztransformator fertigte ich eine passende Haube.


Vor der ersten Stufe ist ein dreistufiger Schalter zur Signalquellenumschaltung, ein Trennkondensator und ein kombiniertes Lautstärke- und Balancepotentiometer; letzteres ist sinnvoll, um die durch die fehlende Gegenkopplung von Röhrenparametern abhängige Verstärkung beider Kanäle auszugleichen.


Gruss, AndreasS



Zurück zur Hauptseite