Grid-Dipmeter - Grundlagen, Beschreibung und Bauanleitung
von Andreas Behnisch

1. Vorbemerkungen:
Diese Bauanleitung erhebt nicht den Anspruch, den aktuellen Stand der Technik zu repräsentieren, vielmehr beschreibt sie ein von mir vor längerer Zeit (ca 1982) gebautes Gerät, das im Laufe der Jahre gute Dienste geleistet hat.
Da das vorliegende Gerät mit Röhren bestückt ist, sind zum Betrieb relativ hohe Spannungen erforderlich, die entsprechende Vorsicht vorraussetzen!

2. Grundlagen:
Beim Dipmeter in seiner einfachsten Form handelt es sich um einen freischwingenden Oszillator, dessen Schwingkreisspule von aussen zugänglich ist, um andere Schwingkreise ankoppeln zu können.
Wenn der angekoppelte Kreis (=Prüfobjekt) auf der Schwingfrequenz des Dippers in Resonanz ist, verändert sich der Gitterstrom der Oszillatorröhre durch den Energieentzug (Dip), was mittels eines Meßgerätes angezeigt werden kann.
Die Frequenz wird auf der geeichten Skale des Dippers abgelesen, die Genauigkeit ist umso grösser, je loser die Ankopplung gemacht wird.
Zur Verwendung als Prüfsender kann man den Oszillator modulieren, vielfach wird dafür eine Glimmlampe eingesetzt, ich habe darauf verzichtet.

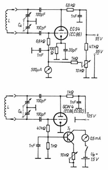
2.1 Schaltungsbeispiele (aus Rothammel, einfache Dipper):


3. Anwendungsbeispiele für Dipmeter:
a: Prüfung der Schwingkreisresonanz in Sendern, Empfängern, Tunern etc.
b: Verwendung als einfacher Prüfsender zum Überprüfen von Empfängerbaugruppen, ZF-Verstärkern etc.
c: Zur Feststellung der Schwingfrequenz von Oszillatoren
d: Zur Feststellung der Resonanzfrequenz von Antennen
e: Als Störsender für alle möglichen Zwecke (z.B drahtlose Telefone) (ist natürlich illegal!)

4. Die Schaltung des Mustergerätes:
Nach einigen, unbefriedigenden Versuchen mit Transistorschaltungen (zu wenig Pegel, Schwinglöcher, Probleme bei der Antennenmessung...) habe ich zur Röhrenschaltung (nächstes Schaltbild, weiter unten auf dieser Seite) gegriffen.

Das Gerät wurde mit Teilen aus der Bastelkiste aufgebaut:
Als Röhre dient eine Doppeltriode ECC81;
der Drehko ist ein alter Luftdrehko aus einem Radio,
das Meßgerät ein S-Meter aus einem geschlachteten Funkgerät und
das Gehäuse wurde aus Platinenmaterial zusammengelötet.
Die Spulen wickelte ich aus Cu-Lackdraht auf 19mm-PVC-Installationsrohr, als Spulenträger verwendete ich ein Stück Platinenmaterial, in das die Kontakte (Bananenstecker) eingelötet sind.
Selbstverständlich hängt der Aufbau von dem gerade verfügbaren Material ab:
Man könnte sich z.B den Netztrafo sparen, als Röhre eine UCC 85 nehmen und diese über einen Kondensator heizen..., ein Fertiggehäuse verwenden, einen Feintrieb und ein anderes Meßwerk einsetzen etc..., viele Wege führen zum Dipper! - Natürlich kann man ein solches Gerät auch kaufen, ein Transistordipper kostet z.Zt. ca. 250,-DM.

(Schaltung und Daten aus Rothammel Antennenbuch)






5. Fotos vom Mustergerät:



Ansicht von hinten, Deckel entfernt, deutlich sind Drehko & Spule zu erkennen.





Frontplatte mit Skala (360Grad) und Spulensatz Dipper aus kommerzieller Fertigung (Grundig).


6. Anwendung:
Das Meßgerät im Dipper wird auf eine bestimmte Markierung gesetzt(bei mir ehemalige "S9-Markierung"), dann wird die Spule dem zu untersuchenden Schwingkreis genähert (angekoppelt) und die Frequenzskala durchgestimmt.
An einer bestimmten Stelle wird das Meßinstrument ausschlagen, das ist die Resonanzfrequenz des untersuchten Schwingkreises.

7. Antennenmessungen:
Jede Antenne ist im Prinzip ein Schwingkreis und weisst bestimmte Resonanzstellen auf. Manchmal stellt sich das Problem, daß im Abstimmbereich des Senders keine "Stehwelle" zu bekommen ist, d.h. die Antenne ist zu kurz oder zu lang - aber was von beiden? Was sollte man tun?
Man koppelt am Speispunkt der Antenne das Dipmeter über eine Koppelspule (1 bis 2 Wdg.) an und dreht über die Skala. Auf diese Weise wird man irgendwo Resonanzpunkte finden und feststellen, ob diese Frequenz unter oder über der Betriebsfrequenz liegt.
Frequenz zu tief: Antenne ist zu lang, kürzen!
Frequenz zu hoch: Antenne zu kurz,verlängern!

Beispiel Mobilantenne


Zurück zur Hauptseite