Trioden - Eintakter mit EL 36
- von Hans Koch



Diesmal möchte ich als vorläufig letztes Projekt einer Serie von Kompakt-Verstärkern einen kleinen, aber feinen Stereo-SE Amp mit EL 36 Endstufen vorstellen. Der Verstärker enthält - wie auch die beiden bereits vorgestellten Verstärker mit RS 1003 bzw. STC PL 83 - kein Netzteil, sondern nur einen Ringkern-Heiztrafo. Dadurch können die Abmessungen relativ klein gehalten werden (24 cm Breite und 28 cm Tiefe). Ausserdem vermeidet man dadurch lästige magnetische Einstreuung in die AÜs vom Netztrafo.



Ich habe mir für die Verstärker-Serie ein Netzteil im gleichen Design gebaut mit 3 Ringkern-Trafos mit jeweils 50VA. Die Trafos haben jeweils 2 Sekundärwicklungen mit 55 V und 400 mA. Jede Wicklung hat eine Gleichrichterbrücke und separaten Ladeelko, sodass ich über einen entsprechenden Stufenschalter alle Spannungen zwischen 75V und 450V in Schritten von jeweils 75V abnehmen kann. Hinter dem Umschalter folgt dann die Siebdrossel und der Siebelko mit 470 MF bei 500V. Dieses Netzteil hat mir auch bei verschiedenen Testaufbauten schon gute Dienste geleistet.

Doch nun zu dem eigentlichen Verstärker:

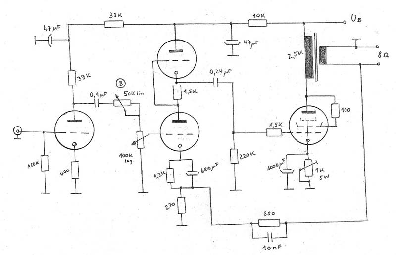
Die Vorstufe ist mit einer EC 88 bestückt, hier können aber auch andere Typen eingesetzt werden wie z.B. EC86 oder EF 86 (Triodenschaltung) usw.


Der Treiber ist eine 6SN7 in SRPP-Schaltung. Diese Bestückung sollte man nicht ändern, weil man sonst die Heizspannung "hochlegen" muss. Die 6SN7 hat eine Ufk von 200V, so dass die Heizung normal geerdet werden kann, was bei anderen Typen nicht ohne weiteres möglich ist.

Die Beschaltung des Endröhrensockels habe ich so vorgenommen, dass ohne Änderungen auch andere Endröhren verwendet werden können, z.B. 6L6, 5881, 6V6, KT 88, 6550 oder 6BQ6. Letztere ist der EL 36 sehr ähnlich bis auf die Steilheit und hat bei mir einen ausgezeichneten Eindruck hinterlassen. Ich habe den Sockelstift 1 als Masse-Stützpunkt genommen, bei Verwendung der 6BQ6 oder der 6550 ist das ohnehin richtig. Bei der EL 36 ist der Sockelstift 1 allerdings intern mit dem g2 verbunden. Um auch insoweit ohne Änderung der Sockelbelegung auszukommen, habe ich bei den Röhren den Stift 1 mit einem Mini-Drill und Schleifscheibe direkt am Plastiksockel weggeflext. Der Sockelstift 1 muss abgeflext werden, weil es sonst zu einem Kurzschluß des Schirmgitters über den 100 Ohm-Widerstand kommt und der dann abraucht.

Die Verbindung von Sockelstift 3 zum AÜ kann bleiben, da bei den Röhren mit Anodenkappe der Sockelstift 3 nicht beschaltet ist. Es muß dann zusätzlich nur die Anodenkappe mit dem AÜ verbunden werden.


Die AÜs haben eine Primärimpedanz von 2,5 kOhm. Die von Tom Schlangen für die EL 36 angegebenen Werte erscheinen mir etwas zu hoch. Bei einem Ri von etwa 850 Ohm sollte der AÜ max. 3 kOhm Primärimpedanz haben, um einen guten Kompromiß zwischen Ausgangsleistung und Verzerrungsfreiheit zu haben. Der Klirrfaktor nimmt zwar bei höheren Impedanzwerten noch weiter ab, allerdings auf Kosten der Ausgangsleistung.
Der Verstärker leistet mit EL36 in der Endstufe 2 x 5 Watt bei Ub 375V. Das sind dann an der Anode 360V, Uk ca. 50V und ca, 65 mA Ia.
Mit 6BQ6 kommen etwa 4,25 Watt raus bei etwas geringerer Eingangsleistung, Mit der 6550 lassen sich bei Ub 450V bis zu 8 Watt Ausgangsleistung erreichen.






Ob die EL34 ohne Änderung der Sockelbeschaltung geht, lasse ich mal offen. Bei der EL 34 liegt das Bremsgitter an Stift 1, sodass es dann direkt an Masse und nicht auf Katodenpotential liegt. Ich habe nicht ausprobiert, welche Auswirkungen das hat, weil ich zur Zeit keine EL34 zur Verfügung habe.
Die Messung des Frequenzgangs habe ich mit zwei EL36 durchgeführt. Die untere Grenzfrequenz liegt bei 10 Hz und die obere bei knapp 30 kHz. Der Amp. klingt sehr gut, ich war angenehm überrascht.




Übrigens habe ich mich für die Fotos bei der Röhrenbestückung vergriffen, da ist mir versehentlich eine PL36 untergekommen. Die PL36 läßt sich natürlich auch verwenden, wenn man die abweichenden Heizdaten berücksichtigt.
Und noch etwas. Die Grenzwerte für die EL36 sind in den Handbüchern sehr zurückhaltend, die Eingangsleistung von ca. 20 Watt in Triodenschaltung verkraftet die Röhre spielend.

Freundliche Grüße, Hans.

Zurück zur Hauptseite