Einkreis - Audion mit der EF12

von Michael Uhlmann



Hallo Jogi,
habe mal wieder ein Audion gebaut, mein neuer "Radiomann".
Auf der Suche nach einer Verwendung meiner ersteigerten EF12 ist dieses Gerät entstanden.


Ist zwar nicht ganz stilecht. Eine Kombination von Design der Zwanziger mit Röhre und Schaltung der Fünfziger, sowie modernen Bauteilen von Heute.
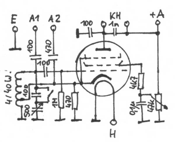
Von der Schaltung her ist es ein ECO-Audion:


Der Widerstand an der Kathode ist nicht notwendig, so arbeitet die Röhre aber auch mit 2-poligen Spulen (natürlich ohne Rückkopplung).
Die Röhre ist eine EF12 (aus DDR-Fertigung), von der ich den Abschirmlack entfernt habe:


Für die Flachspule habe ich den neuen Kunstoffspulenkörper von Gerd Reinhöfer verwendet. Mit dem Schalter MW/KW wird ein Verkürzungskondensator für Kurzwelle zugeschaltet.
Mit der KW-Spule muß ich noch etwas experimentieren. Mit dem rechten Schalter kann von interner Batterie auf externe Stromversorgung umgeschaltet werden. Ich habe 4 x 1,5 V für die Heizung und 2 x 9 V als Anodenbatterien, die mit den Heizungsbatterien in Reihe liegen und somit 24 V Anodenspannung ergeben.
Das Gehäuse habe ich aus Schneidbrettchen hergestellt und die Deckplatte ist aus Pertinax:


Viele Grüße,
Michael Uhlmann

Zurück zur Hauptseite