5+1 Home Cinema Verstärker in Röhrentechnik
von Peter Schuld




~~~~~~~~~~~~~~~~~~~~~~~~~~~~~~~~~~~~~~~~~~~~~~~~~~


VORAB, ein Hinweis von mir, Jogi:
Leider erhielt ich nur die hier gezeigten Fotos. Normalerweise bin ich nicht gewillt mit Fotos, die so wenig Aussagekraft beeinhalten, eine Seite zu gestalten. Es sollten zumindest Detailaufnahmen vorhanden sein, sowie Fotos die das Gerät geschlossen zeigen und, nach Möglichkeit, in eingeschaltetetem Zustand. - Und, klar, auch Fotos die die Unterseite mit der Verdrahtung zeigen.
- Leider besitzt Peter keine Digitalkamera, er machte diese Fotos mit einem normalen Fotoapparat und sandte mir die Papierbilder zu. Dieses Projekt ist aber so einmalig (wie ich meine), dass ich von diesem Grundsatz abweiche, zumal mir Peter zusicherte noch weitere Fotos anzufertigen.


~~~~~~~~~~~~~~~~~~~~~~~~~~~~~~~~~~~~~~~~~~~~~~~~~~


5+1 Home Cinema Verstärker in Röhrentechnik

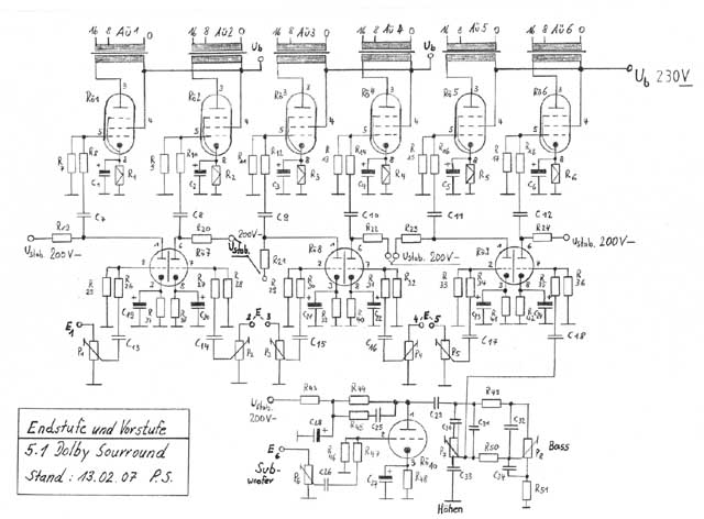
Die Endstufe wird in Eintakt-A aufgebaut, zum Einsatz kommen pro Kanal je eine halbe E88CC und eine 6V6GT. Im Gegensatz zu der E88CC kann auch die ECC88, PCC88 oder ECC85 Verwendung finden. Vor dem Subwoofer-Eingang wird noch ein Klangregelbaustein eingesetzt, der mit der Röhre EC86 bzw. E86C bestückt ist.

Als Ausgangsübertrager wird der 100V 10W Tonfrequenzübertrager von Conrad-Elektonik eingesetzt. Dieser wird an der 2,5-Watt-Anzapfung abgegriffen, was demnach ein Ra von 4 kΩ zur Folge hat und der 6V6GT sehr Nahe kommt (Ra, lt. Franzis-Tabelle, 5 kΩ).


Schaltung der Vor- und Endstufen:
Schaltbild Vor- und Endstufe

Eingangsschaltung:


Umschalter von Dolby 5.1 auf 2-Kanal-Stereo:
Umschalter von 5.1 auf 2.0

(Die Stücklisten finden sich in einem PDF-File am Ende dieser Seite)

Schaltung Aussteuerungsanzeigen:
Aussteuerungsanzeige
(Mit der Maustaste das jeweilige Schaltbild anklicken, es wird dann in voller Auflösung dargestellt.)

Verwendung findet das 5+1 Home Cinema Lautsprecher-Set der Fa. Mivoc, Typ HXA 5000, deren Subwoofer sowohl aktiv als auch passiv betrieben werden kann (Bezugsquelle: Conrad-Elektronik).

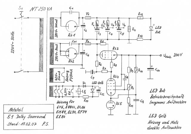
Eine Besonderheit stellt das Netzteil dar, das ohne Halbleiterdioden und Transistoren, komplett mit Röhren aufgebaut ist, was demnach eine Einschaltverzögerung überflüssig macht.
Auffällig ist die PY500A, eine Boosterdiode aus der damaligen Farbfernsehtechnik, die als Einweggleichrichter zur Anodenspannungserzeugung für die Endröhren Verwendung findet.
Die stabilisierte Spannung für die Vorstufe und Aussteuerungsanzeigen wird auf 200 Volt eingestellt.

Schaltung des Netzteils:
Netzteil-Schaltung
(Mit der Maustaste das Schaltbild anklicken, es wird dann in voller Auflösung dargestellt.)

Der Netztrafo ist eine Sonderanfertigung der Fa. BTB-Elektronik.
Die Netztrafo-Daten: Prim. 230V
Sek. 1 - 280 V 400 mA - 112 VA Sek. 2 - 280 V 80 mA - 22,4 VA Sek. 3 - 42 V 500 mA - 21 VA Sek. 4 - 6,3 V 8 A - 50,4 VA
Gesamt = 205,8 VA
Zu den Stücklisten




Gruss und viel Freude beim nachbauen und betreiben dieser Anlage,
Peter Schuld

Zurück zur Hauptseite