UKW-Empfänger mit Ratiodetektor für Niedrigspannungsröhren
von Hans Schulz



Plant man ein Niederspannungsradio für UKW, so ergibt sich leider neben dem großen Vorteil der Benutzung ungefährlicher Spannungen der Nachteil, dass Niederspannungsröhren eine kleinere Steilheit und geringere Verstärkung haben gegenüber Hochspannungsröhren. Dazu kommt, dass im UKW-Bereich die geringen Eingangswiderstände die Verstärkung zusätzlich herabsetzen. Das führt zur Planung einer zusätzlichen Verstärkerstufe im Zf-Bereich oder im NF-Bereich.


Ich habe mich für eine weitere ZF-Stufe entschieden. Auch die üblichen ohmschen Außenwiderstände muss man wegen des Gleichspannungsabfalls irgendwie umgehen. Es handelt sich um ein Gerät das mit ungefähr 14 V Spannung 27 mA Stromstärke auskommt. Ich habe einen Kopfhörer von 1200 kΩ angeschlossen.
Die verwendeten Niederspannungsröhren stammen aus meiner Bastelkiste. Man kann sie bei der Firma "BTB-Elektronik" kaufen.
Es besteht aber durchaus auch die Möglichkeit, "UKW-Hochspannungsröhren" bei niedrigen Spannungen zu betreiben. Ich möchte hierzu auf das Buch "Röhren-Projekte von 6 bis 60 V" von Burkhard Kainka verweisen, in dem geeignete "Hochspannungsröhren" herausgestellt werden und eine Messschaltung gegeben wird, mit der man selbst vergleichende Steilheitsmessungen an Röhren vornehmen kann.
Bei Verwendung anderer Röhren oder anderer Spannungen muss man vielleicht die Widerstandswerte experimentierend verändern, um zu einem Optimum der Lautstärke bei geringster Verzerrung zu kommen.
Allgemein sollte man beachten, dass bei der Vorstufe, Oszillator und Mischstufe alle Hf-führenden Leitungen kurz gehalten werden ( möglichst nicht länger als 3 cm ), damit die Stufen funktionieren und es nicht zu Verzerrungen und Verstärkungsverlusten kommt. Der Anschluss von Kondensator und Spule eines Kreises sollte möglichst direkt an der Röhrenfassung erfolgen. Es sollten ebenfalls alle Masseleitungen einer Stufe sternförmig an einem Massenpunkt zusammenführen. Die einzelnen Massenpunkte werden dann ihrerseits wieder sternförmig verbunden.

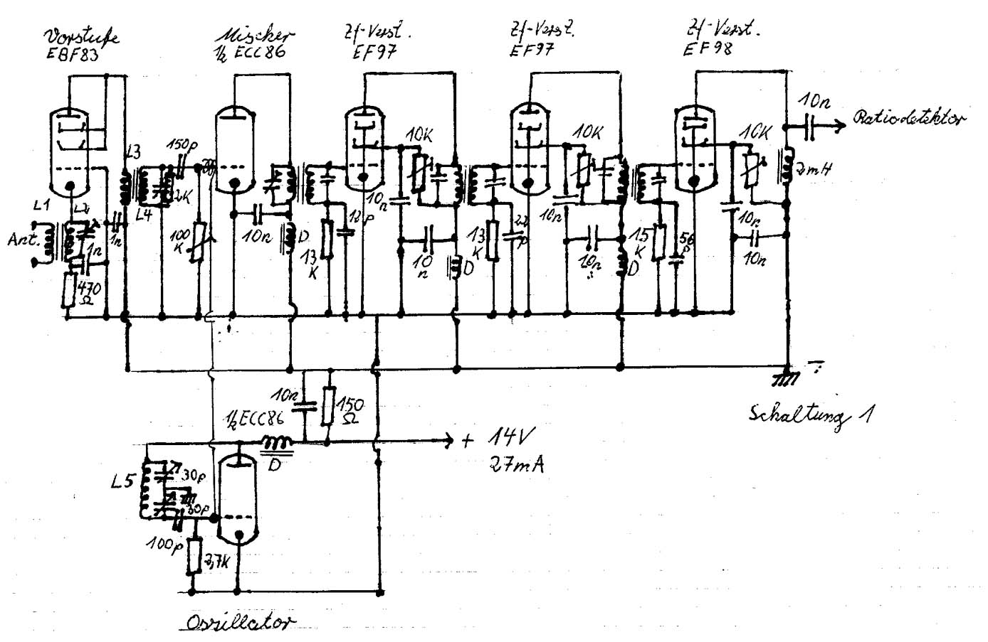
Schaltung 1
(Mit der Maustaste das Bild anklicken, es wird dann in voller Auflösung dargestellt.)

Die Vorstufe ( siehe Schaltung 1 ) hat die Aufgabe, das Eingangssignal zu verstärken und die Oszillatorschwingungen von der Antenne zu trennen. Hier liegt eine Gitterbasisschaltung vor, bei der das Gitter auf Massepotential liegt, und die eine gute Trennung von Eingangs und Ausgangskreis ergibt, weil die Kapazität zwischen Anode und Kathode gering ist. Die Gittervorspannung wird durch einen Kathodenwiderstand erzeugt. Ich habe die EBF 83 verwendet, wobei die Pentode als Triode geschaltet wurde, weil ich keine andere Röhre zur Hand hatte, wie etwa die EF 97. Der kleine Eingangswiderstand, der sich bei der Gitterbasisschaltung ergibt, führt zu einer starken Bedämpfung des Eingangskreises, weshalb eine Abstimmung des Kreises auf die Mitte des UKW-Bereiches mit Hilfe des Trimmers ausreicht. Der Eingangskreis besteht aus einem grünem Amidon Rundkern ( AL = 15, T37-12 bei Reichelt), Antennenspule L1 : 2,5 Wdgn. 0,5 CuL, Kathodenspule L2 : 3,5 Wdgn. 0,5 CuL und einem Trimmer mit 30 pF. Die Spule L1 wird zwischen die Windungen von L2 gewickelt.
Die zwei Trioden der ECC 86 werden für den Oszillator und den Mischer verwendet. Der Oszillatorschwingkreis enthält einen grünen Amidon Ringkern ( AL = 15, T37-12 bei Reichelt ), auf den 7,5 Windungen CuL-Draht (Spule L5 ) aufgewickelt werden, und zwei in Reihe geschalteten Drehkondensatoren von 30 pF.
Bei der Oszillatorschaltung handelt es sich um eine kapazitive Dreipunktschaltung ( Colpitts-Schaltung ). Die Schwingkreiskapazität ist durch zwei Kondensatoren aufgeteilt, wobei der Aufteilungspunkt mit der Kathode verbunden ist.
Die Spannung wird also kapazitiv aufgeteilt und der Rückkopplungsfaktor k ist durch das Verhältnis der beiden Kapazitätswerte gegeben.
Die Ankopplung des Oszillators an den Mischer geschieht über einen CuL-Draht, dessen eines Ende an die Gitterleitung des Oszillators gelötet wird und dessen anderes Ende mit ein paar Windungen um die Gitterleitung des Mischers gewickelt wird.
In der Anodenleitung des Oszillators liegt eine UKW-Breitbanddrossel ( erhältlich bei Conrad, Best.-# 53567233 ). In den Schaltungen wurde diese Drossel immer mit dem Buchstaben D gekennzeichnet. Den Gitterableitwiderstand und den Gitterkondensator sollte man nicht zu groß wählen, damit kein Überschwingen mit dem typischen periodischen abreißen der Schwingungen auftritt. Hat man keinen geeigneten Drehkondensator mit zwei Plattenpaketen zur Verfügung, kann man die Masseverbindung zwischen den Kondensatoren auch fortlassen und mit einem 20 pF Drehko arbeiten. Der hochfrequente Nullpunkt wird dann durch Röhrenkapazitäten bestimmt.
Im Mischer werden das Eingangssignal und die hier niedrigere Oszillatorfrequenz zur Zwischenfrequenz von 10,7 MHz additiv gemischt. Im Anodenkreis liegt ein 10,7 MHz-Bandfilter ( 45.11 von Reinhöfer Electronic ).


Der Eingangsschwingkreis wird durch einen braunen Ringkern ( Amidon AL = 6,5 ; T44-0 bei Reichelt ) gebildet, auf den die Gitterkreisspule L4 aus 9,5 Windungen und die Koppelspule L4 aus 5,5 Windungen mit 0,5 CuL-Draht gewickelt sind.


(Das Bild zeigt oben den Oszillator, unten den Mischer)

Durch einen Bedämpfungswiderstand von 2 kΩ kann man den Kreis noch breitbandiger machen.
Die Mischstufen können die EF 97 oder EF 98 enthalten und sind mit den Bandfiltern 45.11 für 10,7 MHz der Firma Reinhöfer Electronic bestückt.

Der UKW-Rundfunk benutzt die Frequenzmodulation. Der Ratiodetektor wandelt bei der Demodulation die Frequenzänderung des FM-Eingangssignals in eine Amplitudenänderung um. Am Ausgang des Ratiodetektors entsteht eine NF-Wechselspannung, deren Polarität und Amplitude sich proportional zur Frequenzvariation des Eingangssignals ändert. Gleichzeitig begrenzt der Ratiodetektor Amplitudenstörungen.

Am Beispiel der Schaltung 3 möchte ich nun vereinfachend erklären, wie ein Ratiodetektor wirkt.

Schaltung 2 und 3
(Mit der Maustaste das Bild anklicken, es wird dann in voller Auflösung dargestellt.)

Der Ratiodetektor besteht aus zwei lose magnetisch gekoppelten Schwingkreisen mit L10 und L11 eines Bandfilters. In der Sekundärspule L11 entstehen zwei Spannungen UL und UP, wobei die eine durch Induktion erzeugt wird und die andere durch direkte Einspeisung der Primärsignalspannung über den Widerstand 1,5 kΩ. Da die Bandfilterspulen auf die Zwischenfrequenz von 10,7 MHz abgestimmt sind, ist in diesem Fall die induzierte Trägerfrequenzspannung UL um 90 Grad phasenverschoben zur direkt eingespeisten Spannung UP.
Typisch für die Frequenzmodulation ist, dass die Frequenz um die Trägerfrequenz schwankt. Dabei vergrößert oder verkleinert sich entsprechend die Phasenverschiebung zwischen den oben erwähnten beiden Spannungen. Dies ist bedingt durch die sich ändernden Wechselstromwiderstände von Spule und Kondensator des Sekundärkreises. Durch die symmetrische Aufteilung der Sekundärspule des Bandfilters in zwei genau gleiche Teilspulen wird die Sekundärspannung UL in zwei gleichgroße Teilspannungen UL1 und UL2 aufgeteilt.
An den Kondensatoren C1 und C2 entstehen durch die Dioden bei geeigneter Polung der Signalhalbwellen gleichgerichtete Spannungen UC1 und UC2. UC1 ergibt sich durch geometrische Addition von UP und UL1, UC2 als geometrische Summe aus UP und UL2.
Die Spannung UC1 verursacht einen Strom I1 in dem Stromkreis aus C1, R1, R3 und Masse, die Spannung UC2 einen Strom I2 durch R2, R3 und Masse. Durch R3 fließen also die Ströme I1 und I2 in entgegengesetzte Richtung.
Der Kondensator C3 lädt sich auf eine Summenspannung von UR1 und UR2 auf, die relativ konstant bleibt. Die Ströme I1 und I2 sind bei mittleren Frequenz 10,7 MHz gleichgroß, so dass am Widerstand R3 der entstehende Spannungsabfall Null ist. Bei negativer Polarität der Signalhalbwellen sperren die Dioden. Die Ströme durch die Widerstände werden nun durch teilweise Entladung des kondensators C3 aufrechterhalten bis zum nächsten Polaritätswechsel.
Man sieht also, dass die Größe von C3 und die Größe der Widerstände R1 und R2 zueinander passen müssen. Wählt man C3 zu klein oder geht durch Alterung die Kapazität zurück, können sich Lautstärkeverlust und Verzerrungen ergeben.
Kommt es entsprechend der Modulation zu Frequenzveränderungen, wird UC1 z.B. um einen bestimmten Betrag größer und UC2 um den gleichen Betrag kleiner. Dadurch ändern sich die Ströme I1 und I2 durch R3 um gleiche Beträge in entgegengesetzte Richtung. Der an R3 durch diese Ströme sich ergebende Spannungsabfall schwankt gemäß der Modulation.
Die Niederfrequenzspannungen an R3 kommen also letztlich durch die Phasenbeziehungen der Schwingungen zwischen Primärkreis und Sekundärkreis eines Bandfilters zustande.
Der Kondensator C3 mit großer Kapazität wird auf die Spannung UC1 + UC2 aufgeladen. Vergrößert sich nun kurzzeitig die Amplitude der Zwischenfrequenzschwingung, treten also Störspannungsspitzen am Eingangskreis auf, fließt ein stärkerer Anodenstrom durch die Dioden und den Elaktrolytkondensator und der Schwingkreis wird durch die Widerstandsverkleinerung stärker bedämpft, so dass die Spannungsüberhöhung eliminiert wird. Wird die Amplitude kleiner, sperren die Dioden infolge der Spannung UC2 von C2 und der Schwingkreis wird weniger bedämpft. Der Elko hilft also auch mit, etwaige Amplitudenmodulationen zu unterdrücken.
Der Ratiodetektor wirkt als Demodulator und Beseitiger für Amplitudenstörungen (Begrenzer).
Der Begriff "Ratio" kommt vom lateinischen Wort ratio, was u.a. Verhältnis bedeutet. Weil es hier auf das Verhältnis der Größe zweier Spannungen ankommt, hat man den Namen Ratiodetektor für diese Demodulationsmethode gewählt. Die Summenspannung an R1 und R2 bleibt konstant, das Verhältnis zwischen beiden Spannungen an R1 und R2 ändert sich im Rhythmus der Modulation der Frequenzen.

Wer sich für genauere Erklärungen der Vorgänge bei lose gekoppelten Bandfiltern und bei den verschiedenen Demodulationsmethoden interessiert, dem sei das Buch von F. Bergtold "Die große UKW-Fibel" empfohlen, das man antiquarisch noch erhalten kann.
Für den Ratiodetektor wurden die Röhren EABC 80, HABC 80, PABC 80, UABC 80, 6T8 entwickelt, die sich in den Heizdaten unterscheiden. Es handelt sich um Hochspannungsröhren mit drei Dioden und einer Triode. Zwei niederohmige Dioden lassen sich für die FM-Demodulation benutzen, die dritte Diode ist höherohmig und ist zur AM-Demodulation.
Die Triode verstärkt die Niederfrequenz.
Meine Versuche zur Niederfrequenzverstärkung mit der Triode der EABC80 brachten bei niedrigen Spannungen leider kein positives Ergebnis. Zur FM-Demodulation eignen sich auch die wesentlich billigeren Doppeldioden EAA 91, EB 41 und EB 91.
Beim Ratiodetektor gibt es sehr viele Schaltungsvarianten, die sich u.a. durch den Masseanschluss unterscheiden.

Allgemein findet man zur Einzelteilbemessung folgende Angaben :
Der Elektrolytkondensator sollte einen Wert zwischen 3 und 10 Mikrofarad haben. Die Zeitkonstante T = R * C, das heißt, die Zeit, in der die Kondensatorspannung auf 1/3 des Ausgangwertes gesunken ist, sollte ungefähr 0,25 s betragen, mit R = R2 + R3.
Die Primärspannung Up lässt sich auch über eine Zusatzspule L7 ( siehe Schaltung 3 ) induktiv der Sekundärspule zuführen, die direkt auf die Primärkreisspule L6 gewickelt wird. Für die Windungszahl von L7 gilt allgemein L7 / L6 = 0,25 bis 0,5.

Es gibt verschiedene Möglichkeiten zu einem Ratiodetektorspulensatz zu kommen :

1. Kauf eines Ratiofilters z.B. bei der Firma Reinhöfer ( Nr. 45.12 bei www.roehrentechnik.de ).

2. Will man die Ratiofilterspulen selber wickeln, gibt es mehrere Möglichkeiten. Ich selbst habe zwei erfolgreich ausprobiert. Die Anregung habe ich bei der Zerlegung von zwei alten Schwarzweißfernsehern gefunden, wo sie im Tonteil verwendet wurden, allerdings für eine Frequenz von 5,5 MHz. In Versuchen habe ich brauchbare Windungszahlen für bei Conrad erhältliche Spulenkörper mit einem AL-Wert von 5 nH mit Ferrit F 100b (Bestell-Nr. 51 66 51-33 ) herausgefunden. Wichtig ist beim Ratiodetektor die lose Kopplung der Bandfilterspulenkreise.

2.1. symmetrischer Ratiodetektor ( siehe Schaltung 3 )
Für die Ratiodetektorspulen benötigt man 4 der obigen Spulenkörper mit Kern. Zwei Spulenkörperfüße klebt man mit Zweikomponentenkleber zusammen, nachdem man die überstehenden Anschlüsse abgefeilt hat. In diesen Körper schraubt man 4 Kerne so ein, dass sie sich berühren und auf einer Seite ein Kern zur Hälfte noch herausragt. Auf diese Kernhälfte schraubt man das obere Ende eines dritten Plastikspulenkörpers. Zwischen den beiden Spulenfüßen entsteht so ein längeres Rohr, auf dem man beim Justieren die Spule L10 verschieben kann. ( Siehe Abbildung ).
Die Spule L11 wird nun bifilar gewickelt, damit zwei gleiche Spulenhälften entstehen. Man wickelt zwei 0,5mm CuL Drähte mit 7 Windungen nebeneinander gleichzeitig um das Plastikrohr, nachdem man die Enden am Spulenfuß festgelötet hat. Die Spule hat also insgesamt 14 Windungen.
Nun wird das untere Ende des Drahtes der einen Spulenhälfte mit dem oberen Drahtende der anderen Spulenhälfte verlötet. Das ergibt den Mittelabgriff von Spule L11. An die beiden anderen Drahtenden lötet man einen Trimmer von 100 pF.
Die Spule fixiert man mit Klebstoff auf dem Spulenkörper und gleicht mit einem Dipmeter den Schwingkreis auf 10,7 MHz mit Hilfe des Trimmers ab. Bei mir ergab sich eine Kapazität von 75 pF. Ohne Messgerät gleicht man nach Gehör ab ( größte Empfindlichkeit, Verzerrungsfreiheit ). Zwischen beide Spulenfüße wickelt man 14 Windungen für Spule L 10 und fixiert die Windungen mit Klebstoff so untereinander, dass die Spule auf dem Rohr noch verschiebbar bleibt.
Die Spulenkörper kann man auf ein Montagebrettchen kleben. Mit dem Trimmer gleicht man wieder auf 10,7 MHz ab. Beim Justieren verschiebt man die Spule vorsichtig auf dem Spulenkörper bis man den Kopplungsgrad zwischen beiden Spulen für größte Empfindlichkeit und geringste Verzerrungen erreicht hat.
Die Abbildung zeigt den ganzen Spulensatz.


(Das Bild zeigt die symm. Ratiodetektorspulen nach Schaltung 3, links Spule L11)

Mit dem Poti von 2,5 kΩ stellt man über die Höhe des Eingangssignals ebenfalls die Empfindlichkeit ein. Liegt der Masseanschluss zwischen C1 und C2, wie in der besprochenen Schaltung, spricht man von einem symmetrischen Ratiodetektor. Will man die Triode der EABC 80 ausnutzen, muss man den Masseanschluss an eine Seite legen (unsymmetrischer Ratiodetektor, Schaltung 2 ).

2.2 Eine weitere Variante zeigt einen unsymmetrischen Ratiodetektor mit induktiver Zuführung der Primärspannung über eine Hilfsspule L7. Es werden drei Spulenkörper mit Kern von Conrad im Mittenabstand von je 1 cm nebeneinander in einer Reihe auf eine Trägerplatte geklebt, nachdem man die Lötstifte auf der Unterseite abgefeilt hat.


Auf den einen der beiden äußeren Spulenkörper wickelt man 28 Wdgn. 0,3 CuL Draht (L6), auf den anderen 47 Wdgn. 0,2 CuL Draht (L9).
Auf den mittleren Körper werden 17 Wdgn. O,2 CuL Draht bifilar aufgewickelt und, wie in 2.1 beschrieben, verlötet.
Spule L8 hat also 34 Windungen. Alle Spulen haben gleichen Wicklungssinn. Die mittlere und die rechte Spule werden nun parallelgeschaltet und bilden mit einem Kondensator von 10pF den Schwingkreis aus L8, L9 und C. Die rechte Spule ergibt mit einem Kondensator 33 pF den Anodenschwingkreis L6/C. Auf diese Spule wickelt man nun weitere 6 Windungen für Spule L7.
Die Schwingkreise werden mit den Kernen mit Hilfe eines Dipmeters zunächst grob auf eine Frequenz von 10,7 MHz eingestellt. Nach Inbetriebnahme kann man einen Sender einstellen und durch vorsichtiges Verdrehen der Spulenkerne ein Abgleich nach Gehör auf optimale Empfindlichkeit und Verzerrungsfreiheit vornehmen.
Versuche mit kleineren Windungszahlen bei den Spulen bis zu 14 Windungen, d.h. anderen L/C - Verhältnissen, brachten immer schlechtere Ergebnisse.
Stehen Messsender zur Verfügung, lässt sich sicher ein genauerer Abgleich des Ratiodetektors erzielen, als es nach Gehör möglich ist.

Weitere Schaltungsvarianten für Ratiodetektoren findet man in der Röhrenbude unter dem Thema "UKW-Vorsatzempfänger" und "Oldies", bei denen man teilweise nur die Halbleiterdioden durch Röhrendioden ersetzen kann, wenn man sie nachbauen will. Auch "Das große Röhrenhandbuch" von L. Ratheiser bietet zahlreiche Schaltungsvarianten.

Wer einen Hochspannungsempfänger zusammengelötet hat, kann die Detektorstufe natürlich auch dort anschließen.
Ich habe zunächst den Mischer mit der ECC 86 zusammengelötet. An den Ausgang habe ich ein Prüfaudion für 10,7 MHz mit Nf-Verstärkung angeschlossen. Als Oszillator habe ich zunächst das Dipmeter verwendet. Nach Optimierung der Schaltung habe ich die ZF-Stufen nacheinander aufgebaut, mit Hilfe des Dipmeters die Bandfilter abgeglichen und mit dem Prüfaudion optimiert. Die Schirmgitterpotis wurden dabei auf größte Empfindlichkeit hin eingestellt (ungefähr 7 V ). Nun habe ich die Oszillatorschaltung hinzugefügt und dann die beiden Ratiodetektorschaltungen ausprobiert.
Dipmeter haben meist keine große absolute Genauigkeit bezüglich der eingestellten Frequenzen, was in diesem Fall auch nicht so wichtig ist. Entscheidend für die Empfindlichkeit und Verzerrungsfreiheit ist, dass die Schwingkreise der ZF-Bandfilter und des Ratiodetektors auf dieselbe Resonanzfrequenz eingestellt werden.
Hierbei hilft auch ein nachträglicher Feinabgleich nach Gehör.

Auf Anraten meines Freundes Thomas Adel, der dankenswerterweise u.a. die Digitalfotographien gemacht hat, habe ich zunächst keine Metallabschirmung ins Gehäuse aus Leimholzbrettresten und einer Sperrholzplatte ( 31x19x 9cm ) geklebt, um Lichtreflexionen zu vermeiden.
Um Abstrahlungen der Oszillatorschwingung zu vermeiden, sollte man aber unbedingt für irgendeine Abschirmung sorgen.
Die Schaltung ist geeignet für Freunde der Niedrigspannungsröhren, die Lust auf etwas umfangreichere Schaltungen haben und genügend Geduld für den Abgleich der einzelnen Schwingkreise, da im FM-Bereich die Schaltkapazitäten stärker zu den Kreiskapazitäten beitragen, und so ein nachträglicher Kreisabgleich wünschenswert ist.

Gruss, Hans Schulz

Zurück zur Hauptseite