| Gerds Darling | |
Nun, wie soll ich anfangen? Am einfachsten ist es der Reihe nach.
Nach dem Röhrenstammtisch im Oktober 2004 in Mülheim, zu dem ich leider nicht kommen konnte,
stellte Jogi Bilder ins Internet. So war es schön, ein paar
Bilder vom Stammtisch auf seinen
Seiten zu sehen. Sowohl die Leute, die man ja meist nur aus dem Forum per Namen kennt, als auch ein paar
interessante Objekte hatte Jogi ins Netz gestellt. Und Gerd, von der Sachsen-Thüringen-"Fraktion", hatte den Rohbau
einer Darling-Variante mit. Sah sehr interessant aus. Irgendwann ein paar Tage später gab es Bilder des fertig verdrahteten
Verstärkers im Forum zu sehen. Und noch ein paar Tage später war ich dann bei
Gerd Reinhöfer, um mir
Trafos abzuholen, die er für mich gewickelt hatte. Natürlich wollte ich nun den Darling sehen und war
platt! Die Bilder waren schon beeindruckend, aber in Natura sah Darling wirklich Klasse aus.
Da stimmen alle Proportionen. Und das Ding spielte verdammt gut in Gerds Büro, um einiges besser
als der Zwerg
(Gerds erster Platz beim Preisausschreiben). Na gut, der Zwerg hatte ja auch andere Zielsetzung. |
|
Röhren gezogen, Darling gut verpackt und wieder nach Hause gedüst. |
|
Zu Hause angekommen, Verstärker ausgepackt, wo nun abstellen in aller Eile? Ja selbst das Fensterbrett reicht aus! Röhren vorsichtig gesteckt und Probeglühen. Alles war in Ordnung. Nun war erst einmal Pause angesagt, denn anderes (Job) war zu tun. |
|
Und dann, endlich, spät abends konnte ich Musik hören. Zuerst mein AKG K1000 Kopfhörer
angeschlossen. Eigentlich sollte es nicht gut funktionieren. Die Impedanz des Hörers ist 120Ω, der Kennschalldruckpegel
mit 74dB/mW im Vergleich zu
"normalen" Kopfhörern sehr gering. Und doch klang es sehr gut und war laut genug! Ich habe bis jetzt noch nicht gerechnet,
warum es trotzdem laut genug ist. Ich habe einfach ein paar Klassik-CD's eingelegt und komplett!! durchgehört. Weit
nach Mitternacht habe ich dann noch meine "alten" BR25 Boxen aus dem Keller geholt, angeschlossen und dann
eine CD (Rock und Folk) nach der anderen eingelegt, ohne viel zu zappen. Einziger Wermutstropfen, ich konnte
aufgrund der fortgeschrittenen Stunde nicht so laut hören, wie ich es gern hätte. Irgendwann hat die "Vernunft"
gesiegt und ich habe die Hörsession beendet. Es dämmerte bereits und der Rotwein war auch alle! Fazit: Gerds Darling klingt einfach Klasse! Ich werde mir das "Ding" auch bauen. |
|
Der Morgen danach, sehr schön zu sehen, wie kompakt der Verstärker ist. PS.: Ich habe es, Gerd führte es mir auch in seinem Büro vor, ausprobiert: Lautstärke voll aufgedreht und CD-Player im Pause-Modus, kein Rauschen oder Brummen ist in der Box zu hören. Leider ist mir der Wirkungsgrad der BR25-Box nicht bekannt. Aber man kann viel "Krach machen", die 2-Wege-Boxen dürften also im "normalen" Bereich liegen. |
|
Zwei Bilder, links die Größe im Vergleich zu einer LP und CD. Ich habe schon, als ich meine Trafos holte, versucht, Gerd zu einem Bausatz zu überreden. Na ja, so richtig will er (bis jetzt) an einem Bausatz nicht ran. Aber das würde, mbMn, für einige Bastler und Musikhörer hilfreich sein, eine gefräste Grundplatte, das mechanische Zubehör und die AÜ's und Trafos aus einer Hand zu beziehen. Die 717A ist schon etwas schwieriger zu bekommen, allerdings ist der Nachfolger 6AK5 / EF95 noch gut verfügbar. Sieht dann zwar nicht mehr ganz so schnuckelig (oh Gott, was für ein Wort für ein Verstärker) aus, aber die elektrischen Daten sind identisch. Die 1626 ist auch noch recht gut verfügbar. Gerd hat ein paar wenige am Lager. Zumindest murmelte er etwas von: vielleicht, limitierte Auflage.......Auf jeden Fall wird man bei ihm die AÜ's, den Trafo, Lötstützpunkte, Kondensatoren und so einiges anderes beziehen können. Mir reicht das schon, denn den Rest will ich selbst machen... |
|
Inzwischen hatte ich, was ich bereits über den Darling schrieb, Gerd gemailt. Irgendwie kam es zu Holm Tiffe (die Sachsen - Thüringen Fraktion??), der mir eine Seite im www nannte. Unter anderem findet man dort auch Daten zur BR25. Mit 86 dB Kennschalldruck ist die Box nicht überagegend laut, aber auch nicht so leise wie viele der heutzutage angebotenen Zweiwege-Boxen. Die Box wurde, so wie ich weiß, in Geithain entwickelt und dann bei Statron Fürstenwalde gefertigt. |
|
Inzwischen hatte ich natürlich den Verstärker aufgeschraubt. Gerd war zwar nicht erfreut
darüber, als ich ihm am Telefon das erzählte, aber das nehme ich in Kauf. Der Verstärker wäre "nur" so in aller Eile
zusammengelötet wurden. Interessant ist schon wie und was Gerd so verbaut hat. Keine Esoterik ist in dem Verstärker zu finden,
na ja vielleicht die 717A sind selten. Natürlich habe ich den Verstärker rausgezeichnet und es auch Gerd gesagt.
Wollte einfach sehen, was Gerd so zusammengelötet hat und wollte nicht bis zum Montag warten. Beim nächsten Besuch bei Gerd
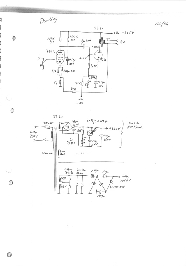
gab es dann auch den Originalschaltplan (links). |
|
Folgend der Schaltplan seiner Version mit der Pentode 717A ins "reine" gezeichnet. Beim Netzteil ist für die Anodenspannung nur 1 Kanal dargestelltt, der zweite ist identisch. Die Gittterspannung hatte Gerd noch aus der Heizspannung mittels einer Kaskade erzeugt. Mittlerweile hat sein Trafo mit eine separate 40 Volt Wicklung. Die Brücke für -Ug ist so noch nicht aufgebaut wurden, nur in PSUD simuliert. Aber die Anpassung sollte kein Problem sein. |
|
|
|
|
|
Eigentlich wollte ich noch ein wenig an dem Verstärker so ein paar NF-Geschichten
messen. Aber ich hatte mich doch dazu entschlossen, die Zeit lieber zum Hören zu nutzen, zumal auf Gerds
Seiten ein paar interessante Messungen zu finden sind. Nun warte ich nur noch darauf, dass Gerd mir die AÜ's und den Trafo wickelt, damit ich endlich
mit dem Nachbau des Darlings beginnen kann. Leider hat er wohl im Augenblick (beruflichen) Stress und
ich muss mich gedulden |
|
Das zweite Wochenende mit dem Darling. Meine etwas lauteren Boxen ins "Hörzimmer" geschleppt.
Mein Gott, warum habe ich den unteren Teil vor ca. 10 Jahren mit Sand gefüllt. Der Kennschalldruck müsste so ungefähr bei 90 dB liegen.
Fazit, ich habe das Zimmer umgeräumt und die Boxen bleiben stehen. Zwar muss ich morgen den Darling zurückgeben, aber der Nachbau ist,
wie bereits geschrieben, fest eingeplant! |
|
Ralf Raudonat, aka Raudi, Oktober 2004 |
|
Dezember 2004: Mittlerweile liegen die Bauteile bei mir auf dem Tisch. Bedingt durch den Job wird es wohl erst Weihnachten mit meinem Darling werden. Die Zarge werde ich wohl bis dahin lackieren oder wachsen. Außerdem muss noch das Bodenblech zugeschnitten werden. So wird für Weihnachten die Netzteilplatine und die Verdrahtung übrig bleiben. |
|
Als ich bei Gerd meine Trafos abholte, erzählte er mir, dass er die Gegenkopplung nicht mehr an der Sekundär-Seite des AÜ's angeschlossen hätte, sondern an der Anodeseite der Primärwicklung: Außerdem hätte er ein wenig mit C's in der Gegenkopplung rumgespielt. Ich hatte inzwischen mal ein paar Versuche mit der 12Sh1L gemacht. Würde ganz gut zu der optisch zu der 1626 passen. Verstärkung müsste gerade so reichen. Es wäre eine Alternative zu der 717A. |
|
Ich hatte die Idee, die 12Sh1L in ein Oktalsockel direkt einzulöten.
Alles, Stifte der 12 Sh1L und Anschluss-Stifte des Oktalsockels, vorher gut verzinnen und dann vorsichtig erwärmen.
Gerd riet mir ab, denn durch die thermische Belastung ist die Gefahr von Haarrissen im Glaskolben der 12Sh1L sehr
|
|
|
|
PS.: Diese Variante des Darlings mit der 717A ist Gerd Reinhöfers Idee.
Mein Darling ist nur ein Nachbau.
Meine einzige Aktie an der Geschichte ist diese Geschichte (dieser Beitrag) und die Idee evtl. die russische
12Sh1L (12Æ1Ë) statt der 717A einzusetzen. Also "Ehre" wem Ehre gebührt und das bin
(wieder mal | |
| Seitenanfang | |
