Das russische Röhrenautoradio A-WM, Bj.1959.

Hinweis ! Diese Seite ist ausschliesslich nur für den privaten und nicht für den gewerblichen Gebrauch (z.B. Internet-Auktionen !) bestimmt.
Es dürfen keine Fotos und Texte ohne meine vorherige Zustimmung verwendet werden !



Besonderheiten: MW/LW (Umschalten durch Zug/Druck des Senderwahlknopfes), Pluspol liegt bei diesem Gerät auf Gehäuse

Radioteil: Name des Radioteils: TIL A-8M
Röhren: 6A2P (EK90), 6K4P (EF93), 6X2P (EAA91), 6SH3P (6AG5, EF96), 6P1P.

Netzteil: Name das Netzteils: TIL WL-8
Röhren: 1 x 6U4N = 6Z4P, Zweiweggleichrichter
Heizung 6,3 Volt / 600 mA
Leistung 75 mA





































Das Netzteil mit dem Innenchassis:

















Der Russen-Zerhacker, Aufdruck T BA-12,8 von Bj. 1958:











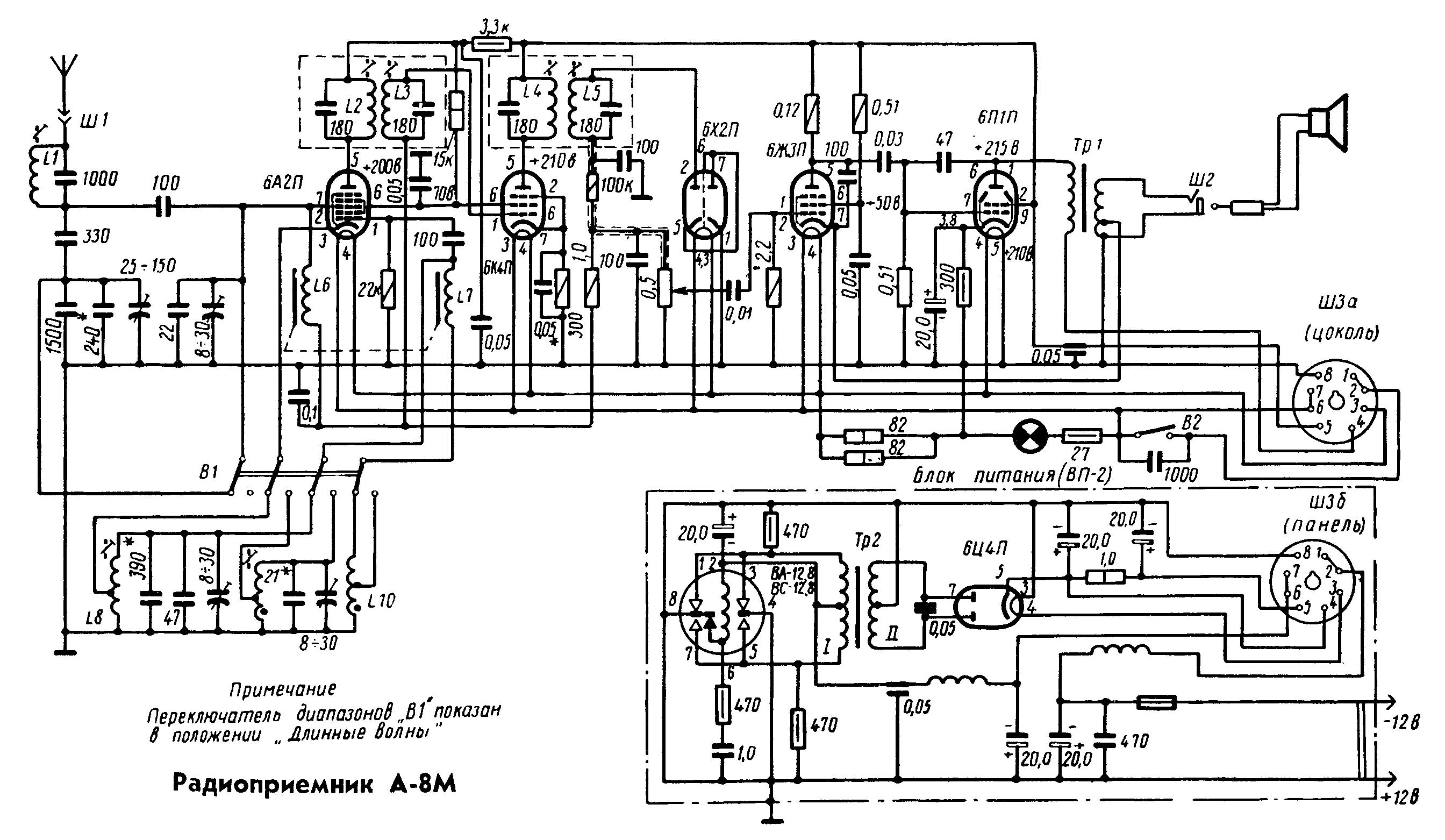
Die Schaltung des Gerätes (Bild anklicken, um die volle Bildqualität anzeigen zu lassen) :

Die Schaltung

Das erste Bild zeigt eines der PKW, in denen das Autoradio eingebaut wurde, ein Moskvitsch = , übersetzt "der Moskauer" (weil er in der Hauptstadt Moskau = gebaut wurde).



So wie in den beiden folgenden Fotos sah das Autoradio im eingebauten Zustand aus:





Die Schaltung

Die Schaltung







Zurück