DIE ÜBERLAGERUNGS-EMPFÄNGER    (Teil 3)
Von Wolfgang Holtmann


INHALT    (Teil 3)

F        DIE DEMODULATION
F.1     Mit Einzel-Diode
F.2     Mit Doppel-Diode
F.3     Verzögerte Regelung

G        EINSEITENBAND EMPFANG (SSB)
G.1     Die Sendeseite
G.2     Die Empfangsseite
G.2.1  Seitenbandwahl
G.2.2  Produkt-Detektor

- - - - - - - - - - - - - - - - - - - - - - - - - - - - - - - - - - - - - - - - - - - - - -



F.     DIE DEMODULATION

F.1   Mit Einzel-Diode
Die Rückgewinnung der der HF-Trägerwelle aufgeprägten Amplituden-Modulation ist mit einer verhältnismäßig einfachen Gleichrichterschaltung möglich. Die Bilder stammen aus "Leitfaden d. Radio-Reparatur" von Dr. A. Renardy.


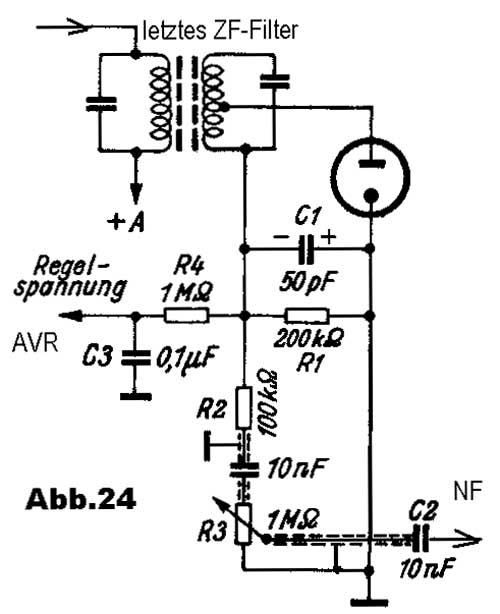
Es drängt sich der Vergleich mit der Schaltung eines Netzgleichrichters auf. Abb.24 zeigt solch einen 'Einweggleichrichter'.
Die 'Wechselspannung' liefert der Sekundärkreis des letzten ZF-Filters. Da der Lastwiderstand R1 (200K) eine zu starke Bedämpfung dieses Kreises bedeuten würden, hat man die Diode oftmals an eine Anzapfung gelegt.
Im Gegensatz zum Netzgleichrichter (wo es auf minimale Ausgangsspannungs-Schwankungen ankommt), beinhalten hier die Amplitudenschwankungen der ZF-Spannung die gewünschte Modulation. Diese soll nach der Demodulation als NF möglichst verzerrungsfrei zur Verfügung stehen. Aus diesem Grunde wird R1 und C1 so bemessen, dass für die ZF noch eine ausreichende Glättung auftritt, jedoch die hohen Töne der Modulation nicht 'ausgebügelt' werden.

Mir ist hierzu ein recht anschaulicher Vergleich eingefallen:
Ich komme auf den zu Anfang erwähnten Netzgleichrichter zurück. Im Prinzip ist es ja egal, ob es nun 50 Hz oder 500 kHz sind. Wir versorgen also unseren Netztrafo primärseitig über einem Stelltrafo (!) mit halber Netzspannung. Am Ladekondensator messen wir eine bestimmte (geglättete) Gleichspannung.
Ist die Kapazität (C1) recht hoch und dazu noch die Last (R1) gering, dann kann ich am Stelltrafo die Netzspannung rauf und runter drehen (modulieren!), die Ausgangsspannung am dicken Elko ändert sich nur sehr träge. Mit anderen Worten: die Ausgangsspannung ist KEIN reziprokes Abbild der schnell 'modulierten' Eingangswechselspannung!
Der Rest läßt sich erraten.
Machen wir jetzt die Kapazität des Ladekondensators erheblich kleiner, bzw. erhöhen die Belastung, dann folgt die Ausgangsspannung auch den schnellen Änderungen des Stelltrafos.


Wieder zurück zur Schaltung.
Über R1 steht die niederfrequente Wechselspannung (die Modulation) an, welche noch mit ZF-Anteilen (Restwelligkeit) behaftet ist. Mit einem einfachen Tiefpaß, gebildet aus R2 und der Kapazität der darauffolgenden abgeschirmten Leitung (wieder einen Kondensator gespart!) zum Lautstärke-Poti, werden diese HF-Reste weitgehend reduziert.
Weiterhin entsteht eine (gegenüber Masse) negative Richtspannung an R1. Da deren Größe von der Empfangsfeldstärke abhängig ist, könnte man diese (über R4) als Regelspannung zum Schwundausgleich verwenden. Aber auch die Ansteuerung eines Magischen Auges ist denkbar. Natürlich müssen vorher die ungewünschten Modulationsanteile mit C3 ausgesiebt werden.

F.2   Mit Doppel-Diode
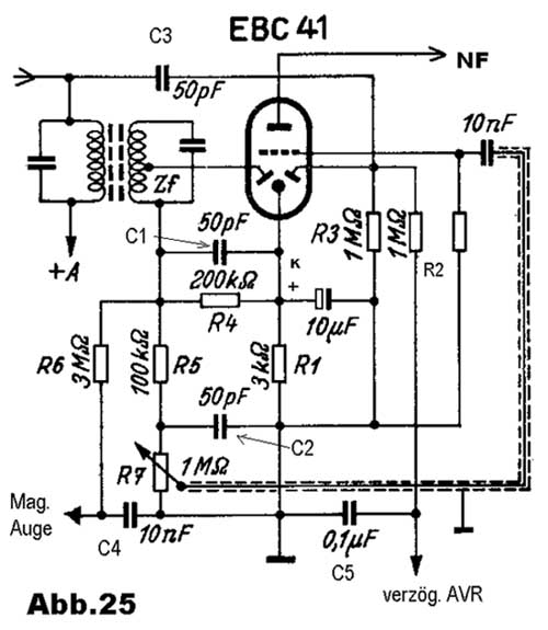
Es wurde schon erklärt, warum der Lastwiderstand R1 (man kann ihn auch als Entladewiderstand für C1 sehen) einen verhältnismäßig niedrigen Wert hat. Somit ist die dort anstehende Richtspannung nicht so hoch, wie es für eine effektive AVR erforderlich wäre.
Gerade die älteren Regel-Pentoden/Tetroden verlangen recht hohe neg. Gitterspannungen, um eine ausreichende Steilheitsänderung zu bewirken.


Aus diesem Grunde kam man auf die Idee, die Regelspannungserzeugung von der Gewinnung der NF zu trennen. Abb.25 zeigt so eine Schaltung mit der Duodiode-Triode EBC 41. Die linke Diode sorgt für die Rückgewinnung der Modulation. Die NF gelangt über den Lautstärkeregler R7 direkt zum Gitter der Triode, welche als Vorverstärker dient.
Die Regelspannung dargegen entsteht an der rechten Diode. Es wird dazu der hohe ZF-Pegel an der Anode der letzten ZF-Stufe über C3 abgenommen und der rechten Dioden-Anode zugeführt. Man hat den Lastwiderstand R3 jetzt mit 1 MOhm -also 5 x größer- bemessen!
Über einen weiteren 1 MOhm (R2) und Siebkondensator C5 wird die AVR-Spannung den Regelröhren angeboten.

F.3   Warum 'verzögerte' Regelung?
Zunächst einmal soll der Vorteil einer 'verzögerten AVR' erklärt werden:
Da sich normalerweise eine negative Regelspannung bereits beim Empfang einer schwachen Station bildet, würde diese den Arbeitspunkt der Regelröhre(n) in den weniger steilen Bereich verschieben. Bei den niedrigen Antennenspannungen ist jedoch noch die volle Verstärkung erforderlich. Durch einen Schaltungstrick läßt man den Einsatz der Herabregelung erst ab einer gewissen Höhe der HF-Eingangsspannung -also verzögert- einsetzen.

In der Schaltung nach Abb.25 ist die gemeinsame Kathode nicht auf Massepotential gelegt, sondern ein Kathodenwiderstand R1 (3 kOhm mit 10 µF überbrückt) eingefügt. Dieser dient in erster Linie zur Erzeugung der automatischen Gittervorspannung des Triodensystems.
Damit hat die gemeinsame Kathode eine Vorspannung von etwa +3 Volt gegenüber Masse. Da der Lastwiderstand R3 der rechten Diodenstrecke ebenfalls an Masse liegt, ist die Dioden-Anode gegenüber der gemeinsamen Kathode um den selben Betrag negativ! Es können nur ZF-Spannungen höher als 3 Volt-Spitze eine Gleichrichtung bewirken. Diese künstliche 'Schwelle' verzögert somit den Regeleinsatz.

Diese Schwelle darf natürlich keinen Einfluß auf die linke Demodulations-Diode haben.
Verzerrungen wären die Folge! Darum ist der Ladekondensator C1 und der dazugehörige Lastwiderstand R4 direkt mit der Kathode verbunden. Die genannte Vorspannung hat dann keinen Effekt auf die Gleichrichtung.
Man kann über R6 die (kleinere) 'unverzögerte' Regelspannung entnehmen, um damit z.B. das Magische Auge anzusteuern.


G.     EINSEITENBAND EMPFANG (SSB)

Was sind die Vorteile der SSB (Single Side Band)-Technik gegenüber der herkömmlichen Amplitudenmodulation?

G.1   Die Sendeseite
In Abb.26a ist die Leistungsverteilung in Abhängigkeit des Frequenzspektrums eines 1500 Watt AM-Senders dargestellt. 1000 W für die Trägerwelle + 2 x 250 W in den Seitenbändern. Wir nehmen an, dass dieser Sender mit 1 kHz, 100%ig moduliert ist. Bekanntlich enstehen rechts und links der Trägerwelle zwei neue Frequenzen im Abstand von ebenfalls 1 kHz.

Es fällt sofort auf:

>> dass die Trägerwelle den Löwenanteil (2/3) der Sendeleistung verschlingt, obwohl diese keinerlei Information beinhaltet!
>> dass die zu übertragende Information in beiden Seitenbändern, also doppelt, vorhanden ist!

Man sieht leicht ein, dass das Ganze viel ekonomischer machbar ist.
Als erster Schritt wird die Trägerwelle entfernt (Abb.26b). Diese läßt sich leicht im Empfänger selbst erzeugen, und kann dort dem Empfangssignal wieder zugesetzt werden.
Nun ist nur noch das untere Seitenband (engl.: Lower Side Band = LSB) und das obere Seitenband (engl.: Upper Side Band = USB) vorhanden.

Im zweiten Schritt (Abb. 26c) läßt man ein überflüssiges Seitenband wegfallen. Im gezeigten Beispiel ist es das obere, wofür ein entsprechend zugeschnittenes Filter in den HF-Signalweg eingefügt ist. Damit haben wir gleichzeitig die Sendebandbreite halbiert! Es könnten also (theoretisch) für einen bestimmten Frequenzbereich nun die doppelte Anzahl Sender untergebracht werden.

Ich kann mich erinnern, dass gerade dieser Gesichtspunkt in der Vergangenheit bei der Neugestaltung des AM-Rundfunks diskutiert wurde.
Gut, inzwischen ist deutlich geworden, wohin 'der Ball rollt'.


Um nochmal auf die eingangs erwähnte Leistungskalkulation zurück zu kommen:
Die totale Sendeleistung von 1500 Watt, wird jetzt auf das eine Seitenband konzentriert, wo vorher nur 1/6 davon (250 W) als Informationsträger zur Verfügung stand! Einer sechsfachen Sendeleistungserhöhung entspricht (Wurzel aus 6 ) einer 2,4 fachen Reichweitevergrößerung!

G.2   Die Empfangsseite
Das Frequenzspektrum eines SSB-Signals ist gegenüber dem herkömmlichen AM-Signal nur halb so breit. Die höchste zu übertragende Modulationsfrequenz ist der bestimmende Faktor dafür.
Aus diesem Grunde sollte auch die Empfangsbandbreite hieran angepaßt sein. Nicht allein wegen der Selektivität (Trennschärfe), sondern auch wegen des dann besseren Signal/Rauschverhältnisses. Denn, ein zu breites ZF-Filter läßt nur nutzloses Rauschen (und andere Störungen) zum Demodulator gelangen.

SSB Demodulation Da senderseitig der Träger entfernt wurde, muß dieser im Empfänger wieder hinzugefügt werden.
Der einfachste Weg wäre, diesen als Hilfsfrequenz in den ZF-Verstärker einzukoppeln. Dann kommt es bei der ZF-Gleichrichtung zu einer 'additiven Mischung', d.h. Rückgewinnung der NF. Das ist bei Billiggeräten manchmal anzutreffen. Nachteilig ist die sich am Ausgang bildende (zusätzliche) Regelspannung, welche die Empfangsempfindlichkeit nachteilig beeinflußt. Besser ist eine getrennte Demodulationsstufe, wo eine Mischung zwischen dem SSB-Signal (vom ZF-Verstärker) und der Hilfsfrequenz stattfindet.

Warum denn schon wieder mischen?
Dazu schau’n wir uns nochmal Abb. 26a an. Hier ist ein mit 1 kHz moduliertes AM-Signal dargestellt. Das vereinfacht die Erklärung, kann man doch mit einem simplen Rechenbeispiel die sonst komplizierten Vorgänge erläutern.
Die Trägerfrequenz (f 0) soll 9000 kHz betragen. Dann entsteht unterhalb des Trägers die Frequenz 8999 kHz, und oberhalb 9001 kHz.

Wie gesagt, das gilt nur bei einer Sinusmodulation mit einer Frequenz. Bei Sprache/Musik-Modulation ergibt sich ein entsprechend breites Seitenband (Frequenzspektrum)!

In den weiteren Schritten wurde dieses AM-Signal zum Einseitenband-Signal (SSB) reduziert, indem der Träger plus das obere Seitenband (hier der 9001 kHz Anteil) entfernt wurde. Es wird also nur noch die Frequenz 8999 kHz (mit voller Leistung) abgestrahlt. In einem normalen AM-Empfänger kommt das gleich mit einem unmodulierten Träger, der nur ein gewisses Rauschen verursacht, aber nicht den gewünschten 1 kHz Ton enthält! Um diesen wieder hörbar zu machen muß jetzt ein Hilfsoszillator (engl.: Beat-Frequency Oscillator, kurz BFO genannt) auf 9000 kHz den fehlenden Träger ersetzen, d.h. wieder hinzugefügt werden. Durch Mischung der BFO-Frequenz mit der empfangenen Frequenz von 8999 kHz ensteht dann die gewünschte Differenzfrequenz von 1 kHz.

Eine hohe Frequenzstabilität
wird für diesen Hilfsoszillator und auch der anderen (ZF bestimmenden) Oszillatoren im SSB-Superhet verlangt. Abweichungen von mehr als 10 Hz (bei reinen Sprachverbindungen) verursachen eine unschöne Verfälschung des Klangbildes (den sogn. Donald Duck Effekt), weil die exakte Zuordnung der Seitenbandfrequenzen zum Trägerersatz (BFO) nicht mehr gegeben ist. Es bilden sich die falschen Mischprodukte! Für Musikdarbietungen gelten natürlich noch viel engere Toleranzen, was die Kosten der Empfänger in die Höhe treiben würde! Ich denke, dass war einer der Hauptgründe warum sich diese Modulationsart für den allgemeinen Rundfunk nicht durchsetzen konnte.


G.2.1   Seitenbandwahl
Abb.27 zeigt, wie die empfangsseitige Umschaltung zwischen dem oberen (USB) und unteren (LSB) Seitenband aussehen kann.
Die benötigten (SSB-) Filter sind sehr Aufwendig gebaut, weil zur optimalen Trennung von starken Nachbarstationen eine hohe Flankensteilheit der Selektionskurve bei kleiner 'Welligkeit' im Durchlaßbereich gefordert ist. Für Zwischenfrequenzen bis etwa 600 kHz sieht man in kommerziellen Geräten oft sogenannte Mechanische Filter eingebaut. Darin werden miteinander verkettete Metallplättchen oder -Zylinder zur Resonanz angeregt.
Bei höheren Zwischenfrequenzen werden Quarzfilter verwendet. Zusammengestellt aus mehreren Einzelquarzen, wird die gewünschte Filterkurve realisiert.

Die 1. Möglichkeit nach Abb.27a, macht Gebrauch von zwei verschiedenen Filtern. Es wird entweder das LSB-, oder das USB-Filter eingeschaltet. Man erkennt, dass der Durchlaßbereich eines jeden Filters auf unterschiedlichen Frequenzen liegt. Die BFO-Frequenz bleibt jedoch unverändert!

Die 2. Möglichkeit zeigt Abb.27b. Nur ein (!) SSB-Filter wird für beide Seitenbänder genutzt. Der Trick liegt in der seitenbandabhängigen Frequenzumschaltung des BFO’s
. Die BFO-Frequenz wird zum Empfang des unteren Seitenbandes oberhalb der Filterdurchlaßkurve (f1) plaziert. Umgekehrt, hat man das obere Seitenband gewählt, muß die BFO-Frequenz unterhalb der Filterkurve (f2) liegen. Dieser Sprung von f1 nach f2 ist in der Frequenzanzeige zu berücksichtigen.
Es wird beim SSB-Empfang immer von der (nominalen) Frequenz gesprochen, welche zum (senderseitig) unterdrückten Träger gehört!

G.2.2   Produkt-Detektor
Wir haben bereits die verschiedenen Mischprinzipien und -Schaltungen in Kapitel B. kennengelernt. Als vorteilhaft hat sich hier die 'multiplikative Mischung' zur Demodulation von SSB-Signalen erwiesen. Das erklärt auch den Zusatz: 'Produkt'. Es ist das Ergebnis einer Multiplikation.


In Abb.28 ist ein Produkt-Detektor mit einer Oktode im Prinzip angedeutet. Anstatt des gezeichneten L-C Kreises, wird in der Praxis oftmals ein (frequenzstabilerer) Quarzoszillator verwendet.
An der Anode wird die NF als Mischprodukt abgenommen. Der darauffolgende Tiefpaß entfernt noch die verbliebenden (hochfrequenten) ZF- und BFO Anteile.

- - - - - - - - - - - - - - - - - - - - - - - - - - - - - - - - - - - - - - - - - - - - - -


Hier gehts zurück zum zweiten Teil
- und hier geht's zurück zum zum ersten Teil.


Zurück zur Hauptseite