10 Watt Bausteinverstärker RIM Dirigent (1957)

Die höchste Wiedergabetreue, High Fidelity (Hi-Fi) genannt, ist ein Begriff, der sowohl in
den Fachzeitschriften als auch in Bastlerkreisen diskutiert wird. Daß auch wir vom "Hi-Fi-Fieber" nicht
verschont blieben, läßt sich am besten aus den Daten des RIM "Dirigent" ablesen.
"Dirigent" soll all die Wünsche unserer an der Elektroakustik interessierten Bastelfreunde erfüllen, die
uns dauernd mit der Post ins Haus flattern. Um allen Forderungen gerecht zu werden, mußten die Daten für
Störabstand und Klirrfaktor besonders sorgfältig festgelegt werden, da aus ihnen die Qualität der Wiedergabe
hervorgeht.
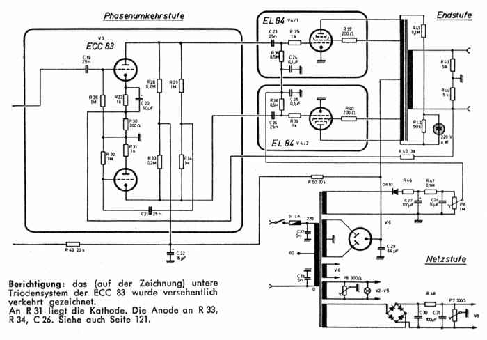
Ein Blick auf die Schaltung zeigt, daß beim RIM - "Dirigent" jede Stufe für sich abgeschirmt ist und
eine Einheit bildet. Näheres darüber finden Sie in der weiteren Beschreibung.
Der Eingang ist etwas ungewöhnlich, dafür um so zweckmäßiger. Für die Eingänge ist je eine
Vorverstärkerröhre vorhanden, in deren Anodenkreis erst der Lautstärkeregler jedes Kanals liegt. Mit ihm ist
nicht nur die Überblendung möglich, in seiner Nullstellung unterdrückt er auch zuverlässig Brumm und
Rauschen, die von unbelasteten Vorstufen kommen können. Damit wird sichergestellt, daß nur die jeweils
gewünschte Tonfrequenzquelle zur Verstärkung kommt.
In der anschließenden Klangregelstufe finden wir die Einstellorgane für die Beeinflussung der hohen und tiefen
Frequenzen. Vom geradlinigen Frequenzgang (in Mittelstellung der Regler) lassen sich die Höhen und Bässe
unabhängig voneinander anheben oder absenken, ohne die Lautstärke der Mittellagen zu verändern. Das
Nachstellen der Eingangsregler ist deshalb bei Veränderung des Klangbildes nicht notwendig.
Die Daten der Phasenumkehrstufe zur Versorgung der Gegentaktendstufe mit Gitterwechselspannung wurden so bemessen, daß
auch bei höchster Leistung keine Übersteuerung und damit Verzerrungen eintreten.
Die Gegentaktendstufe ist mit EL 84 bestückt, die auf einen Spezialgegentaktausgangstransformator arbeitet. Durch den
Anschluß der Schirmgitter an eine Anzapfung des Ausgangstransformators erzielt man eine Gegenkopplung, die den
Klirrfaktor absinken und die Aussteuerungsgrenze ansteigen Iäßt. In dieser Schaltung ist eine mit Penthoden
bestückte Gegentaktendstufe besser als die ausgezeichneten Triodenendstufen früherer Jahre. Trotzdem ließ
sich der Austeuerungsbereich noch erweitern, indem die Gittervorspannung nicht wie üblich durch Kathodenwiderstände,
sondern durch eine Gleichrichterschaltung aus einer Transformatorwicklung gewonnen wurde.
Die Wicklung des Ausgangstransformators muß genau symmetrisch sein, daher ist es nicht möglich, mehrere
Wicklungen mit verschiedenen Ausgangsimpedanzen einzubringen. Die Ausgangsimpedanz wurde mit 5 Ohm gewählt.
Der Netztransformator verdient in hochwertigen Verstärkern besondere Beachtung und wohlüberlegten Einbau, um
magnetische Einstreuungen in die Vorstufen zu vermeiden. Das magnetische Streufeld, das um den zur Leistungsübertragung
benutzten Eisenkern herum entsteht, findet oft einen Weg in den Vorverstärker und induziert dort einen Brumm, der mit
normalen Siebmitteln nicht zu beseitigen ist.
Um auch in dieser Richtung eindeutige Verhältnisse zu haben, verwendet der RIM "Dirigent" einen
Netztransformator, dessen Streufeld durch erne neuartige Form des Kerneisens, der Schachtelung und Wicklung besonders klein
ist.
Im Netzteil finden wir neben der erwähnten Gittervorspannungserzeugung für die Endröhren noch einen
Gleichrichter, der die Heizspannung für die Vorröhren abgibt. Dadurch wird vermieden, daß über die
Heizfäden Netzbrumm einstreut.
Als Zusammenfassung können wir feststellen, daß im RIM "Dirigent" alle erwünschten Eigenschaften
eines Universalverstärkers vereint sind, die ihm einen gebührenden Platz als kleines Tonstudio sichern. Zusammen
mit einer entsprechenden Lautsprecherkombination liefert er ein Klangbild von höchster Wiedergabetreue, das
Fachleute und Laien widerspruchslos anerkannt haben.
Der Gedanke, ein Gerät aus sogenannten Bausteinen zusammenzusetzen, ist nicht neu. Er stammt aus der
Großserienfertigung der Industrie, wo sich die Vorteile dieser Methode längst bewährt haben und daher bis
heute angewendet werden. Unter dem Begriff "Baustein" ist dabei die Zusammenfassung eines bestimmten
Geräteteiles zu verstehen, der mechanisch eine Einheit bildet und alle Teile der Stufe einschließlich der
Verdrahtung enthält. Damit tritt an die Stelle eines bestimmten Ausschnittes der Gesamtverdrahtung ein abgeschirmtes
Kästchen mit einigen Anschlüssen, an die Eingang, Ausgang und die Betriebsspannungen führen. Wird diese
Bauweise für mehrere Stufen eines Gerätes durchgeführt, ergibt sich eine äußerst zweckmäßige
Arbeitsaufteilung.
Nach der Einzelverdrahtung der Bausteine, die nur die wenigen Teile einer Stufe umfassen, folgt die Montage im Chassis und
die Verlegung der Betriebsspannungen. In dieser Aufteilung lassen sich Schaltfehler viel leichter finden und jede Stufe
einzein prüfen. Für die zukünftige Entwicklung läßt sich ein Bausteinverstärker sehr leicht
auf dem neuesten Stand der Entwicklung halten, da einzelne Stufen schneller auszuwechseln sind, als der Umbau eines
Verstärkers dauert.
Das folgende Foto zeigt,wie es im Inneren eines solchen Bausteines aussieht:
Als Grundplatte dient eine gestanzte Aluminiumgrundplatte, in der sich die keramischen Durchführungen für die
Anschlüsse befinden. Auf der Mitte derGrundplatte steht eine Superpertinaxplatte senkrecht, auf der Lötösen
in Reihen angeordnet sind.
Die Röhrenfassung wurde an der Schmalseite der Platte angebracht, um kurze Leitungsführung zu bekommen. Die
Befestigung der Fassung ist so gehalten, daß auch die federnde Aufhängung sich durchführen läßt.
In einer Sonderausführung für 2 Röhren wurde die Verdrahtungsplatte soweit gekürzt, daß an jeder
Schmalseite eine Röhrenfassung Platz findet.
Nach der Verdrahtung der einzelnen Bausteine wird als Abdeckung eine gezogene Aluminiumhaube über die gesamte Einheit
gesteckt.