RIM-Einkreisempfänger (1955)

Der Radio-Baukasten für den RIM-Trabant ist als Einführung in das heute bereits weit verzweigte Gebiet der Radiotechnik gedacht. Die in diesem beschriebenen Versuche werden vielleicht manchem angehenden Radiobastler gezeigt haben, daß die Radiotechnik sein "Steckenpferd" werden kann. Er wird einen kleinen Vorgeschmack bekommen haben, wie interessant und abwechslungsreich die Radiotechnik ist, aber auch wieviel Sorgfalt, Genauigkeit und Geduld für den Erfolg notwendig sind.
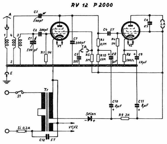
Ein am Lichtnetz betriebener "Einkreiser" ist gemessen an dem erforderlichen Aufwand ein sehr dankbares Bastelgerät. Da eine große Anzahl der im Baukasten vorhandenen Teile wieder Verwendung findet, können die Baukosten dieses Empfängers besonders niedrig gehalten werden.
Die Schaltung entspricht dem 8. Versuch des Radio-Baukastens. Es werden jedoch zwei indirekt geheizte Röhren verwendet, welche mit Wechselstrom geheizt werden können. Die Heizspannung wird einer eigenen Wicklung des Netztransformators entnommen. Die Anodenspannung, die ebenfalls durch den Trafo erzeugt wird, richtet ein Selen gleich. Die Glättung des gleichgerichteten Stromes übernehmen die beiden Kondensatoren C 10 und C 11 in Verbindung mit dem Siebwiderstand R 9.


Aufbau und Verdrahtung.
Der Aufbau des Gerätes erfolgt auf einer Pertinaxplatte mit den Abmessungen der "Trabant-Frontplatte".


Die Verdrahtungszeichnung zeigt den Aufbau und die Verdrahtung auf dieser Platte. Wie aus dem Foto ersichtlich, findet das Gerät in einem Gehäuse Platz. Dieses ist aus Bakelit und hat die gleichen Abmessungen wie das "Trabant"-Gehäuse (180 x 120 x 60 mm). Das Anschrauben der Frontplatte im Gehäuse erfolgt mit vier Zylinderkopfschrauben M3 x 5 mm.
Im einzelnen erfolgt der Aufbau folgendermaßen: Der Netztransformator Tr wird mit vier Zylinderkopfschrauben M3 x 5 mm montiert, links daneben werden die Rollelektrolyt-Kondensatoren C 10 und C 11 mit einer Schelle gehalten. Rechts neben dem Trafo wird der Sicherungshalter unter Beilegung von zwei 14 mm langen Abstandsröllchen mit zwei Schrauben M3 x 25 mm festgeschraubt. Neben diesem erfolgt die Einführung des Netzkabels, welches mit einer Kabelschelle zugentlastet wird. Eine vierpolige Lötösenleiste wird mit zwei Muttern M3 auf den Trafo montiert. Der Selengleichrichter wird mit Hilfe einer Rohrschelle vor dem Trafo befestigt. Der Aufbau des Empfängers selbst kann genau so wie bei dem "Trabant"-Radio-Baukasten erfolgen.
Die Leitungsführung geht im einzelnen aus dem Verdrahtungsplan hervor. Man geht am besten Schritt für Schritt vor und zieht jede in das Gerät eingelötete Leitung am Verdrahtungsplan mit Rotstift nach. Für die Verdrahtung selbst gilt das über das Löten bereits öfter Gesagte (siehe Aufsatz "Ein kurzes Löt-ABC" in der "Trabant"-Broschüre oder im Basteljahrbuch 1954 Seite 123).


Noch ein Wort zur Bedienung: Bei Rundfunkempfang ist ein Kurzschlußbügel in die TA-Buchsen zu stecken. Nach Entfernen dieses Bügels können sowohl Kristall- als auch magnetische Tonabnehmer angeschlossen werden.

Zurück zur Hauptseite