Gitarrenverstärker RIM Solist (1961)

Großer Beliebtheit bei kleineren Tanzkapellen, Trios erfreuen sich sogenannte
Gitarrenverstärker. Dem Verwendungszweck entsprechend werden solche Verstärker mit mehreren Eingängen zum
Anschluß eines Mikrofons, Gitarrentonabnehmers und mit einem Lautsprecher ausgerüstet.
Diesen Anforderungen entspricht auch unser Gitarrenverstärker "Solist", der u. a. auch noch eine getrennte
Höhen- und Baßregelung besitzt und mit einem Zweitlautsprecherausgang und Aussteuerungskontrolle ausgerüstet
ist.
Der gesamte Verstärkerteil mit Lautsprecher ist in einem stabilen, überzogenen Holz-Koffer-Gehäuse mit
Traggriff untergebracht.
Während des Betriebes wird der Deckel auf der Kofferrückseite abgenommen, so daß bei Dauerbetrieb keine
schädliche Wärmestauung innerhalb des Gerätes entstehen kann.
Ferner kann das Netzkabel im Koffergehäuse untergebracht werden, so daß sich der Kofferverstärker leicht
transportieren läßt.
Die nachfolgende Beschreibung entstammt dem Buch von Heinz Richter, "Elektroakustik für
Alle" :
Zur Verstärkung von Gitarre-Klängen eignet sich die Schaltung des "Solist". Sie ist zum Betrieb
mit einem Gitarre-Tonabnehmer bestimmt.
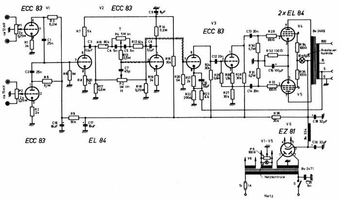
Die Schaltung läßt sich in zwei Gruppen aufteilen: Die Röhren V 1 und V 2 bilden den Vorverstärker mit
Klangregelnetzwerk, die Röhren V 3 - V 5 die Nachverstärkung, Phasenumkehr und Gegentakt-Leistungsverstärkung.
Nebenbei sei bemerkt, daß sich bei Gitarrenverstärkern die Unterbringung dieser beiden Gruppen auf einem
gemeinsamen Chassis bewährt hat, um zu kleinen und leichten Einheiten zu kommen. Der Transportkoffer enthält fast
immer einen fest eingebauten Hauptlautsprecher, weitere Lautsprecher sind über die Ausgangsbuchsen anschließbar.
Der Zusammenbau von Verstärker und Lautsprecher im gemeinsamen Gehäuse erfordert federnde Aufhängung der
ersten Stufe, um akustische Rückkopplung zwischen Lautsprecher und Vorstufenröhre zu unterdrücken. Wegen der
Gefahr der direkten Brummeinstreuung in das Röhrensystem wurde eine Abschirmung angebracht.
In der Eingangsstufe wurde eine Doppeltriode ECC 83 (V 1) als Vorverstärker eingesetzt. Die Eingangsspannung
durchläuft zuerst einen Doppelregler, der die Auswahl zwischen zwei verschiedenen Eingangsspannungen erlaubt. Da am
Gitter beider Trioden die gleiche Regelmöglichkeit vorgesehen ist, stehen insgesamt vier Eingänge zur Auswahl, von
denen sich je zwei beliebig miteinander mischen lassen. Die Regelung ist durch die dazwischenliegenden Röhrensysteme
rückwirkungsfrei.
Die oberen beiden Eingänge im Schaltbild mit einer Empfindlichkeit von 12 mV können zum Anschluß von zwei
Mikrofonen (Kristall- oder dynamische Mikrofone, letztere mit Eingangs-Übertrager) ausgenutzt werden. Der Übergang
vom ersten auf den zweiten Eingang geschieht durch Drehen am Potentiometer P 1. An den unteren beiden Eingängen (15 mV)
können zwei Gitarretonabnehmer angeschlossen werden, von denen jeweils einer zur Verstärkung gelangt.
Die in einem oder beiden Systemen der V 1 verstärkte Tonfrequenz gelangt über C 1 / C 2 zum Gitter der linken
Hälfte von V 2, die Rückwirkungen der sich anschließenden Klangregelung auf den Eingang verhindert.
Die beiden Klangregler, P 4 für die Bässe und P 3 für die Höhen, sind die Hauptbestandteile der beiden
übereinander angeordneten Klangregel-Netzwerke. Durch Verschieben des Spannungsteilerverhältnisses R 10, P 4 und
R 12 an P 4 läßt sich für die Bässe eine Anhebung von 19 dB und eine Absenkung von 20 dB erreichen,
während sich an P 3 das Verhältnis R 17, P 3, R 18 für die Höhen von + 15 dB bis - 12 dB verschieben
läßt.
Der große Regelbereich mit den Möglichkeiten der Anhebung, Absenkung und Linearisierung der Frequenzkurve erlaubt
stets eine Anpassung an die jeweiligen Erfordernisse und liefert daher sehr gute Ergebnisse.
Der durch die Klangregelung verursachte Verstärkungsverlust wird durch das rechte System der V 2 wieder ausgeglichen.
Über C 6 ist das linke System der V 3 angekoppelt, das die Ausgangsspannung der V 2 auf die notwendige Höhe bringt,
um die folgende Phasenumkehrstufe ausreichend anzusteuern.
Die rechte Triode der V 3 dient nur in geringem Maße zur Verstärkung. Ihre Hauptaufgabe ist die Gewinnung zweier
Steuerspannungen mit einem Phasenunterschied von 180 Grad zur Versorgung der Gegentakt-Endstufe. Durch gleichgroße
Widerstände in der Kathoden- und Anodenleitung (R 27 / 28) lassen sich die gegenphasigen Spannungen gewinnen und
über C 13 / 14 an die Gitter der beiden Endröhren bringen.
Durch die Gegentaktschaltung der V 4 und V 5 wird erreicht, daß jede Röhre nur jeweils eine Halbwelle zu
verstärken hat, entweder die positiven oder negativen Teile der sinusähnlichen Tonfrequenz, deren
Zusammenfügung zu einem geschlossenen Kurvenzug der Ausgangs-Transformator 2469 bewerkstelligt. Für die an die
angezapfte Sekundärwicklung angeschlossenen Lautsprecher ist diese Trennung nicht bemerkbar, wenn man von der
Verringerung des Klirrgrades absieht.
Im Gerät sind von den 3 Anschlüssen des Ausgangstrafos (5,15 Ohm, 100 V / 800 Ohm) nur zwei an Ausgangsbuchsen
geführt. Bei Bedarf läßt sich ein Austausch der herausgeführten Anschlüsse am
Ausgangs-Transformator vornehmen. Da es in der Praxis häufig vorkommt, daß bereits vorhandene, im Raum fest
installierte Lautsprecher zur Übertragung verwendet werden sollen, erhielt der niederohmige Ausgang des
quot;Solistquot; eine Schaltbuchse, die beim Einführen eines Steckers den eingebauten Lautsprecher automatisch
abschaltet. Falls nicht gewünscht, läßt sich dieser Schalter auch überbrücken.
Von der 5 Ohm-Anzapfung der Sekundärwicklung führt ein Gegenkopplungskanal über R 23 zurück zum
geteilten Kathodenwiderstand der ersten Hälfte von V 3, der wesentlich dazu beiträgt, die nichtlinearen
Verzerrungen im Vorverstärker zu unterdrücken. Da eine Maßnahme allein dafür nicht ausreicht, wurden
auch die Kathodenwiderstände der Vorröhren V 1 und V 2 nicht mit den üblichen Kathodenkondensatoren
überbrückt. Die dadurch entstehende Stromgegenkopplung ergibt ein sehr stabiles und unkritisches Arbeiten des
Verstärkers. Sein geringer Klirrfaktor bis zur Leistungsgrenze ist ebenfalls damit begründet.
Der Netzteil ist normal gehalten und verwendet eine Gleichrichterröhre, deren Abmessungen kleiner sind als die eines
entsprechenden Selengleichrichters. Die Siebung wird durch reichlich bemessene Kondensatoren (C 18 / 19) in Verbindung mit
einer Drossel (Bv 334) vorgenommen. Für die Vorstufen dient C 16 / 17 als Zusatzsiebung.
Die Aussteuerungsanzeige bildet ein Lämpchen 10 V / 50 mA in der Schirmgitter-Zuleitung der beiden Endröhren. Es
leuchtet auf, wenn die Endleistung etwa 8 bis 10 Watt erreicht. Bei Volleistung sollte es in den Lautstärkespitzen,
nicht aber dauernd aufleuchten. Ein zweites Lämpchen 7 V / 0,3 A liegt parallel zu den Heizfäden der Röhren
und dient als Betriebsanzeige.