Viele der schönsten Fotos auf dieser Seite stammen von meinem Freund Siegfried Neumann, dem ich
an dieser Stelle meinen herzlichen Dank für seine Mühe und seinen Einsatz aussprechen möchte.
Loewe-Radio brachte mit seinen Mehrfachröhren eine der ersten "integrierten Schaltungen" heraus. In einer
dieser Röhren befinden sich bis zu drei Röhren sowie die erforderlichen Widerstände und Kondensatoren.
Die folgenden Fotos zeigen zwei solcher Widerstände. Sie sind, vakuumversiegelt, in einem Glasgehäuse eingesetzt:
Von einem Freund bekam ich diese (leider etwas sehr dunkle Fotos), sie zeigen eine Gruppe verschiedener
Loewe-Widerstände und eines Arrays, bestehend aus einem Loewe-Widerstand und Loewe-Kondensatoren, allesamt in Glas
"verpackt":

Nun zur ersten Mehrfach-Röhre, der 3 NF. 3 bedeutet hierbei daß drei komplette Trioden in diese Röhre
eingebaut wurden. Die Dreifachröhre beruht auf einer gemeinschaftlichen Entwicklung von Dr. Siegmund Loewe und Manfred
von Ardenne. Es begann 1923 mit der Gründung der Firma Radiofrequenz GmbH durch die Brüder Siegmund und David
Ludwig Loewe, sowie zwei weiteren Partnern. Radiofrequenz entsand aus dem Zusammenschluß des Loewe-Labors und der
Werkstatt von Grüttner & Lütgert. Das folgende Bild zeigt eine Werbung der ehemaligen Fa. Radiofrequenz:
1926 war die Präsentation der Dreifachröhre 3 NF. Diese durfte keinen Anschluß für die Rückkopplung
enthalten, wie von Loewe ursprünglich vorgesehen.
Sammler, die im Besitz der 3 NF sind und diesen Mittelpin nicht haben, werden, wenn sie die Abdeckplatte des Sockels abnehmen,
eventuell einen losen Draht entdecken können welcher nirgends angeschlossen ist. - Dies ist der Anschlußdraht
für die Rückkopplung ... - Grund: Die damalige, sehr restriktive Regierung, wollte einfach nicht daß
man mit dem "Volksradio", dem Ortsempfänger OE 333, weitentfernte Sender empfangen konnte. Man wollte ganz
einfach die Möglichkeiten einschränken. Hinzu kam noch die Problematik die mit der Rückkopplung einherging :
mit falsch eingestellter Rückkopplung störte man den Rundfunkempfang des Nachbarn.
Kurz danach erschien diese Röhre mit einem besonderen Anschluß zur Rückkopplung, dieser Anschluß war
ein zusätzlicher Mittelpin im Sockel. Diese Röhre hieß zunächst R.N.F.7., sie war, was man
anhand der (englischsprachigen) Beschriftung erkennen kann, nur für den Export ins Ausland bestimmt.
Diese Beschränkung kippte man aber einige Zeit später wieder, so daß die 3 NF mit mittleren Anschluß
für die Rückkopplung gebaut werden durften - sie hieß fortan 3 NF.B.
Um dieses zu untermauern, habe ich hier einige Kopien aus dem Buch "Die
Mehrfachröhre", von Dr. Eugen Nesper und Dipl. Ing. Walter Kunze, erschienen 1928, als PDF-File zum
herunterladen bereitgestellt. Es sind hochinteressante Daten!
1925 wurde die Loewe-Radio GmbH gegründet, aus dieser wurde gegen 1929 die Radio AG D.S. Loewe, mit den
Inhabern David und Dr. Siegmund Loewe.
Die folgenden Fotos zeigen die, wirklich schöne, 3 NF :
Der Vertrieb der 3 NF war im übrigen zu dieser Zeit einzigartig: Trat ein Heizdefekt an einer (oder mehrerer) der
eingebauten Röhren auf, so konnte der Besitzer der Röhre sie zu Loewe einsenden, sie wurde dann (gegen Entgelt)
repariert. - Diese Reparatur war erheblich billiger als eine neue Röhre kaufen zu müssen!
Eine solche 3 NF saß beispielsweise im Loewe-Batteriegerät 2H 3N von 1927; dieses Gerät stelle ich mit den
beiden folgenden Fotos vor:
Das Schaltbild des Gerätes zeigt im rechten Teil die 3 NF, links ist die 2 HF (zwei Tetroden) eingezeichnet.
Im Schaltbild erkennt man, daß die 3 NF drei Trioden, drei Widerstände und zwei Kondensatoren enthält.
Sehr wichtig ist hierbei der Hinweis, daß hier die Sockelbeschaltung "von oben gesehen"
gezeichnet sind, also entgegen der normalen Darstellung ("von unten")!!
Wolfgang Holtmann machte mich auf vier (!!) Fehler im Schaltbild der 2 HF aufmerksam. In den Seiten diverser Homepages
sowie in den alten Büchern ist diese Schaltzeichnung der 2 HF über all die Jahre völlig falsch gezeichnet
worden! - Eine fehlerbereinigte Skizze, die Wolfgang mir zusandte, zeigt das folgende Bild :
Hier nun einige Fotos, die die 2 HF zeigen. - Danke an Wolfgang Holtmann, der diese tollen Fotos anfertigte und sie mir
freundlicherweise überließ.
Die 3 NF wurde erst richtig bekannt mit dem Ortsempfänger OE 333. Die folgenden Fotos zeigen sie zunächst in
der Holzausführung von 1926, dann in der Bakalitausführung von 1927.
Eine Weiterentwicklung des OE 333 war der OE 433, dieser war erstmals mit einer Rückkopplung ausgestattet. Das
Foto zeigt die Bakalitausführung :
Zur 3 NF wurde auch die 3 NF W (Wechselstrom-Ausführung) und 3 NF B, bzw. 3 NF Batt hergestellt.
Die folgenden Bilder zeigen links die 3 NF B, mitte die 3 NF Bat, rechts die 3 NF W :
Die folgenden Fotos zeigen zwei Loewe-Radios, die mit der 3 NF W bestückt waren.
Das zuerst gezeigte Gerät ist der R 533 W von 1929 :
Es wurden entweder einer oder mehrere Kopfhörer - oder ein solcher Trichter-Lautsprecher an dieses Gerät
angeschlossen:
Das folgende, mit der 3 NF W bestückte Gerät, ist der EB 205 W von 1932 :
Außer diesen beschriebenen 3NF-Typen gab es auch noch die 3 NF L, die im Loewe Gotland WL von 1933
eingebaut war. Als Gleichrichter diente die 14 NG.
Die folgenden Fotos zeigen diese 14 NG :
In meiner Seite Gleichrichterröhren / RGN-Typen stellte ich bereits diese Loewe-Gleichrichterröhre 12 NG
vor :
Eine höher entwickelte Röhre war die Loewe WG 33. Das folgende Foto zeigt diese Röhre:
Ein Loewe-Radio, welches mit dieser WG 33 bestückt war, ist der Edda GL von 1933 mit der Gleichrichterröhre
24 NG :
Frank sandte mir die Fotos seiner WG 33 zu, deren Beschichtung zum größten Teil abgeblättert (aber
trotzdem noch voll funktionsfähig) ist. Aufgrund der abgeblätterten Beschichtung kann man Bauteile im Inneren gut
erkennen. Die eingebauten Kondensatoren sind offene, nicht im Glas eingeschmolzene Glimmer-Kondensatoren.
Eine weitere dieser Leistungs-Mehrfachröhren war die WG 34 :
Diese Röhre wurde beispielsweise im Loewe Gildemeister GW von 1935 eingebaut. Als Gleichrichter diente hier die
26 NG.
Die folgenden Bilder zeigen die 26 NG. Diese Röhre war eine besonders trickreiche Konstruktion. Nur durch umstecken in
ihrer (verpolungssicheren) Fassung wurde sie bei 220-Volt-Betrieb mit ihren beiden Systemen, die völlig getrennt
aufgebaut waren, parallelgeschaltet. Bei 110-Volt-Betrieb steckte man sie in der Fassung um, und die beiden Systeme der 26 NG
wirkten als Spannungsverdoppler.
Auch im Loewe Strommeister GW wurde die Röhre WG 34 eingebaut.
Ebenfalls mit der WG 34 bestückt war der Loewe Ratsherr W von 1934, ebenfalls mit der 26 NG als Gleichrichter
bestückt :
Eine weitere Mehrfachröhre ist die hochentwickelte WG 36. Diese enthält 2 Pentoden und eine Triode - von der
Idee her also schon eine Gegentaktendstufe mit Phasenumkehrstufe, wie die (erheblich später gebaute und als
"Novum" gefeierte) ECLL 800 von Lorenz. Allerdings beinhaltet die WG 36 keine NF-Leistungs-, sondern HF-Pentoden.
Die Zeichnung zeigt die Innenschaltung dieser Röhre:
Das folgende Foto zeigt eine Nahansicht der WG 36.
Das nächste Foto zeigt die WG 36 von innen. Ganz links ist die Triode erkennbar, ganz rechts eine der beiden
Pentoden. Zwischen den Systemen ist zur Abschirmung ein Gitter angebracht:

Loewe baute die WG 36, zusammen mit der WG 35, in den 1935 erschienenen Patrizier GW von 1935 ein. Erst die
WG 35, die eine Tetrode, eine Triode und eine Leistungspentode enthielt, war als Endstufen-System geeignet. Als Gleichrichter
war die Röhre 26 NG eingebaut. Die Fotos zeigen dieses Gerät und das Schaltbild dazu:
Mit der Maustaste das Schaltbild anklicken, es wird dann in voller Auflösung dargestellt.)
Die Röhren-Bestückung des Loewe - Botschafter GW von 1934 war mit dem Patrizier GW identisch. Das
nächste Foto zeigt dieses Gerät:
Die Schaltung des Loewe-Botschafter GW:
Mit der Maustaste das Schaltbild anklicken, es wird dann in voller Auflösung dargestellt.)
Eine weitere Röhre für den HF-Einsatz (wie die HF 2) war die HF 30. Die beiden folgenden Fotos, die ich von
Mario (im Forum: MarioDO3) erhielt, zeigen diese Röhre. (Normalerweise ist sie komplett beschichtet, man könnte ihr
inneres nicht sehen - leider hatte aber der Vorbesitzer die Beschichtung, die ja eine abschirmende Wirkung hatte, entfernt.
- Was jedoch, für diese Seite hier, wiederum ein Glücksfall ist...)
Sehr schön erkennbar sind die beiden Systeme in der Röhre.

Doch nun, nach den Röhren und Geräten in denen sie eingebaut waren, etwas zur Entstehungsgeschichte, zur Chronik
der Mehrfachröhren.
"Schuld" an dieser Entwicklung war Telefunken. Telefunken hatte die alleinigen Patente in Deutschland an den
Elektronenröhren, ohne Telefunken ging gar nichts. Wollte ein Hersteller ein Radio bauen und verkaufen, so mußte
er solche Schilder an den Geräten anbringen :
In den Zeitungen und Gazetten der damaligen Zeit wurden solche Inserate veröffentlicht, in denen vor Herstellung
unlizensierter Empfänger gewarnt wurde:
Telefunken hatte seit 1911 Patente in Deutschland, Frankreich, Grossbritannien, Österreich und den USA.
Erfinder und Konstrukteur der ersten Verstärkerröhre war Robert von Lieben. Die erste Triode konstruierte und
baute Deforest, das Patent lag da bereits aber schon bei Robert von Lieben. DeForrest, der die Bedeutung als
Verstärkerröhre erst 1912 erkannte, hatte dadurch natürlich seinen Anspruch verloren und hatte das Nachsehen,
er konnte nur noch das Audion patentieren lassen. Sämtliche Prozesse, als Erfinder der Radioröhre anerkannt zu
werden, hatte Deforest verloren.
Telefunken bekam wegen dem Besitz der Liebenpatente faktisch Monopolstellung. Sogar, als die Patente schon lange abgelaufen
waren, versuchte Telefunken juristisch jede Konkurrenz aus dem Markt zu drängen. Die damalige (Un-)Rechtsprechung
entschied immer wieder zu Gunsten Telefunken, was die anderen Röhrenhersteller sehr schadete und verbitterte. Aus diesem
Grund überlebten viele Hersteller die 20er Jahre nicht, denn sie mußten an Telefunken hohe Lizenzgebühren
zahlen.
Das rot-weiße Dreieck mit der Beschriftung VDFI - Verband der Radio-Industrie, gegr. 1923, 1924 in Verband der
Funk-Industrie umbenannt, war und ist auch heute noch vielen bekannt, es mußte im Gerät und auf der
Geräterückwand aufgebracht werden.
Die Anfangszahlen der Lizenzbewerber und -nehmer war undurchschaubar, und selbstverständlich gab es immer wieder
"schwarze Schafe", diese wurden vom VDFI bzw. Telefunken strafrechtlich verfolgt.
Die Lizenzgebühren für die Röhren wurden pro Röhrensockel, nicht pro Röhre
, gezahlt. Deshalb kamen einige Firmen - allen voran Loewe - auf die Idee, mehrere Systeme in einem Röhrenkolben
unterzubringen, jedoch nur einmal für diese Röhre zahlen zu müssen. - Damit war die Idee der
Mehrfachröhre geboren.
Nicht jeder Radiofreund kann sich so glücklich schätzen, in seiner Sammlung solche Röhren wie die 3 NF zu
besitzen. Diesem konnte abgeholfen werden.
Von meinem GFGF-Vereinskollegen Helmut Schinzel wurden tolle Nachbauten der Loewe-Mehrfach-Röhren hergestellt. Die
folgenden Fotos zeigen den 3 NF - Nachbau; Fotos anderer Nachbau-Typen stehen mir leider nicht zur Verfügung.
Für die drei Röhrensysteme wurden zwei DF 61 und eine 5672 verwendet. Die Widerstände und Kondensatoren
wurden mit Silberfolie umwickelt, somit wurde der optische Eindruck verbessert.

Von Herrn Schinzel persönlich erhielt ich die Erlaubnis, seine Schaltungen hier auf meiner Seite zu veröffentlichen.
Ebenfalls sagte mir Herr Schinzel eine leihweise Lieferung der noch bei ihm verbliebenen Nachbauten der 3 NF und der 3 NF.B
zu, mitsamt einer 3 NF-Fassung (ebenfalls ein Nachbau). Diese werde ich dann fotografieren können und sie hier
vorstellen. - Die 3 NF.B wurde für den OE 433 benötigt; bei ihr ist, als zusätzlicher mittlerer Pin im Sockel,
die erste Anode der 3NF herausgeführt worden um somit eine Rückkopplung zu ermöglichen.
Von der 2 HF, die ebenfalls von Herrn Schinzel nachgebaut wurde, befindet sich leider kein Exemplar mehr in seinem Besitz.
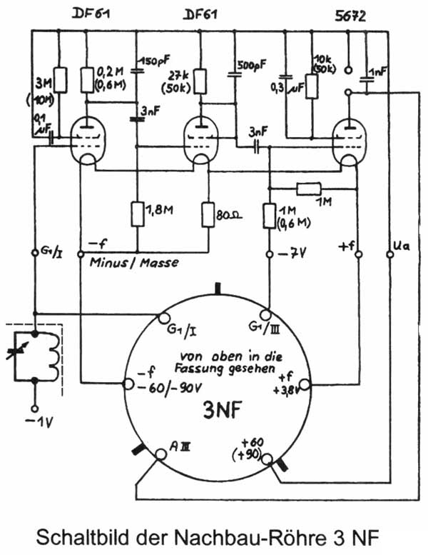
Die beiden folgenden Schaltbilder zeigen als erstes nochmals das Original-Schaltbild des Ortsempfängers OE 333, das
zweite zeigt den Nachbau der 3 NF.
Mittlerweile erhielt ich von Herrn Schinzel wie versprochen die beiden Nachbau-Röhren. Das folgende Bild zeigt beide
nebeneinander:
Nun die Fotos zum 3 NF - Nachbau:
Ich befragte Herrn Schinzel, warum hier vom Original-Aufbau der 3 NF abgewichen wurde, deshalb mehr Bauteile notwendig
waren. Herr Schinzel sagte mir, die ersten Nachbauten hätte er noch mit Trioden aufgebaut, sie sahen den
Original-Röhren damit natürlich sehr viel ähnlicher. Irgendwann aber waren diese Trioden nicht mehr
aufzutreiben, er mußte auf Tetroden ausweichen, deshalb war ein Mehraufwand an Bauteilen erforderlich.
Das ganze hatte aber den Vorteil, daß die Nachbauröhre sehr viel empfindlicher war, viel besser verstärkte -
man dadurch erheblich mehr und lauter die Sender empfangen konnte, auch sehr viel trennschärfer.
Hier noch ein Foto, welches mir Herr Schinzel mitgab, es zeigt einige der Nachbauröhren, die er im Laufe der
Jahre anfertigte:
Von Herrn Schinzel erhielt ich auch noch zwei Schaltpläne zu seinen Nachbauröhren.
Das erste zeigt den Nachbau der 2 HF :
Das nächste Schaltbild zeigt die Nachbauschaltung für die 3 NFL, sie wird mit einer ECL 82 ersetzt (lt. H.
Schinzel wäre auch die ECL 86 möglich) :
Da die 3 NFL - wie man an einem Foto weiter oben auf dieser Seite erkennen konnte - komplett von außen beschichtet war,
konnte man bei der Nachbauröhre - ebenfalls mit einer Silberbroncefarbe außen beschichtet - die ECL im Nachbau
nicht erkennen. Die Nachbauröhre funktioniert erheblich besser und lautstärker als die Originalröhre.
Die beiden folgenden Fotos zeigen eine der Fassungen, ebenfalls ein Nachbau, welche auch von Herrn Schinzel gefertigt
wurden:
Ich habe hier für die daran Interessierten einen Link auf eine PDF-Datei mit einer
Loewe-Werbung aus der Zeit, in der es die obig beschriebenen Röhren und Empfänger gab, platziert (220 kByte).
Um einmal zu verdeutlichen welche Industrie hinter Loewe damals schon stand, zeige ich hier einmal zwei "ganz einfache"
Widerstände:
Aus einem Heft der Reihe "Funk Bastler", aus dem Jahr 1926 (!), stammen die folgenden 4 Seiten. Sie befassen sich,
aus der Sicht des Radio-Bastlers, mit den Loewe-Röhren, der Technik dazu und zeigt Aufbauvorschläge. Es sind Seiten
die mich begeistern, darum stelle ich sie hier einmal als direkt lesbare JPG-Files zur Ansicht, sowie in großer,
unkompimierter Form als PDF-File zum Herunterladen vor. (3,6 MByte !)
Eine weitere Mehrfachröhre von Opta, die jedoch ausschliesslich vom Militär verwendet wurde, findet sich in meiner
Seite Militärröhren - die
Opta Q6
Wie man anhand der gezeigten Bidern und Berichten erkennen konnte, wurde sehr viel mit Erfolg ersetzt, hierbei vor allem die 3NF,
die am meisten gebraucht wurde.
In meinem Forum wurde nun erneut nach Möglichkeiten gefragt, weil einer der Heizfäden durchgebrannt war; hier war es diejenige die
die ersten beiden Trioden in Serie heizte, wobei die Heizung für die (End-) Triode 3 noch funktionierte.
Wolfgang Holtmann stellte nun den folgenden Bericht ins Forum.
Loewe 3NF, solid-state ! (Tech Talk: Röhrenthemen)
verfasst von Wolfgang Holtmann, 21.03.2013, 20:23
Zunächst eine Erläuterung,
warum ich so eine wunderbare Uraltröhre mit modernen Halbleitern verschandel:
Diese Mehrfachröhre wurde ab 1926 hergestellt. Nach dem Stand der Technik in jener Zeit war die Lebensdauer der mittelhell
glühenden Röhren ziemlich begrenzt. Das ist der Grund, warum von den noch übrig gebliebenen Exemplaren viele eine Unterbrechung der
Heizfäden aufweisen.
Andererseits ist gerade diese durchsichtige 3NF als Vorzeigestück sehr gewollt, kann man doch dem technisch interessierten
(Laien) den ersten Integrated-Circuit vorführen. Dazu bedarf es nur wenig Aufwand, ich meine den simplen Ortsempfänger OE 333.
Aber was machen wir, wenn die 3NF defekt ist?
Gut, man kann eine für viel Geld erwerben. Oder man kauft sich eine Nachbau 3NF.
Es ist schon erstaunlich, wie mit viel handwerklichem Können, Miniaturröhren plus den anderen nötigen Bauteilen in den Kolben eingepasst wurden.
Obwohl diese Nachbauten sicherlich gut ihren Dienst tun, bleibt doch der -in meinen Augen- große Nachteil: Der Kenner sieht sofort, nicht echt! Fake....
Das ist der Grund, warum ich mit meiner defekten 3NF einen anderen Weg gegangen bin. Ich will die Röhre wiederbeleben und dennoch am
Aussehen nichts verändern! Dann bleibt für mich die Lösung mit Halbleitern. Diese sind so klein, dass man sie im Sockel verstecken kann.
Schaltungsbeschreibung
Die Eingangsverstärkerstufe mit J-FET belastet den Schwingkreis kaum. Erst danach wird die HF gleichgerichtet. Besonderen Wert habe ich auf
eine saubere Trennung von HF unf NF gelegt. Dazu dient Drossel 2 und die diversen 1nF Kondensatoren.
Es folgt eine NF-Vorstufe (BC546B) die den Endtransistor BUZ74 (FET) aussteuert. Dieser braucht eine positive Gatevorspannung von ca. 3 Volt.
Die stellt der Spannungsteiler R1 und R2 bereit. Eventuell muss man den etwas korrigieren, bis der Drainstrom etwa 8 mA beträgt. Ohne
Kühlkörper wird er heiß, jedoch verträgt der das... Wer will, kann diesen auf einen runde ALU-Scheibe setzen, sozusagen als Abdeckung.
Man sieht, es wird nur von der Heizspannung (4 Volt) Gebrauch gemacht und natürlich die 80...90 Volt von der Anodenbatterie zum Betrieb des
Lautsprechers.
Alle anderen Spannungen zum Betrieb des OE 333 laufen ins Leere...
Nur die Drähte zu den Heizfäden habe ich so belassen, weil bei meiner Röhre die seitlichen Trioden noch Licht geben.
---
Herzliche Grüße aus NL
Das folgende PDF-File zeigt sämtliche Loewe-Mehfachröhren in einer Röhren -
Tabelle. Es werden die kompletten Daten und Beschaltungen genauestens aufgeführt - ein wichtiges und hochinteressantes
Dokument!
Wird fortgesetzt.