Restauration eines eines Eumig Modell 323
- von Volker Jeschkeit




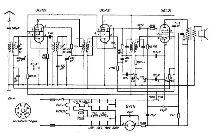
Mein kleiner Eumig (20x15x12cm) vom Typ 323 ist in Rekordzeit von nur 3 Tagen aus Frankreich angekommen. Braunes Metallgehäuse und wunderbare Skala, montiert U Röhren des Typ 21... und UY1N.
Bereich: Nur MW.
Sehr schönes Teil, ebay.fr ist echt ein immer guter Tip.

So sah er aus, als er ankam (mit DKE-Knöpfen, anstelle der weißen die dahingehören):








Das Chassis des Eumig 323.
Die üblichen Verdächtigen des Netzteiles , die allesamt total hinüber sind: 2 x 25µF, 100 Ohm, 2Kohm der Anode, 100µF 15V.
Außerdem ein Foto des Oszillators mit seiner Spule und dem Lufttrimmer.

Das Gerät ist sehr gut aufgebaut. Die Widerstände sind von Ingelen.














Das neue Netzteil ist schon fertig, Schutzschlauch braun ist von der US-Army, Silikon-Gewebeschlauch, Schutzschlauch gelb von der Telecom-Italia, Glasseide-gelb. Die Elkos habe ich auf 47µF/400V erhöht, das verträgt die UY1N mit 100 Ohm Schutzwiderstand. Auch die alten Sicherungen habe ich mit Original-Sicherungsdraht erneuert. Der Aufdruck 10A ist natürlich völlig aus der Reihe, jetzt haben die wieder 0,3 A, aber den Aufdruck konnte ich nicht ändern.






Er spielt wieder sehr gut und das Gerät ist empfindlich.
















Die weißen Knöpfe stehen dem kleinen Gerät schon besser.








Gruss, Volker (VJ)



Zurück zur Hauptseite