**********************************************************************************
Das folgende Schaltbild sowie die Anleitung gehören zum neueren Modell.
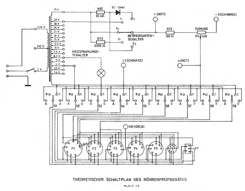
Eine der Seiten aus der Bedienungsanleitung / dem Handbuch, welches ich als PDF-Datei zum Download anbiete. - Dieses
Handbuch beinhaltet auch die Röhrenprüfdaten !

Wolfgang Siegmund, der mir einige dieser Fotos zusandte, zeichnete die folgenden Schaltbilder, es sind (noch) Handskizzen von
Wolfgang. - Das erste zeigt die Beschaltung des Euratele-Multimeters.
Das folgende zeigt das Schaltbild des älteren Röhrenprüfgerätes.
Das nächste zeigt einen vom Wolfgang durchgeführten Umbau des Poties:
Durch diesen Potieumbau und der folgenden äußeren Beschaltung des Röhrenprüfgerätes mit einem
einfachen Oszillographen können Röhrenkennlinien aufgenommen werden.
(Anfragen dazu können über das Forum an Wolfgang gestellt werden.)
Bedienungsanleitung / Handbuch zum Euratele-Röhrenprüfgerät -
NEUES Modell
Aus einer Euratele-Veröffentlichung stammen die beiden folgenden Bilder. Das erste zeigt die mögliche
Verdrahtung des Universal-Meßinstruments.
