Batterie-Kleinsender für Telefonie und Telegrafie

Diese Schaltung entstammt dem Buch "Bastelpraxis" von Werner W.Diefenbach; Franzis-Verlag.
Zur Uberbrückung kleiner Entfernungen (z. B. 1...3 km) sind Kleinsender praktisch, denn sie lassen sich leicht transportieren. Da man die Kosten klein halten kann, ist der Kleinsender auch das gegebene Gerät für den Neuling auf dem Gebiete der Sendetechnik.

Es muß dringend darauf hingewiesen werden, daß der in den folgenden Ausführungen beschriebene Batterie-Kleinsender nur von Inhabern der Sendelizenz gebaut und betrieben werden darf !

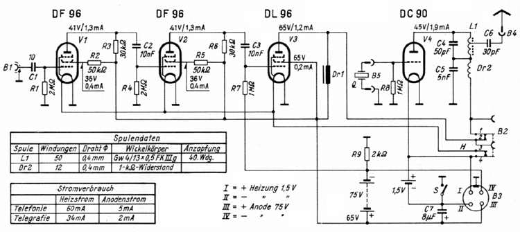
Die Schaltung zeigt einen dreistufigen Sender mit einem sehr einfachen Aufbau, der auf den Batteriebetrieb und den quarzgesteuerten Oszillator zurückzuführen ist.


Der Quarzoszillator mit der DC 90 hat eine hervorragende Frequenzkonstanz, so daß wir mit einer einzigen Stufe ohne Frequenzvervielfachung auskommen. Im Gitterkreis der DC 90 liegt der Steuerquarz (Frequenz etwa 3,6 MHz), auf dessen Frequenz der Anodenkreis dieser Röhre mit der veränderlichen Spule (Hf-Kern) L 1 und dem Festkondensator C 4 abgestimmt wird. Die Sendeantenne (z.B. eine ausziehbare Stabantenne) ist in der Spulenmitte über C6 angekoppelt. Der Sender wird einmal fest abgestimmt. Es genügt dann jeweils, den Ein-Ausschalter S zu betätigen. Zum Abstimmen des Quarzoszillators schalten wir ein Milliamperemeter in die Anodenleitung der DC 90. Durch Verändern des Spulenkernes von L 1 wird der Anodenkreis in Resonanz mit dem Gitterkreis gebracht. Beim Durchdrehen des Spulenkernes setzen die Schwingungen ruckartig ein und dann wieder aus. Der richtige Abstimmpunkt liegt kurz vor dem Aussetzen der Schwingungen.
Es empfiehlt sich, beim Abgleichen einen Kontrollempfänger mit magischem Auge zu verwenden, damit auch die erzeugte Hf-Amplitude beurteilt werden kann.
Unser Batteriesender arbeitet mit Heising-Modulation. Der Modulator ist dreistufig ausgebildet und benutzt in den Vorstufen 2 x DF 96. Da die Endstufe genügend große Ausgangsleistung aufbringen muß, wurde hier die DL 96 gewählt. Die Gitterspannung der Vorröhren wird durch den Anlaufstrom erzeugt, während die Endröhre des Modulators eine durch R 9 erzeugte Gitterspannung erhält. Bei Telefoniebetrieb wird an B 1 ein Kristallmikrofon über eine Steckverbindung angeschlossen, das hohe Ausgangsspannung liefern soll (z.B. Peiker DD22 /200/Hi oder PM23).
Telegrafiebetrieb ist möglich, wenn wir die Morsetaste in B 2 stöpseln. Die Verbindungen 1 - 2 sowie 3 - 4 werden dann aufgetrennt. Durch 3 - 4 ist jetzt der Heizstrom der Modulatorröhren unterbrochen, während 1 - 2 die Anodenspannungsleitung auftrennt und nun mit der Taste gesendet werden kann.
B 3 ist eine Miniaturbuchse für den Anschluß eines Netzgerätes, wenn der Sender stationär betrieben werden soll. Es muß 1,5 V Gleichspannung und 75 V Anodenspannung liefern.
Bei Batteriebetrieb benötigen wir eine 75-V-Mikrodyn-Anodenbatterie und drei parallel geschaltete 1,5-V-Heizzellen.
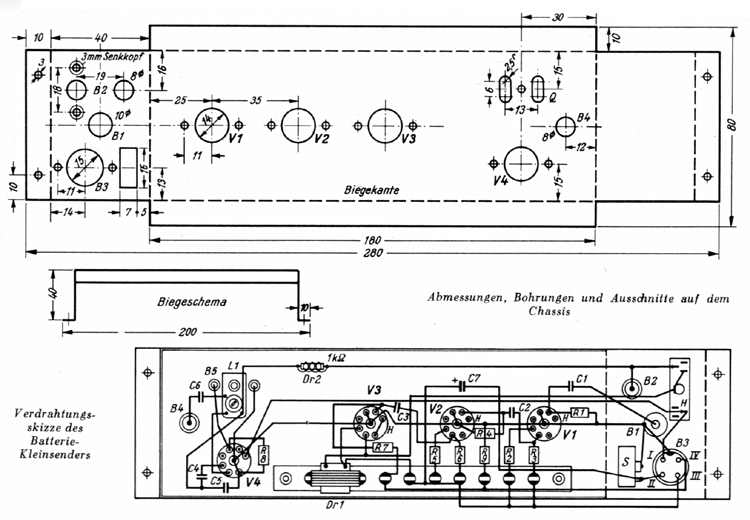
Zum Aufbau eignet sich ein Metall-Kleinchassis, das aus einem 200 x 80 x 40 mm großen Montagegestell und einer Haube besteht (100 mm hoch). Die Anschlüsse für Taste, Mikrofon und Netzgerät sind auf einer 40 x 60 mm großen Seitenplatte zusammengefaßt. Auf das Montagegestell setzen wir ein selbst zu fertigendes Chassis (180 x 60 mm), dessen Bohrschablone im nachfolgenden Bild, oberer Teil, zu erkennen ist. Es enthält gleichzeitig die Anschlußleiste 40 x 60 mm.
Einzelteilanordnung und Verdrahtung sind unkompliziert und mit allen Einzelheiten aus dem Bild zu ersehen.


Spezialteile für den Batterie-Kleinsender
4 Pico-Röhrenfassungen
1 Miniaturschalter
1 Miniaturbuchse (für Mikrofon)
1 Miniatur-Steckquarz mit Fassung, etwa 3,6 MHz
2 Telefonbuchsen, isoliert
1 Miniaturübertrager Bv 1.1-03 (Sennheiser electronik)
1 Spulenkörper GW 4/13X0,5 Fk III g (Vogt)
1 Mikrodyn-Anodenbatterie, Nr.58, 75 V (Pertrix)
3 Heizzellen, je 1,5 V, Nr.231 (Pertrix)
Gehäuse
ausziehbare Stabantenne
Kristallmikrofon
je 1 Röhre DL 96, DC 90 (Valvo)
2 Röhren DF 96 (Valvo)

Viel Spass beim Nachbau ..

Zurück zur Hauptseite