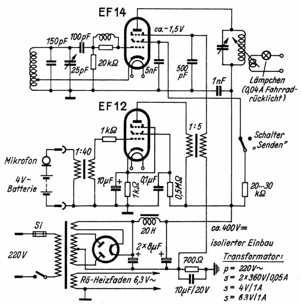
Aufbau eines Zweikreis-Einröhren-Prüfsenders von
3 Watt


Da es nicht ratsam ist, einen selbsterregten Sender an die Antenne zu hängen, erstens wegen mangelnder Frequenzkonstanz, zweitens wegen des geringen Wirkungsgrades, kann (sollte) diese Sendertype vollkommen außer acht bleiben.
Immerhin kann für den Anfänger, bei vorsichtiger Bedienung, für das 80-m-Band der angegebene Qrp-Sender mit einer EF 14 als kleinster Sender noch verantwortet werden. Die HF-Nutzleistung eines solchen Senders beträgt 2,5...3 Watt. Man wird ihn so auf dem Chassis anordnen, daß ganz links das Netzteil, ganz rechts der Modulator und in der Mitte der Sender selbst angebracht wird.


Das Schaltbild zeigt den Einröhren-Zweikreis-Sender ECO / FDPA-"QRPeter".
Input ca. 5 Watt, Output 2,5...3 Watt mit Gleichrichter und G-3-Modulation. Spule 1 = 25 mm Durchmesser, 60 Windungen, Abgriff bei 17 Windungen, Draht 0,5 mm Kupfer, 2 x Baumwolle umsponnen.
Spule 2 = 40 mm Durchmesser, Körper aus Hartpapier ca. 40 Windungen, 1,5 mm Kupfer, 2 x Baumwolle umsponnen.

Zurück zur Hauptseite