Mittelwellen - Zweikreiser mit ECC88 und EL95

von Michael Kraemer



Zuerst baute ich mal wieder einen Einkreiser. Aber das war dann schnell langweilig, denn mir fiel es wie Schuppen von den Augen: Eine ECC88 (Doppeltriode) und dann nur einen Einkreiser ?
Unfug, also strickte ich alles um, herausgekommen ist dieses Gerät, es spielt mit 48 Volt laut und stark, an meinem Mende - Lautsprecher.
Die Selektivität ist ganz enorm, nur fressen die Röhren einiges an Heizspannung, insgesamt 0,5 A, und bei Accubetrieb ist das schon was.
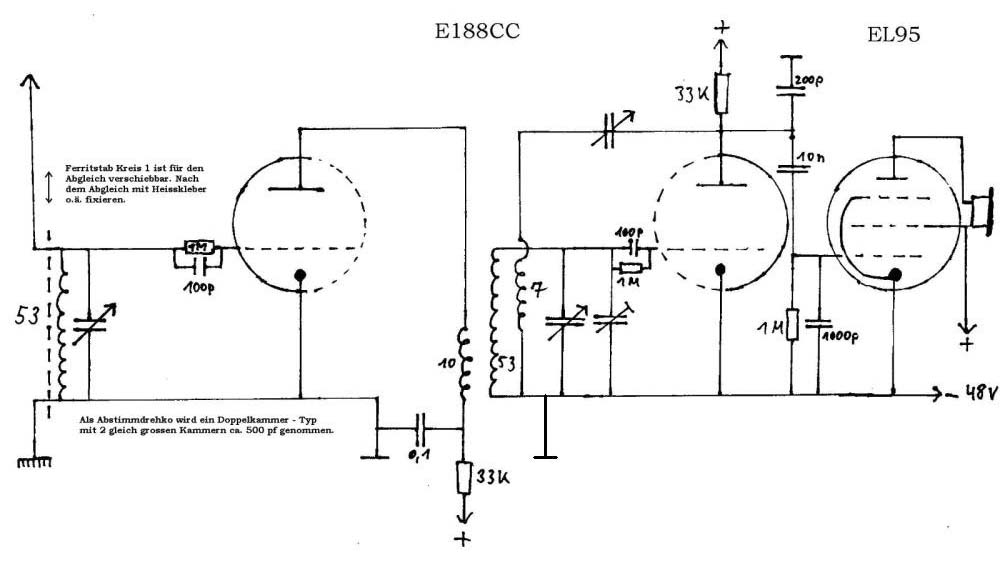
Wer das Gerät nachbauen möchte - hier der Schaltplan:

Schaltung
(Mit der Maustaste das Schaltbild anklicken, es wird dann in voller Auflösung dargestellt.)

Wie so oft geht auch beim Bau eines solchen Geätes unheimliches vor.... so wunderte ich mich sehr darüber, dass der Abgleich bei eingedrehtem Drehkondensator passte, aber immer mehr abdriftete, je mehr ich ihn herausdrehte.
Das Geheimnis: Ein Paket des Stators hatte eine Platte mehr !! Das geht natürlich nicht, denn beide Kreise müssen völlig identisch sein, d.h. beide Schwingspulen gleiche Windungszahl, beide Drehko-Kammern gleiche Plattenanzahl usw.
Toleranzen werden dann mit den Trimm - Drehkos ausgeglichen.

Zum Schaltplan gibt es auch noch etwas zu sagen : - Grob abgeglichen wird durch verschieben des Ferritstabes in der Eingangsspule. Danach mit den Trimmkondensatoren.
- Der 200pf Kondensator an der Anode des 2. Systems der ECC88 entschärft etwas die Rückkopplung.
- Der 1000pf Kondensator am Gitter der EL95 dient der Ableitung der restlichen Hochfrequenz.
- Parallel zum hochohmigen Lautsprecher bzw. Ausgangsübertrager sollte man noch 2000pf schalten.
Abends empfängt das Gerät etliche Sender sehr trennscharf und laut, der Gipfel dabei ist der Deutschlandfunk, der brüllt einen regelrecht an !!
Das Gehäuse folgt auch irgendwann...:-) - so sagte ich noch vor 2 Tagen, und nun geht es los...... schaut euch die Schritte an ...:


Hier ist die Achse des Drehkondensators bereits nach vorne gedreht, ich weiss gar nicht warum ich das erst seitlich angebracht habe......


Die erste Anprobe :-)) Wie man sieht wird es wieder ein Mende Nachbau... was soll man auch als Lautsprechergitter sonst noch benutzen?? Ich dachte noch an den Jungen mit der Flöte, aber davon habe ich leider keine Vorlage.


Die Verleimung.....eine schreckliche Arbeit, aber es muss halt sein.....


Fertig geleimt, nun muss es noch über Nacht trocknen, morgen geht es weiter. Das Klebeband ist übrigens prima für solche Arbeiten, auf Spannung angebracht erspart es die Schraubzwingen beim leimen. Wie man sieht ist es nun schon dunkler geworden... :-)


Es ist morgens, 7:50 und wieder hell.... Hier das fertig geschliffene Gehäuse. Je genauer und penibler man schleift, umso besser gelingt später die Lackierung !!


Und nun das Gehäuse mit Grundierung.....dafür nahm ich diesmal normale Abtönfarbe. Man muss jedoch probieren, ob sich diese auch mit dem Endlack verträgt ! Wenn es zwischen den beiden zu Reaktionen kommt, dann muss man alles wieder abschleifen !!


So, fertig lackiert mit normalem schwarzem Nitro-Lack. Hier muss man natürlich wieder sehr staub und fettfrei arbeiten, sonst geht das fürchterlich in die Hose. Die Front habe ich 2 mal lackiert, erst sah sie gut aus, jedoch erschienen dann beim trocknen mehrere Läufer, sehr ärgerlich das ganze. Weil dieser Lack lange für�s trocknen braucht stellte ich auch diesmal das ganze bei ca. 45 Grad in den Backofen. Wie an anderer Stelle schon erwähnt sollte man das machen wenn die Chefin nicht im Hause ist :-))


So, endlich fertig !! Mit den Drehknöpfen bin ich mir noch nicht so ganz einig, mal schauen ob ich die evtl. noch auswechseln werde.... Schwarze Drehknöpfe sehen jedenfalls nicht gut aus, das habe ich bereits versucht.
Dieses Gerät ist nun Akkubetrieben, es hat die Maße 30 x 16 x 16 cm.


Hier nochmal die Einsicht von hinten.....rechts die Akkus, 4 X 12 Volt für 48 Volt Anodenspannung, darauf der Heizakku mit 6 Volt und ca. 1,5 Ah - das reicht für ca. 2-3 Stunden Betrieb, hinter den Accus sieht man den Lautsprecher und den Ausgangsübertrager.


Und nun nochmal mit Rückwand, diese ist aus 3 mm Sperrholz zugeschnitten.



Zurück zur Hauptseite